GB/T 25353-2010 隔热隔音材料燃烧及火焰蔓延特性试验方法
- 发表时间:2022-11-23
- 来源:共立欧宝网页版登录入口
- 人气:
1 范围
本标准规定了隔热隔音材料暴露在辐射热源和火焰下的燃烧性及火焰蔓延特性的试验方法。
本标准适用于评估隔热隔音材料的燃烧性及火焰蔓延特性。
2 术语及定义
下列术语和定义适用于本标准。
2.1
火焰蔓延 flame propagation
可见火焰沿着试样长度方向蔓延的最远距离。
注:从燃烧源火焰的中心点开始测量。在初始点火之后,试样上所有火焰熄灭之前测量该距离,与试验后测量烧焦长度的方法不同。
2.2
隔热隔音材料 thermal/acoustic insulation material
阻隔热和(或)声音的材料或材料体系。
示例:泡沫以及用薄膜包覆的玻璃纤维或其他絮状材料。
2.3
零点 zero point
燃烧器火焰与试样的接触点。
3 试验设备
3.1 辐射板试验箱
辐射板试验箱如图1所示。辐射板试验箱应为长(1397±3)mm、宽(495±3)mm,高于试样710mm~762mm的封闭设备。侧壁、底部和顶部应有纤维状陶瓷隔热板使其隔热。在前面板,应设有一个不通风的、耐高温的玻璃窗用于试验过程中观察试样。在窗口下设置一个门用于可移动的试样平台的进出。试验箱的底部应为可滑动的钢平台,能够确保试样夹持器处于固定和水平的位置。试验箱中与辐射热源相对的一端应有内置的烟囱,其外部尺寸为长(423±3)mm、宽(139±3)mm、高(330±3)mm,内部尺寸应为长(395±3)mm、宽(114±3)mm。烟囱应延伸到试验箱的顶部(见图2)。
单位为毫米

图1 辐射板试验箱示意图
单位为毫米

13mm的耐火板
1.6mm的耐腐蚀板
3.2mm的角钢
图2 内部烟囱示意图
3.2 辐射热源
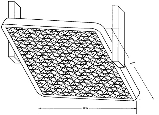
3.2.1 辐射热源分为电热板和丙烷气体板两种,应安装在铸铁或等效材料所制成的框架里。电热板应有六根76mm宽的辐射条,且辐射条应垂直于电热板的长边。电热板应有长(470±3)mm、宽(327±3)mm的辐射面(见图3),且能承受704℃的温度。丙烷气体板应由耐火的多孔材料制成,有长(457±3)mm、宽(305±3)mm的辐射面(见图4),且能承受816℃的温度。
单位为毫米

图3 电热辐射板示意图
单位为毫米

图4 丙烷气体辐射板示意图
以上为标准部分内容,可点击下方链接下载标准原文:
- 2023-08-22欧宝网页版登录入口维修保养记录
- 2023-08-22欧宝网页版登录入口设施维修维护
- 2023-08-19欧宝网页版登录入口水池维修
- 2023-08-19欧宝网页版登录入口水炮维修
- 2023-08-19欧宝网页版登录入口线路维修
- 2023-08-19欧宝网页版登录入口维保服务系统
- 2023-08-19欧宝网页版登录入口主机维修维保大全
- 2023-08-19欧宝网页版登录入口维保作用
- 2023-08-18欧宝网页版登录入口维保工作联系单
- 2023-08-18欧宝网页版登录入口维保每年都要做吗
- 2023-08-18 欧宝网页版登录入口维保技术服务
- 2023-08-18欧宝网页版登录入口主板维修
- 2023-08-18欧宝网页版登录入口维保软件
- 2023-08-18欧宝网页版登录入口维保规章制度
- 2023-08-17欧宝网页版登录入口检测和维保
- 2023-08-17欧宝网页版登录入口维保检查
-
IG541混合气体灭火系统
IG541混合气体灭火系统:IG-541灭火系统采用的IG-541混合气体灭火剂是由大气层中的氮气(N2)、氩气(Ar)和二氧化碳(CO2)三种气体分别以52%、40%、8%的比例混合而成的一种灭火剂 -
二氧化碳气体灭火系统
二氧化碳气体灭火系统:二氧化碳气体灭火系统由瓶架、灭火剂瓶组、泄漏检测装置、容器阀、金属软管、单向阀(灭火剂管)、集流管、安全泄漏装置、选择阀、信号反馈装置、灭火剂输送管、喷嘴、驱动气体瓶组、电磁驱动 -
七氟丙烷灭火系统
七氟丙烷(HFC—227ea)灭火系统是一种高效能的灭火设备,其灭火剂HFC—ea是一种无色、无味、低毒性、绝缘性好、无二次污染的气体,对大气臭氧层的耗损潜能值(ODP)为零,是卤代烷1211、130 -
手提式干粉灭火器
手提式干粉灭火器适灭火时,可手提或肩扛灭火器快速奔赴火场,在距燃烧处5米左右,放下灭火器。如在室外,应选择在上风方向喷射。使用的干粉灭火器若是外挂式储压式的,操作者应一手紧握喷枪、另一手提起储气瓶上的


