GB/T 18511-2017 煤的着火温度测定方法
- 发表时间:2022-12-29
- 来源:共立欧宝网页版登录入口
- 人气:
1 范围
本标准规定了测定煤的着火温度的术语和定义、方法提要、试剂、仪器设备、煤样处理、试验步骤、结果表述、方法精密度和试验报告。
本标准适用于褐煤、烟煤和无烟煤。
2 规范性引用文件
下列文件对于本文件的应用是必不可少的。凡是注日期的引用文件,仅注日期的版本适用于本文件。凡是不注日期的引用文件,其最新版本(包括所有的修改单)适用于本文件。
GB/T 483-2007 煤炭分析试验方法一般规定
3 术语和定义
GB/T 483-2007界定的以及下列术语和定义适用于本文件。为了便于使用,以下重复列出了GB/T 483-2007中的一些术语和定义。
3.1
着火温度 ignition temperature
煤释放出足够的挥发分与周围大气形成可燃混合物的最低燃烧温度。
[GB/T 483-2007,定义3.2.35]
4 方法提要
将处理过的煤样放入着火温度测定装置中,以一定的速度加热,到一定温度时,煤样突然燃烧。记录测量系统内空气体积突然膨胀或升温速度突然增加时的温度,作为煤的着火温度。
5 试剂
警示-由于联苯胺为中等毒性的致癌物质,所以在试验过程中应尽量减少其在空气中长时间暴露,操作应在通风橱中进行,避免人体与其有直接接触。
除非另有说明,在分析中仅使用确认为分析纯的试剂和蒸馏水或去离子水或相当纯度的水。
5.1 亚硝酸钠:使用前应在102℃~105℃的鼓风干燥箱中干燥1h。
5.2 联苯胺。
5.3 还原剂:称取0.075g亚硝酸钠与0.0025g联苯胺混合均匀。试验前配制。
5.4 过氧化氢溶液:质量分数为30%。
6 仪器设备
6.1 着火温度测定装置
装置如图1所示,各部分要求如下:
a)加热炉:圆形,能加热到600℃,温度可调。
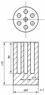
b)加热体:铜或铝合金制,7孔,见图2。
c)温度测控仪:能在100℃~500℃范围内控制升温速度为4.5℃/min~5.0℃/min,测温精度±1℃。
d)缓冲球(见图3)。
单位为毫米

说明:
1——水槽;
2——加热炉;
3——加热体;
4——试样管;
5——温度测控仪;
6——热电偶;
7——缓冲球;
8——量水管三通;
9——储水管三通;
10——储水管;
11——水准瓶;
12——量水管。
图1 着火温度测定装置
单位为毫米

图2 铜加热体
单位为毫米

图3 缓冲球
6.2 着火温度自动测定仪
测定仪如图4所示,主要由加热装置和自动测量系统组成,各部分要求如下:
a) 加热装置:加热炉与加热体。
b) 自动测量系统:能在100℃~500℃范围内控制升温速度为4.5℃/min~5.0℃/min,测温精度±1℃,能自动判断和记录煤的着火温度。

说明:
1——加热炉:
2——加热体:
3——热电偶:
4——升降杆;
5——自动测量系统。
图4 着火温度自动测定仪
6.3 试样管
耐热玻璃制,如图5所示。
单位为毫米

图5 试样管
6.4 真空干燥箱
能控温在50℃~60℃,压力在53kPa以下。
以上为标准部分内容,如需看标准全文,请到相关授权网站购买标准正版。
- 2023-08-22欧宝网页版登录入口维修保养记录
- 2023-08-22欧宝网页版登录入口设施维修维护
- 2023-08-19欧宝网页版登录入口水池维修
- 2023-08-19欧宝网页版登录入口水炮维修
- 2023-08-19欧宝网页版登录入口线路维修
- 2023-08-19欧宝网页版登录入口维保服务系统
- 2023-08-19欧宝网页版登录入口主机维修维保大全
- 2023-08-19欧宝网页版登录入口维保作用
- 2023-08-18欧宝网页版登录入口维保工作联系单
- 2023-08-18欧宝网页版登录入口维保每年都要做吗
- 2023-08-18 欧宝网页版登录入口维保技术服务
- 2023-08-18欧宝网页版登录入口主板维修
- 2023-08-18欧宝网页版登录入口维保软件
- 2023-08-18欧宝网页版登录入口维保规章制度
- 2023-08-17欧宝网页版登录入口检测和维保
- 2023-08-17欧宝网页版登录入口维保检查
-
IG541混合气体灭火系统
IG541混合气体灭火系统:IG-541灭火系统采用的IG-541混合气体灭火剂是由大气层中的氮气(N2)、氩气(Ar)和二氧化碳(CO2)三种气体分别以52%、40%、8%的比例混合而成的一种灭火剂 -
二氧化碳气体灭火系统
二氧化碳气体灭火系统:二氧化碳气体灭火系统由瓶架、灭火剂瓶组、泄漏检测装置、容器阀、金属软管、单向阀(灭火剂管)、集流管、安全泄漏装置、选择阀、信号反馈装置、灭火剂输送管、喷嘴、驱动气体瓶组、电磁驱动 -
七氟丙烷灭火系统
七氟丙烷(HFC—227ea)灭火系统是一种高效能的灭火设备,其灭火剂HFC—ea是一种无色、无味、低毒性、绝缘性好、无二次污染的气体,对大气臭氧层的耗损潜能值(ODP)为零,是卤代烷1211、130 -
手提式干粉灭火器
手提式干粉灭火器适灭火时,可手提或肩扛灭火器快速奔赴火场,在距燃烧处5米左右,放下灭火器。如在室外,应选择在上风方向喷射。使用的干粉灭火器若是外挂式储压式的,操作者应一手紧握喷枪、另一手提起储气瓶上的


