GB/T 21477-2008 船舶及海上技术 软管组件的耐火性能 试验方法
- 发表时间:2022-12-21
- 来源:共立欧宝网页版登录入口
- 人气:
1 范围
本标准规定了用于测定公称通径不小于100mm软管组件耐火性能的试验方法。
该试验用于证明在GB/T 21476所规定的试验台上施加一段时间火焰后,甚至在承受试验压力时,软管组件具有连续紧密性。
试验介质只允许是水。为确保在试验期间如果软管破损的情况下操作人员和试验台的最大安全,禁止使用易燃试验介质。
2 规范性引用文件
下列文件中的条款通过本标准的引用而成为本标准的条款。凡是注日期的引用文件,其随后所有的修改单(不包括勘误的内容)或修订版均不适用于本标准,然而,鼓励根据本标准达成协议的各方研究是否可使用这些文件的最新版本。凡是不注日期的引用文件,其最新版本适用于本标准。
GB/T 21476 船舶与海上技术 软管组件的耐火性能 试验台要求(GB/T 21476-2008,ISO 15541:1999,IDT)
3 标记
用于确定耐火性能的试验标记由下面的例子所引用的要素组成。

4 试件及试件制备
作为试件的软管组件的软管长度应不小于500mm。
试验台上的指挥者和操作者应同意试验中所予采用的装配型式。
根据要求,试件可能会进行带防火套管和不带防火套管的试验。不带防火套管的试验用字母B表示,带防火套管的试验用字母F表示。
试验前,试件应在室温下保存24h。
5 试件数量
相同结构的软管组件应至少取公称通径最小、中等、最大的三个进行试验。
6 试验台
试验应在符合GB/T 21476要求的试验台上进行。
7 试验性能
7.1 试件安装
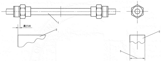
试件应安装在试验台上,燃烧器末端延伸并超出软管配件至少20mm,以使配件能完全被火焰包围(见图1)。
试件应位于燃烧器表面上方的正中位置(见图1)。
单位为毫米

1——试件;
2——燃烧器;
3——燃烧器宽度。
图1 试件布置
7.2 燃烧器宽度
为确保火焰包住试件,燃烧器最小宽度应符合表1的要求。
表1 燃烧器宽度 单位为毫米
燃烧器最小宽度 | 软管外径 |
50 | ≤25 |
100 | >25~75 |
150 | >75~125 |
200 | >125~150 |
250 | >150~200 |
7.3 准备
安装之后,为了尽可能排出试件内的空气,试件应用试验介质至少灌洗1min。
7.4 测量值和测量点
下列测量值应在图2所示的测量点测定:
——测量点1和2处的水温;
——测量点3和4处的火焰温度;
——水流速度;
——施加火焰时,试件内部压力。
单位为毫米

A——流向;
B——套管中心;
C——燃烧器。
图2 温度测量点
7.5 施加火焰时的温度
试验持续时间应从试件达到试验温度(火焰温度),即两个测量点的温度都达到试验温度时开始计算。
按照表2对温度进行观测。为确保水流温度,应适当控制流速。
表2 温度
水流温度 | 测量点1的温度 | (80±2)℃ |
测量点2的温度 | 最大85℃ | |
试验期间测量点3和4处的火焰温度 | (800±50)℃ | |
注:温度测量点见图2。 | ||
7.6 施加火焰期间的压力
试件应能承受试验规定的工作压力(5±0.2)bar。
注:工作压力的偏差应协商一致。
7.7 试验持续时间
试验持续时间为30min。当试件完全暴露在试验温度(火焰温度)下时开始试验,两个测量点的温度都应达到表2的规定。
注:试验持续时间的偏差应协商一致。
7.8 施加火焰结束后的压力
施加火焰后,试件应在室温下施加按软管/软管组件标准或其他技术标准规定的试验压力2min。
8 评定
施加火焰后,试件承受试验压力时仍能保持紧密性,则认为试验合格。
当某一试件不合格时,应取与不合格试件相同公称通径的两个试件重做试验。重做试验时,如果有一个试件不合格,则认为用于试验的软管组件不合格。
如果全部试件成功通过试验,则用于试验的软管组件应予认可,亦即,从公称通径最小到最大均予认可。
9 试验证书
试验结果应该在试验证书中证明,试验证书见附录A所示。
以上为标准部分内容,如需看标准全文,请到相关授权网站购买标准正版。
- 2023-08-22欧宝网页版登录入口维修保养记录
- 2023-08-22欧宝网页版登录入口设施维修维护
- 2023-08-19欧宝网页版登录入口水池维修
- 2023-08-19欧宝网页版登录入口水炮维修
- 2023-08-19欧宝网页版登录入口线路维修
- 2023-08-19欧宝网页版登录入口维保服务系统
- 2023-08-19欧宝网页版登录入口主机维修维保大全
- 2023-08-19欧宝网页版登录入口维保作用
- 2023-08-18欧宝网页版登录入口维保工作联系单
- 2023-08-18欧宝网页版登录入口维保每年都要做吗
- 2023-08-18 欧宝网页版登录入口维保技术服务
- 2023-08-18欧宝网页版登录入口主板维修
- 2023-08-18欧宝网页版登录入口维保软件
- 2023-08-18欧宝网页版登录入口维保规章制度
- 2023-08-17欧宝网页版登录入口检测和维保
- 2023-08-17欧宝网页版登录入口维保检查
-
IG541混合气体灭火系统
IG541混合气体灭火系统:IG-541灭火系统采用的IG-541混合气体灭火剂是由大气层中的氮气(N2)、氩气(Ar)和二氧化碳(CO2)三种气体分别以52%、40%、8%的比例混合而成的一种灭火剂 -
二氧化碳气体灭火系统
二氧化碳气体灭火系统:二氧化碳气体灭火系统由瓶架、灭火剂瓶组、泄漏检测装置、容器阀、金属软管、单向阀(灭火剂管)、集流管、安全泄漏装置、选择阀、信号反馈装置、灭火剂输送管、喷嘴、驱动气体瓶组、电磁驱动 -
七氟丙烷灭火系统
七氟丙烷(HFC—227ea)灭火系统是一种高效能的灭火设备,其灭火剂HFC—ea是一种无色、无味、低毒性、绝缘性好、无二次污染的气体,对大气臭氧层的耗损潜能值(ODP)为零,是卤代烷1211、130 -
手提式干粉灭火器
手提式干粉灭火器适灭火时,可手提或肩扛灭火器快速奔赴火场,在距燃烧处5米左右,放下灭火器。如在室外,应选择在上风方向喷射。使用的干粉灭火器若是外挂式储压式的,操作者应一手紧握喷枪、另一手提起储气瓶上的


