GB/T 19726.1-2020 林业机械 便携式油锯安全要求和试验 第1部分:林用油锯
- 发表时间:2023-03-14
- 来源:共立欧宝网页版登录入口
- 人气:
1 范围
GB/T 19726的本部分规定了以内燃机为动力的便携式林用油锯(以下简称林用油锯)的设计和结构方面的安全要求和试验方法。本部分适用于在已经阅读并且理解使用说明书中的安全要求、同时使用了正确的个人防护设备(PPE)、右手操作后手把、左手操作前手把、单人操作的手持式林用油锯。本部分给出了消除或减少使用林用油锯时所产生的各种危害的方法,规定了由生产厂家提供的有关安全操作方面的资料要求。
本部分给出了与林用油锯相关的正常使用时以及合理的、可预见的误用时的所有严重危害,但不包括发动机排量在80cm3以上的林用油锯由反弹或平衡产生的危害。
注:附录A中列出了严重危害一览表。
本部分仅适用于在其实施后生产的林用油锯。
2 规范性引用文件
下列文件对于本文件的应用是必不可少的。凡是注日期的引用文件,仅注日期的版本适用于本文件。凡是不注日期的引用文件,其最新版本(包括所有的修改单)适用于本文件。
GB/T 23821-2009 机械安全 防止上下肢触及危险区的安全距离(ISO 13857:2008,IDT)
ISO 6531:2008 林业机械 便携式油锯词汇(Machinery for forestry-Portable chain-saws-Vocabulary)
ISO 6533 油锯 前护手器 尺寸和空隙(Forestry machinery-Portable chain-saw front hand-guard-Dimensions and clearances)
ISO 6534 林业机械 便携式油锯护手器 机械强度(Forestry machinery-Portable chain-sawhand guards-Mechanical strength)
ISO 6535 便携式油锯 锯链制动器性能(Portable chain-saws-Chain brake performance)
ISO 7293 林业机械 便携式油锯 发动机性能和燃油消耗(Forestry machinery-Portablechain-saws-Engine performance and fuel consumption)
ISO 7914 林业机械 便携式油锯 手把最小空隙和尺寸(Forestry machinery-Portable chain-saws-Minimum handle clearance and sizes)
ISO 7915 林业机械 油锯 手把强度的测定(Forestry machinery-Portable chain-saws-De-termination of handle strength)
ISO 8334 林业机械 便携式油锯 平衡的测定(Forestry machinery-Portable chain-saws-De-termination of balance and maximum holding moment)
ISO 9518 林业机械 便携式油锯 反弹试验(Forestry machinery-Portable chain-saws-Kick-back test)
ISO 10726 便携式链锯 止链销 尺寸和机械强度(Portable chain-saws-Chain catcher-Di-mensions and mechanical strength)
ISO 12100:2010 机械安全 设计通则 风险评估与风险减小(Safety of machinery-General
principles for design-Risk assessment and risk reduction)
ISO 13772 林业机械 便携式油锯 被动式锯链制动器性能要求及测试方法(Forestry machin-ery-Portable chain-saws-Non-manually actuated chain brake performance)
ISO 13849-1:2006 机械安全 控制系统安全相关部件 第1部分:设计通则(Safety of machin-ery-Safety-related parts of control systems-Part 1: General principles for design)
ISO 13849-2 机械安全 控制系统安全相关部件 第2部分:确认(Safety of machinery-Safety-related parts of control systems-Part 2:Validation)
ISO 14982:1998 农林机械 电磁兼容性 试验方法和验收规则(Agricultural and forestry ma-chinery-Electromagnetic compatibility-Test methods and acceptance criteria)
ISO 22867 林业及园林机械 以内燃机为动力的便携式手持操作机械振动测定规范 手把振动(Forestry and gardening machinery-Vibration test code for portable hand-held machines with internal combustion engine-Vibration at the handles)
ISO 22868 林业及园林机械 以内燃机为动力的便携式手持操作机械噪声测定规范 工程法(2级精度)[Forestry and gardening machinery-Noise test code for portable hand-held machines with in-ternal combustion engine-Engineering method (Grade 2 accuracy)]
IEC 60745-1:2006 手持式电动工具 安全 第1部分:通用要求(Hand-held motor-operated e-lectric tools-Safety-Part 1:General requirements)
3 术语和定义
ISO 6531和ISO 12100所给出的术语和定义适用于本文件。
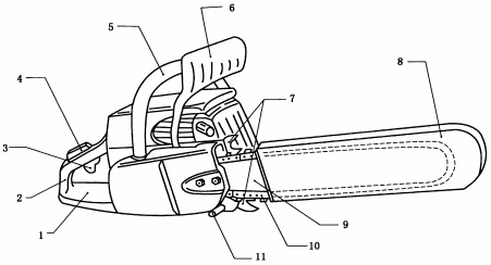
注:图1给出了适用于本部分的林用油锯示例。
说明:

1——后护手器;
2——后手把;
3——油门扳机;
4——油门扳机锁定装置;
5——前手把;
6——前护手器;
7——插木齿;
8——导板罩;
9——导板;
10——锯链;
11——止链销。
图1 林用油锯示例
4 安全要求和/或防护措施
4.1 总则
林用油锯应符合本章的安全要求和/或防护措施。另外,对于本部分中未提及的相关的非严重危害,设计时应按ISO 12100中的规定执行。
安全使用林用油锯取决于与使用个人防护设备(如手套、防滑靴及腿部、眼睛、耳朵和头部的防护用品等)相关的安全环境,以及安全工作程序(见5.1)。
除非本部分中另行规定,否则安全距离应满足GB/T 23821-2009中4.2.4.1与4.2.4.3的要求。
4.2 手把
4.2.1 要求
林用油锯应具有供双手分别握持的两个手把,其结构设计应满足如下要求:
——确保操作者戴上防护手套时能完全握住手把;
——手把的形状和表面能确保握持的可靠性;
——手把的尺寸和间隙应符合ISO 7914的规定(见4.12.1)。
手把的强度应符合ISO 7915的要求。
林用油锯如有手把减振系统,结构上应确保在减振系统失效的情况下操作者能通过控制停机装置使发动机停止运转(见4.11)。
4.2.2 检验
通过测量检验尺寸;按ISO7915的规定检验强度要求;通过检查设计结构和功能性测试来检验在减振系统损坏失效的情况下能否使林用油锯停机。
4.3 手的防护
4.3.1 前手把的防护
4.3.1.1 要求
在靠近前手把处应安装前护手器,防止操作者的手与锯链接触而受伤。
前护手器的尺寸和机械强度应分别符合ISO 6533和ISO 6534的规定。
4.3.1.2 检验
通过测量检验尺寸;按照ISO 6534的规定检验强度要求。
4.3.2 后手把的防护
4.3.2.1 要求
在后手把底部的右侧应设有后护手器,防止意外断链时,操作者的手被锯链伤害。
后护手器的宽度应满足距手把右边缘导板所在一侧不小于30mm(见图2),且后护手器长度应满足下述要求之一(二者中选取其中使护手器长度值较大者):
——自后手把握持空间前端面起向后不小于100mm(见图2);
——自油门扳机后部起并紧靠手把至少能并排放置3个直径为25mm的圆柱体。
也可将后护手器、操纵机构作为部件在结构上来满足这一要求。
以上为标准部分内容,如需看标准全文,请到相关授权网站购买标准正版。
- 2023-08-22欧宝网页版登录入口维修保养记录
- 2023-08-22欧宝网页版登录入口设施维修维护
- 2023-08-19欧宝网页版登录入口水池维修
- 2023-08-19欧宝网页版登录入口水炮维修
- 2023-08-19欧宝网页版登录入口线路维修
- 2023-08-19欧宝网页版登录入口维保服务系统
- 2023-08-19欧宝网页版登录入口主机维修维保大全
- 2023-08-19欧宝网页版登录入口维保作用
- 2023-08-18欧宝网页版登录入口维保工作联系单
- 2023-08-18欧宝网页版登录入口维保每年都要做吗
- 2023-08-18 欧宝网页版登录入口维保技术服务
- 2023-08-18欧宝网页版登录入口主板维修
- 2023-08-18欧宝网页版登录入口维保软件
- 2023-08-18欧宝网页版登录入口维保规章制度
- 2023-08-17欧宝网页版登录入口检测和维保
- 2023-08-17欧宝网页版登录入口维保检查
-
IG541混合气体灭火系统
IG541混合气体灭火系统:IG-541灭火系统采用的IG-541混合气体灭火剂是由大气层中的氮气(N2)、氩气(Ar)和二氧化碳(CO2)三种气体分别以52%、40%、8%的比例混合而成的一种灭火剂 -
二氧化碳气体灭火系统
二氧化碳气体灭火系统:二氧化碳气体灭火系统由瓶架、灭火剂瓶组、泄漏检测装置、容器阀、金属软管、单向阀(灭火剂管)、集流管、安全泄漏装置、选择阀、信号反馈装置、灭火剂输送管、喷嘴、驱动气体瓶组、电磁驱动 -
七氟丙烷灭火系统
七氟丙烷(HFC—227ea)灭火系统是一种高效能的灭火设备,其灭火剂HFC—ea是一种无色、无味、低毒性、绝缘性好、无二次污染的气体,对大气臭氧层的耗损潜能值(ODP)为零,是卤代烷1211、130 -
手提式干粉灭火器
手提式干粉灭火器适灭火时,可手提或肩扛灭火器快速奔赴火场,在距燃烧处5米左右,放下灭火器。如在室外,应选择在上风方向喷射。使用的干粉灭火器若是外挂式储压式的,操作者应一手紧握喷枪、另一手提起储气瓶上的


