GB/T 19725.2-2020 农林机械 便携式割灌机和割草机安全要求和试验 第2部分:背负式动力机械
- 发表时间:2023-03-14
- 来源:共立欧宝网页版登录入口
- 人气:
1 范围
GB/T 19725的本部分规定了以内燃机为动力源并将机械动力传递至切割附件的便携式背负动力割灌机和割草机的设计、结构和使用方面的安全要求及其试验方法。本部分提出了消除或减少使用整机所产生的各种危害的方法,规定了由生产厂家提供的安全操作方面有关资料的要求。
本部分和第1部分的相关章节(见4.1)涉及了在正常使用以及合理的、制造商可预见的误用整机时所有与整机相关的严重危险、危险情况及严重危害事件,背负式动力装置引起的全身振动危害除外。
注1:目前还没有测量背负式动力装置引起的全身振动的标准试验程序。
注2:严重危害一览表参见附录A及GB/T 19725.1-2020的附录C。
本部分适用于在其实施后生产的产品。
本部分不适用于安装非整体金属刀片结构的机器,例如甩链或甩刀刀片。
2 规范性引用文件
下列文件对于本文件的应用是必不可少的。凡是注日期的引用文件,仅注日期的版本适用于本文件。凡是不注日期的引用文件,其最新版本(包括所有的修改单)适用于本文件。
GB/T 19725.1-2020 农林机械 便携式割灌机和割草机安全要求和试验 第1部分:侧挂式动力机械(ISO 11806-1:2011,IDT)
GB/T 23821-2009 机械安全 防止上下肢触及危险区的安全距离(ISO 13857:2008,IDT)
ISO 4413 液压传动 系统及其元件的通用规则和安全要求(Hydraulic fluid power-Generalrules and safety requirements for systems and their components)
ISO 4414 气动 系统及其元件的通用规则和安全要求(Pneumatic fluid power-General rulesand safety requirements for systems and their components)
ISO 12100 机械安全 设计通则 风险评估与风险减小(Safety of machinery-Generalprinciples for design-Risk assessment and risk reduction)
3 术语和定义
GB/T 19725.1-2020界定的以及下列术语和定义适用于本文件。
注:图1给出了属于本部分范围的具有背负式动力源的割灌机示例。
3.1
机具 appliance
安装有驱动轴套管组合、切割附件及其安全罩以及手把的装置。
3.2
整机 machine
完整的割灌机(或割草机),包括背负式动力装置和机具。

说明:
1——背带;
2——背负式动力装置;
3——挡把;
4——刀片;
5——切割附件安全罩;
6——驱动轴套管组合;
7——前手把;
8——后手把。
图1 以内燃机为动力的背负式割灌机
4 安全要求
4.1 通则
割灌机和割草机应遵守本章中的安全要求和防护措施。另外,割灌机和割草机的设计应满足ISO 12100中给出的本部分未涉及的相关非严重危害的准则。
割灌机和割草机应符合GB/T 19725.1-2020中第4章除4.5外的所有要求。
安全使用割灌机和割草机取决于与使用个人防护设备(PPE)(如手套、护腿、工作靴及眼睛和耳朵的防护用品等)相关的安全环境,以及安全工作程序(见GB/T 19725.1-2020中的5.1)。
如果割草机能被改装成割灌机,那么改装设备应符合对割灌机的要求,反之亦然。
除非本部分中另行规定,否则安全距离应满足GB/T 23821-2009中4.2.4.1与4.2.4.3的要求。
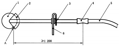
4.2 至切割附件的距离
4.2.1 要求
对于具有前、后手把的机器,后手把的中心点到切割附件上未被防护的最近点(见图2的点A)的直线距离应不小于1200mm。点A是切割路径的垂直平面与切割附件防护罩的侧边的交点。
该最小距离适用于所有推荐的切割附件。
4.2.2 检验
通过测量检查距离。
单位为毫米

说明:
1——切割附件;
2——安全罩;
3——前手把后部中心;
4——手把握持区域;
5——柔性动力传输轴;
6——挡把。
图2 安装有圆锯片切割附件及前后手把的机具示例
4.3 手把
4.3.1 要求
机器应有手把,手把可为轴套管的一部分,且应保证操作者握持手把能对背负式动力装置进行操作和运输。
手把的设计应能满足以下要求:
——确保操作者戴上防护手套时能完全握住手把;
——手把的形状和表面能确保握持的可靠性;
——长度不小于100mm,弧形或环形手把握持区域长度可由直线或曲率半径大于100mm的多段曲线段组成,在握持区域表面的一端或两端的曲率半径应不超过10mm。
4.3.2 检验
通过观察、测量和功能测试来检验手把的设计。
4.4 背带
4.4.1 要求
机器应配备携带背负式动力装置的双肩背带,且应可调节至适合操作者的尺寸。
背带应具有快速释放机构,快速释放机构位于动力源和背带之间,或位于背带和操作者之间。无论是背带的设计还是快速释放结构的使用,都应确保在发生紧急事故时能使人与动力源迅速分离。
若安装有快速释放机构,则应保证即使在载荷状态下,也能用一只手将其打开并且释放动力源。
以上为标准部分内容,如需看标准全文,请到相关授权网站购买标准正版。
- 2023-08-22欧宝网页版登录入口维修保养记录
- 2023-08-22欧宝网页版登录入口设施维修维护
- 2023-08-19欧宝网页版登录入口水池维修
- 2023-08-19欧宝网页版登录入口水炮维修
- 2023-08-19欧宝网页版登录入口线路维修
- 2023-08-19欧宝网页版登录入口维保服务系统
- 2023-08-19欧宝网页版登录入口主机维修维保大全
- 2023-08-19欧宝网页版登录入口维保作用
- 2023-08-18欧宝网页版登录入口维保工作联系单
- 2023-08-18欧宝网页版登录入口维保每年都要做吗
- 2023-08-18 欧宝网页版登录入口维保技术服务
- 2023-08-18欧宝网页版登录入口主板维修
- 2023-08-18欧宝网页版登录入口维保软件
- 2023-08-18欧宝网页版登录入口维保规章制度
- 2023-08-17欧宝网页版登录入口检测和维保
- 2023-08-17欧宝网页版登录入口维保检查
-
IG541混合气体灭火系统
IG541混合气体灭火系统:IG-541灭火系统采用的IG-541混合气体灭火剂是由大气层中的氮气(N2)、氩气(Ar)和二氧化碳(CO2)三种气体分别以52%、40%、8%的比例混合而成的一种灭火剂 -
二氧化碳气体灭火系统
二氧化碳气体灭火系统:二氧化碳气体灭火系统由瓶架、灭火剂瓶组、泄漏检测装置、容器阀、金属软管、单向阀(灭火剂管)、集流管、安全泄漏装置、选择阀、信号反馈装置、灭火剂输送管、喷嘴、驱动气体瓶组、电磁驱动 -
七氟丙烷灭火系统
七氟丙烷(HFC—227ea)灭火系统是一种高效能的灭火设备,其灭火剂HFC—ea是一种无色、无味、低毒性、绝缘性好、无二次污染的气体,对大气臭氧层的耗损潜能值(ODP)为零,是卤代烷1211、130 -
手提式干粉灭火器
手提式干粉灭火器适灭火时,可手提或肩扛灭火器快速奔赴火场,在距燃烧处5米左右,放下灭火器。如在室外,应选择在上风方向喷射。使用的干粉灭火器若是外挂式储压式的,操作者应一手紧握喷枪、另一手提起储气瓶上的


