GB/T 10395.5-2021 农业机械 安全 第5部分:驱动式耕作机械
- 发表时间:2023-01-27
- 来源:共立欧宝网页版登录入口
- 人气:
1 范围
本文件规定了农业机械悬挂式、半悬挂式和牵引式动力驱动的土壤耕作机械的结构安全要求和判定方法,本文件还规定了制造厂应提供的安全操作(包括遗留风险)信息的类型。
本文件涉及的重大危险(在附录A中列出),危险状态和事件与制造厂可预见条件下使用驱动式耕作机械相关(见第4章)。
本文件不适用于:
——铲土机;
——安装有可伸缩装置,能连续在作物之间作业的机械。
本文件不包括环境危险,也不包括与动力传动运动部件和专业人员维护保养机械的相关危险,但防护装置和屏障强度要求除外。
注1:本文件不涉及对道路交通管理相关的危险。
注2:对于悬挂、半悬挂和牵引式机械,本文件未将振动作为重大危险。
本文件不适用于本文件颁布以前生产的驱动式耕作机械。
如果本文件的要求与ISO4254-1的要求不同,对按本文件的规定设计和制造的机器,本文件的要求优先于ISO 4254-1的要求。
2 规范性引用文件
下列文件中的内容通过文中的规范性引用而构成本文件必不可少的条款。其中,注日期的引用文件,仅该日期对应的版本适用于本文件;不注日期的引用文件,其最新版本(包括所有的修改单)适用于本文件。
ISO 4254-1:2013 农业机械 安全 第1部分:总则(Agricultural machinery-Safety-Part 1: General requirements)
ISO 12100 机械安全 设计通则 风险评估与风险减小(Safety of machinery-Generalprinciples for design-Risk assessment and risk reduction)
3 术语和定义
ISO 12100和ISO 4254-1界定的以及下列术语和定义适用于本文件。ISO和IEC维护以下术语数据库,以便使用:
——IEC Electropedia:可在http://www.electropedia.org/下载;
——ISO在线浏览平台可用:https://www.iso.org/obp。
3.1
驱动式耕作机械 power-driven soil-working machines
带有动力驱动工作部件,能改变土壤结构或剖面,并在作业中将土壤中植物残留物质或粪便切割或切碎并混合的机械。
注:见附录B,机具举例。
3.2
防止接触的附加装置 attachment preventing access
可安装在驱动式耕作机械(3.1)上,防止从驱动式耕作机械顶部及其后部接触到驱动工作部件的装置。
示例:播种机。
3.3
不防止接触的附加装置 attachment not preventing access
可安装在驱动式耕作机械(3.1)上,且允许与驱动式耕作机械顶部接触的装置。
示例:框架、辊子。
4 安全要求、降低风险和防护措施
4.1 基本要求
驱动式耕作机械应遵守本文件的安全要求,降低风险和防护措施。此外,机器应按照ISO 12100给出的原则设计,以应对本文件未涉及的重大危险。
除非本文件另有规定,驱动式耕作机械应遵守ISO4254-1的规定。
4.2 降低噪声作为安全要求
驱动式耕作机械应符合ISO 4254-1:2013中4.3的规定。
主要噪声源来自变速箱。
注:拖拉机或工具与土壤的接触所引起的噪声不受机器制造商控制。
4.3 防止意外触及动力驱动工作部件和抛掷物
注:第4章要求的防护装置的位置与驱动式工作部件的运行外部轨迹有关,给出的尺寸与围绕垂直轴旋转的工作部件和围绕水平轴旋转的工作部件相关,相关数据仅显示一个示例。
4.3.1 在正常作业和维修时,为避免与驱动式耕作机械前、后、侧面和顶部意外触及驱动工作部件,机械的设计和防护应符合4.3.1.1~4.3.1.5的要求。
4.3.1.1 前面、侧面和后面易触及的区域见图1,防护应从工作部件最外端运动轨迹延伸至距离a,栅栏开口的尺寸“a”和“b”应符合图2的要求。
4.3.1.2 通过以下方式,防止在驱动式耕作机械顶部与工具和抛掷物接触。
a) 提供版式(无孔)防护装置,覆盖工作部件运行轨迹最外端的区域。
b) 按4.3.1.1要求屏障之间和顶部的防护罩不应与运动工作部件接触,该防护可用防护罩或任何适当的机械零部件和防护罩的结合获得防护。
4.3.1.3 在机械处于作业状态时,防护罩能覆盖机具的侧面和后部地面以上工作部件时,安全距离a可小于200mm(见图3)。
4.3.1.4 在机械后部,当防护装置通过铰链进行调整以补偿各种操作条件(例如地面条件)时,其防护装置下边缘应位于图4的位置:
a)最大高度“e”,与驱动工作部件的最小距离“a”;
b)最大高度“i”,与驱动工作部件的最小距离“d”。
另见6.1a)。
4.3.1.5 机具顶部的防护,其零部件和屏障应保证能承受1200N的向下垂直载荷,防护罩(屏障)应能承受下列水平载荷:
a)600 N,带水平轴的耕作机械与最大功率不大于37kW的拖拉机配套使用时;
b)1000 N,其他类型耕作机械。
应根据ISO 4254-1:2013附录C通过测量验证。
4.3.2 后防护装置可以是可移动或可拆卸,以便于安装防止触及驱动工作部件的附件[见6.1c)]。与后防护装置具有等效防护功能的附件可代替防护装置,且应满足下列条件:
a) 该零部件或附件不应是动力驱动;
b) 应防止接触驱动工作部件:
——通过在高度为g的屏障,确保距离a,按照4.3.1.2b)通过附加两个屏障,覆盖该屏障和顶部护板边缘之间的区域。如图2c)所示。或
——在ZY线上任何点设置屏障[见图2d)]。屏障和机具顶部之间区域应符合4.3.1.2b)的规定,如图2d)所示通过附加的4个屏障进行覆盖。
c) 如安装防止接触的附加防护装置时(见3.2),其附加防护装置应能使图5的阴影区域不能触及动力驱动工作部件,后防护[按4.3.1.1和4.3.1.2b)]应从机械两侧向内延伸至少550mm的距离。
4.3.3 带有驱动式工作部件的耕作机械,当机具部件或工作部件不能作为正常防护时[见6.1c)和6.1d)],机具应按照4.3.1和4.3.2的要求设计成安装有选择性防护(由制造厂提供,并在说明书中说明)。
4.3.4 如果机械后面有抛掷物体的危险,应采取防护措施,例如使用附加防护,其后面防护应为板式防护。这种替代防护装置应由制造商提供。操作手册应提供有关安装防护罩的信息。

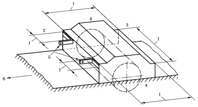
标引序号说明:
1——易触及区域;
2——前面;
3——后面;
4——侧面;
5——下悬挂点;
6——前进方向(后悬挂机械)。
图1 易触及区域(见4.3.1)
以上为标准部分内容,如需看标准全文,请到相关授权网站购买标准正版。
- 2023-08-22欧宝网页版登录入口维修保养记录
- 2023-08-22欧宝网页版登录入口设施维修维护
- 2023-08-19欧宝网页版登录入口水池维修
- 2023-08-19欧宝网页版登录入口水炮维修
- 2023-08-19欧宝网页版登录入口线路维修
- 2023-08-19欧宝网页版登录入口维保服务系统
- 2023-08-19欧宝网页版登录入口主机维修维保大全
- 2023-08-19欧宝网页版登录入口维保作用
- 2023-08-18欧宝网页版登录入口维保工作联系单
- 2023-08-18欧宝网页版登录入口维保每年都要做吗
- 2023-08-18 欧宝网页版登录入口维保技术服务
- 2023-08-18欧宝网页版登录入口主板维修
- 2023-08-18欧宝网页版登录入口维保软件
- 2023-08-18欧宝网页版登录入口维保规章制度
- 2023-08-17欧宝网页版登录入口检测和维保
- 2023-08-17欧宝网页版登录入口维保检查
-
IG541混合气体灭火系统
IG541混合气体灭火系统:IG-541灭火系统采用的IG-541混合气体灭火剂是由大气层中的氮气(N2)、氩气(Ar)和二氧化碳(CO2)三种气体分别以52%、40%、8%的比例混合而成的一种灭火剂 -
二氧化碳气体灭火系统
二氧化碳气体灭火系统:二氧化碳气体灭火系统由瓶架、灭火剂瓶组、泄漏检测装置、容器阀、金属软管、单向阀(灭火剂管)、集流管、安全泄漏装置、选择阀、信号反馈装置、灭火剂输送管、喷嘴、驱动气体瓶组、电磁驱动 -
七氟丙烷灭火系统
七氟丙烷(HFC—227ea)灭火系统是一种高效能的灭火设备,其灭火剂HFC—ea是一种无色、无味、低毒性、绝缘性好、无二次污染的气体,对大气臭氧层的耗损潜能值(ODP)为零,是卤代烷1211、130 -
手提式干粉灭火器
手提式干粉灭火器适灭火时,可手提或肩扛灭火器快速奔赴火场,在距燃烧处5米左右,放下灭火器。如在室外,应选择在上风方向喷射。使用的干粉灭火器若是外挂式储压式的,操作者应一手紧握喷枪、另一手提起储气瓶上的


