GB/T 10395.3-2019 农业机械 安全 第3部分:固体肥料撒施机
- 发表时间:2023-01-27
- 来源:共立欧宝网页版登录入口
- 人气:
1 范围
GB/T 10395的本部分与ISO 4254-1一起使用,本部分规定了应用在农业仅有一个操作者的悬挂式、半悬挂式、牵引式和自走式固体肥料撒施机的安全要求及其符合性判定方法。
本部分适用于全幅宽固体肥料撒施机、固体肥料撒播机、带有振荡管的固体肥料撒施机和行间固体肥料撒施机,以及由辅助发动机驱动的固体肥料撒施机,本部分还规定了制造厂应提供的安全操作(包括遗留风险)信息的类型。
本部分涉及的重大危险(在附录A中列出)、危险状态和危险事件与制造厂可预见特定条件下使用固体肥料撒施机相关(见第4章)。
本部分不适用于:
——工作区域照明不足;
——驾驶员/操作者位置的能见度不足;
——座位不足;
——行走功能(驱动,制动等);
——翻滚;
——肥料装载机;
——附助发动机;
——除防护装置强度要求外,也不适用于与动力传动运动部件的相关危险。
本部分既不适用于专业服务机构进行的维护或维修,也不适用于环境危害(噪声除外)。本部分也不适用于:
——播种施肥联合作业机;
——颗粒农药撒布机;
——非专业人员操控机器;
——背负式撒肥机。
本部分也不适用于在本文件公布之日前生产的固体肥料撒施机。
本部分的安全技术要求不同于ISO4254-1时,应优先使用本部分。
2 规范性引用文件
下列文件对于本文件的应用是必不可少的。凡是注日期的引用文件,仅注日期的版本适用于本文件。凡是不注日期的引用文件,其最新版本(包括所有的修改单)适用于本文件。
GB/T 15706-2012 机械安全 设计通则 风险评估与风险减小(ISO 12100:2010,IDT)
GB/T 23821-2009 机械安全 防止上下肢触及危险区的安全距离(ISO 13857:2008,IDT)
ISO 4254-1:2013 农业机械 安全 第1部分:通用要求(Agricultural machinery-Safety-Part 1:General requirements
ISO/TR 11688-1 声学 低噪声机器和设备设计实施建议 第1部分:规划(Acoustics-Recom-mended practice for the design of low-noise machinery andequipment-Part 1:Planning)
ISO 14120:2015 机械安全防护装置固定和活动防护装置的设计和结构的一般要求(Safety ofmachinery-Guards-General requirements for the design and construction offixed and movable guards)
3 术语和定义
GB/T 15706-2012和ISO 4254-1界定的以及下列术语和定义适用于本文件。
ISO和IEC维护术语数据库,用于下列标准化地址:
——IEC Electropedia:可从 http://www.electropedia.org/获取;
——ISO在线浏览平台:https://www.iso.org/obp。
3.1
固体肥料撒施机 solid fertilizer distributor
在土壤表面或作物中间施肥但肥料未融入土壤中的机器。
3.2
全幅宽固体肥料撒施机 full width solid fertilizer distributor
一种固体肥料撒施机(3.1),在土壤整个表面撒施肥料,其施肥作业幅宽与机器宽度大致相同。
3.3
固体肥料撒播机 solid fertilizer broadcaster
一种固体肥料撒施机(3.1),在土壤整个表面播撒肥料,其施肥作业幅宽大于机器宽度。
3.4
固体肥料行间撒施机 solid fertilizer line-distributor
一种固体肥料撒施机(3.1),有肥料和无肥料间隔排列,其施肥作业幅宽与机器等宽。
3.5
带负载进入 access with load
安装机器,例如:携带一袋肥料装填到料箱中。
注:带负载进入装载位置通常不允许三点接触。
3.6
无负载进入 access without load
安装机器不需要携带物料,由辅助设备装填料箱,例如,螺旋输送。
注:无负载装载位置通常允许三点接触。
4 安全要求、减少风险和保护措施
4.1 一般要求
固体肥料撒施机应遵守本部分的安全要求和防护措施规定,除本部分另有规定外,安全要求和防护措施应符合ISO 4254-1的规定。
固体肥料撒施机设计应符合GB/T 15706-2012的规定。
4.2 驻停稳定性和手动操作稳定性
4.2.1 一般要求
固体肥料撒施机应符合ISO 4254-1:2013中6.2.1稳定性要求。应按第5章加以核实。另见6.1a)、b)和c)。
4.2.2 安装手动搬运辊的悬挂式固体肥料撒施机的装卸
配备手动搬运辊的固体肥料撒施机,操作时应保证机器不倾覆。应按第5章核实。
4.2.3 可调节支撑装置
固体肥料撒施机配备可调节支撑装置时,操作人员应不进入机器下方就可调整支撑装置。应通过检查核实。
4.3 施肥组件
4.3.1 旋转可移动施肥组件
旋转可移动施肥组件应防止与高架输电线关联危险,应采取ISO 4254-1:2013中8.2.3 p)和8.3.4规定的措施,见6.1中d)、e)和f)。应通过检查核实。
4.3.2 撒肥板和振荡管
4.3.2.1 避免与施肥组件意外接触
机器设计或防护应避免与前部、后部和侧面的施肥组件发生意外接触[例如:防护栏(罩)或部分部件],该要求不适用于带有地轮驱动施肥组件的固体肥料撒施机。
应经过检查核实见6.1中g)、h)、i)、j)、k)和1)。
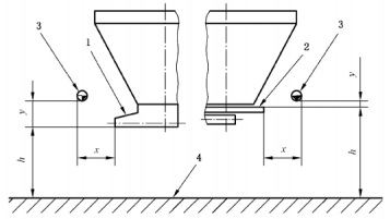
4.3.2.1.1 工作高度(h)小于1500mm的固体肥料撒施机,应按下列要求提供前部、后部和两侧连续防护,符合下列要求:
a)按图1和表1的规定在施肥组件上方安装防护栏。
单位为毫米

说明:
1——振荡管式施肥机撒肥组件;
2——旋转(离心)式施肥机撒肥组件;
3——防护栏;
4——地面;
h——最大工作高度;
x——撤肥组件端部与防护栏的水平距离;
y——撒肥组件端部与防 护栏的垂直距离。
注:图中给出的h,仅仅是举例。
图1 工作高度小于1500mm的防护(水平不相交)
以上为标准部分内容,如需看标准全文,请到相关授权网站购买标准正版。
- 2023-08-22欧宝网页版登录入口维修保养记录
- 2023-08-22欧宝网页版登录入口设施维修维护
- 2023-08-19欧宝网页版登录入口水池维修
- 2023-08-19欧宝网页版登录入口水炮维修
- 2023-08-19欧宝网页版登录入口线路维修
- 2023-08-19欧宝网页版登录入口维保服务系统
- 2023-08-19欧宝网页版登录入口主机维修维保大全
- 2023-08-19欧宝网页版登录入口维保作用
- 2023-08-18欧宝网页版登录入口维保工作联系单
- 2023-08-18欧宝网页版登录入口维保每年都要做吗
- 2023-08-18 欧宝网页版登录入口维保技术服务
- 2023-08-18欧宝网页版登录入口主板维修
- 2023-08-18欧宝网页版登录入口维保软件
- 2023-08-18欧宝网页版登录入口维保规章制度
- 2023-08-17欧宝网页版登录入口检测和维保
- 2023-08-17欧宝网页版登录入口维保检查
-
IG541混合气体灭火系统
IG541混合气体灭火系统:IG-541灭火系统采用的IG-541混合气体灭火剂是由大气层中的氮气(N2)、氩气(Ar)和二氧化碳(CO2)三种气体分别以52%、40%、8%的比例混合而成的一种灭火剂 -
二氧化碳气体灭火系统
二氧化碳气体灭火系统:二氧化碳气体灭火系统由瓶架、灭火剂瓶组、泄漏检测装置、容器阀、金属软管、单向阀(灭火剂管)、集流管、安全泄漏装置、选择阀、信号反馈装置、灭火剂输送管、喷嘴、驱动气体瓶组、电磁驱动 -
七氟丙烷灭火系统
七氟丙烷(HFC—227ea)灭火系统是一种高效能的灭火设备,其灭火剂HFC—ea是一种无色、无味、低毒性、绝缘性好、无二次污染的气体,对大气臭氧层的耗损潜能值(ODP)为零,是卤代烷1211、130 -
手提式干粉灭火器
手提式干粉灭火器适灭火时,可手提或肩扛灭火器快速奔赴火场,在距燃烧处5米左右,放下灭火器。如在室外,应选择在上风方向喷射。使用的干粉灭火器若是外挂式储压式的,操作者应一手紧握喷枪、另一手提起储气瓶上的


