GB/T 39528-2020 建筑幕墙面板抗地震脱落检测方法
- 发表时间:2023-01-10
- 来源:共立欧宝网页版登录入口
- 人气:
1 范围
本标准规定了建筑幕墙面板抗地震脱落的检测原理、检测装置、试件、检测前准备、检测、检测结果及检测报告。
本标准适用于建筑幕墙面板抗地震脱落的实验室检测。
2 规范性引用文件
下列文件对于本文件的应用是必不可少的。凡是注日期的引用文件,仅注日期的版本适用于本文件。凡是不注日期的引用文件,其最新版本(包括所有的修改单)适用于本文件。
GB/T 18250 建筑幕墙层间变形性能分级及检测方法
GB/T 34327 建筑幕墙术语
3 术语和定义
GB/T 34327、GB/T 18250界定的以及下列术语和定义适用于本文件。
3.1
脱落 fall out
建筑幕墙面板或配件从试件分离并掉落的现象。
注:配件指固定面板的压板、扣盖、紧固件等。
3.2
损坏位移 damage displacement
建筑幕墙试件面板或配件发生影响正常使用的可见损坏但未发生脱落的最小位移量。
注1:可见损坏包括面板裂缝、粘结破坏、压板及紧固件损坏等。
注2:损坏位移用符号Δ表示。
3.3
脱落位移 fall out displacement
建筑幕墙试件面板或配件发生脱落的最小位移量。
注:脱落位移用符号Δ,表示。
4 检测原理
通过动力加载装置模拟主体结构在地震荷载作用时产生的层间变形,在规定频率和位移条件下,检测幕墙试件面板和配件抗损坏和脱落的能力。
5 检测装置
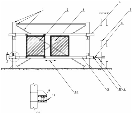
5.1 组成
检测装置应由试件安装架(包括支撑架、固定横梁、活动横梁、滑移装置等)、动力加载装置、位移测量装置等组成,检测装置示意图见图1。

说明:
1——支撑架;
2——幕墙试件:
3——窗墙试件
4——固定横梁;
5——反力架;
6——位移测量装置;
7——动力加载装置;
8——连接部位;
9——活动横梁;
10——位移方向;
11——滑移装置。
图1 检测装置示意图
5.2 要求
5.2.1 试件安装用支撑架应能承受检测过程中可能出现的作用力。安装用固定横梁和活动横梁应能承受试件的自重以及检测过程中可能出现的荷载,并应具有足够的刚度和整体稳定性,且应满足试件支承方式的要求。
5.2.2 滑移装置应能充分承受试验过程中可能出现的荷载,不应出现影响检测的损坏。
5.2.3 动力加载装置行程应能满足最大位移要求,动作应连续,且频率响应能满足检测频率要求。反力架应牢固。
5.2.4 位移测量装置应具有实时采集位移变化量的能力,其精度不应低于2mm。
5.2.5 天平称量精度不应低于0.1g。
6 试件
6.1 要求
6.1.1 建筑幕墙试件的选取应具有代表性,高度方向应至少包括一个层高,宽度方向宜至少包括三个面板分格,宜包括下列不利部位:
a) 面板面积最大部位;
b) 面板厚度最小部位;
c) 面板强度最低部位;
d) 面板安装最薄弱部位;
e) 面板与框间隙最小部位;
f) 面板高宽比最小部位;
g)层间位移角最大部位。
6.1.2 试件规格、型号、材料、配件等应与委托单位所提供的图样一致。
6.1.3 试件应保持清洁、干燥。
6.2 安装
6.2.1 试件安装应与设计要求或工程实际相同。玻璃幕墙安装示意图和窗式幕墙安装示意图分别见图2和图3。

图2 玻璃幕墙安装示意图

图3 窗式幕墙安装示意图
6.2.2 单元式幕墙应包含起始料和挂接装置,并应包含设计或工程实际要求的限位措施。
7 检测前准备
7.1 检测前,试件应在不低于5℃环境下存放,存放时间不应少于16h。
7.2 检测前应对试件安装进行检查,符合设计或工程实际要求后才可进行检测。
7.3 检测前应采取必要的安全防护措施,并确保有效。
以上为标准部分内容,如需看标准全文,请到相关授权网站购买标准正版。
- 2023-08-22欧宝网页版登录入口维修保养记录
- 2023-08-22欧宝网页版登录入口设施维修维护
- 2023-08-19欧宝网页版登录入口水池维修
- 2023-08-19欧宝网页版登录入口水炮维修
- 2023-08-19欧宝网页版登录入口线路维修
- 2023-08-19欧宝网页版登录入口维保服务系统
- 2023-08-19欧宝网页版登录入口主机维修维保大全
- 2023-08-19欧宝网页版登录入口维保作用
- 2023-08-18欧宝网页版登录入口维保工作联系单
- 2023-08-18欧宝网页版登录入口维保每年都要做吗
- 2023-08-18 欧宝网页版登录入口维保技术服务
- 2023-08-18欧宝网页版登录入口主板维修
- 2023-08-18欧宝网页版登录入口维保软件
- 2023-08-18欧宝网页版登录入口维保规章制度
- 2023-08-17欧宝网页版登录入口检测和维保
- 2023-08-17欧宝网页版登录入口维保检查
-
IG541混合气体灭火系统
IG541混合气体灭火系统:IG-541灭火系统采用的IG-541混合气体灭火剂是由大气层中的氮气(N2)、氩气(Ar)和二氧化碳(CO2)三种气体分别以52%、40%、8%的比例混合而成的一种灭火剂 -
二氧化碳气体灭火系统
二氧化碳气体灭火系统:二氧化碳气体灭火系统由瓶架、灭火剂瓶组、泄漏检测装置、容器阀、金属软管、单向阀(灭火剂管)、集流管、安全泄漏装置、选择阀、信号反馈装置、灭火剂输送管、喷嘴、驱动气体瓶组、电磁驱动 -
七氟丙烷灭火系统
七氟丙烷(HFC—227ea)灭火系统是一种高效能的灭火设备,其灭火剂HFC—ea是一种无色、无味、低毒性、绝缘性好、无二次污染的气体,对大气臭氧层的耗损潜能值(ODP)为零,是卤代烷1211、130 -
手提式干粉灭火器
手提式干粉灭火器适灭火时,可手提或肩扛灭火器快速奔赴火场,在距燃烧处5米左右,放下灭火器。如在室外,应选择在上风方向喷射。使用的干粉灭火器若是外挂式储压式的,操作者应一手紧握喷枪、另一手提起储气瓶上的


