GB/T 28542-2012 道路车辆应急起动电缆
- 发表时间:2023-01-04
- 来源:共立欧宝网页版登录入口
- 人气:
1 范围
本标准规定了道路车辆应急起动电缆(以下简称起动电缆)的术语和定义、要求、试验方法、检验规则等。
本标准适用于标称电压为12V或24V、起动电流不超过750A的起动电缆。
2 规范性引用文件
下列文件对于本文件的应用是必不可少的。凡是注日期的引用文件,仅注日期的版本适用于本文件。凡是不注日期的引用文件,其最新版本(包括所有的修改单)适用于本文件。
GB/T 191 包装储运图示标志
GB/T 1220-2007 不锈钢棒
GB/T 3953 电工圆铜线
GB/T 4909.2-2009 裸电线试验方法 第2部分:尺寸测量
GB/T 25085-2010 道路车辆60V和600V单芯电线
SJ/T 11223 铜包铝线
3 术语和定义
下列术语和定义适用于本文件。
3.1
额定电流 rated current
起动电缆在特定条件下传输电流的能力。
3.2
电压降 voltage drop
起动电缆被连接到两个蓄电池电极之间并传输电流时,在两个蓄电池的正电极之间或负电极之间存在的电位差。
4 要求
4.1 一般要求
4.1.1 起动电缆应符合本标准的规定,并应按经规定程序批准的图样及设计文件制造。
4.1.2 起动电缆的规格用额定电流表示,见表1。
表1 起动电缆的规格和基本参数
起动电缆的规格 (额定电流)/A | 起动电缆 总长度/mm | 电缆导体截 面积/mm2 | 电压降/V | 车辆发动机气缸工作容量/L | |
汽油发动机 | 柴油发动机 | ||||
80 | ≥2500 | ≥3 | ≤1.6 | ≤1.0 | 不适用 |
100 | ≥2 500 | ≥4 | ≤1.6 | ≤1.2 | 不适用 |
150 | ≥2 800 | ≥6 | ≤1.6 | ≤1.6 | 不适用 |
200 | ≥2 800 | ≥10 | ≤1.6 | ≤2.0 | 不适用 |
220 | ≥3000 | ≥16 | ≤1.6 | ≤2.5 | ≤2.0 |
350 | ≥3500 | ≥25 | ≤1.6 | ≤5.5 | ≤3.0 |
480 | ≥4 000 | ≥35 | ≤1.6 | ≤7.0 | ≤4.0 |
750 | ≥4500 | ≥50 | ≤1.8 | ≤12.0 | ≤9.0 |
4.1.3 起动电缆包括普通温度型(-25℃~+70℃)和特低温度型(-40℃~+70℃)。
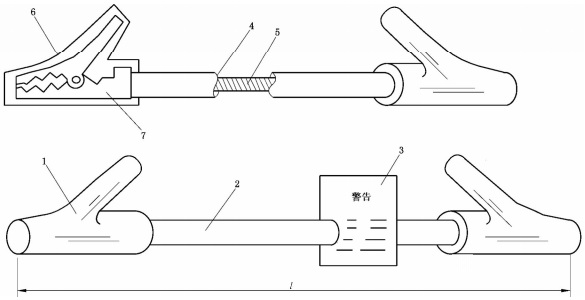
4.1.4 起动电缆由两条电缆及附件组成,每一条电缆的两端各连接一个蓄电池夹,其中一条电缆上应装有一个不可拆卸的警示标签,见图1。
其中:
1——蓄电池夹;
2——电缆;
3——警示标签;
4——电缆绝缘层;
5——电缆导体;
6——蓄电池夹的绝缘层;
7——蓄电池夹(主件);
l——总长度。
图1 起动电缆结构示意图
4.1.5 起动电缆的两条电缆上应标识下列内容:
a) 制造商名称或商标。
b) 适用温度范围。
c)额定电流。
4.1.6 起动电缆的两条电缆的导体应由符合GB/T 3953规定的软铜线或由符合SJ/T 11223规定的软铜包铝线绞合而成。
4.1.7 起动电缆的总长度(l)应符合表1的规定。
4.2 起动电缆极性
起动电缆的一条电缆及其两端的蓄电池夹的颜色为黑色,另一条电缆及其两端的蓄电池夹的颜色为红色或明显区别于黑色的其他颜色(除了白色之外)。
4.3 电缆
4.3.1 电缆导体的截面积应符合表1的规定。
4.3.2 电缆外径和电缆绝缘层的厚度应符合表2的规定。
表2 电缆外径和电缆绝缘厚度
导体截面积范围S/mm2 | 铜包铝软线绞合导体 | 铜丝绞合导体 | ||
电缆绝缘厚度(最小)/mm | 电缆外径(最大)/mm | 电缆绝缘厚度 | 电缆外径 | |
3≤S≤16 | 0.80 | 8.30 | 见GB/T 25085-2010中的表4 | |
16<S≤25 | 1.04 | 10.4 | ||
25<S≤35 | 1.04 | 12.0 | ||
35<S≤50 | 1.20 | 14.0 | ||
50<S≤70 | 1.20 | 16.0 | ||
70<S≤95 | 1.28 | 19.0 | ||
4.3.3 电缆绝缘层在70℃温度下应具有足够的抗机械压力能力。
4.3.4 电缆绝缘层在-25℃(或-40℃)温度下应具有足够的抗卷绕能力。
4.3.5 电缆绝缘层在-25℃(或-40℃)~70℃温度范围内应具有足够的抗热漂移(高温短期老化)能力。
4.3.6 电缆绝缘层经有限接触汽油、柴油、机油后,应无破裂或绝缘失效,并且电缆外径的变化率应不大于15%。
4.3.7 电缆绝缘层经有限接触火焰后,应无延燃现象发生。
4.4 蓄电池夹
4.4.1 蓄电池夹的张开力应符合表3的规定。蓄电池夹的夹持力应不小于2倍的张开力。
表3 蓄电池夹的张开力
起动电缆的规格(额定电流)/A | 蓄电池夹的张开力/N | ||
蓄电池电极直径10mm | 蓄电池电极直径20mm | 蓄电池电极直径30mm | |
80 | 30±6 | 50±10 | 70±10 |
100、150、200、220 | 35±7 | 55±11 | 75±15 |
以上为标准部分内容,如需看标准全文,请到相关授权网站购买标准正版。
- 2023-08-22欧宝网页版登录入口维修保养记录
- 2023-08-22欧宝网页版登录入口设施维修维护
- 2023-08-19欧宝网页版登录入口水池维修
- 2023-08-19欧宝网页版登录入口水炮维修
- 2023-08-19欧宝网页版登录入口线路维修
- 2023-08-19欧宝网页版登录入口维保服务系统
- 2023-08-19欧宝网页版登录入口主机维修维保大全
- 2023-08-19欧宝网页版登录入口维保作用
- 2023-08-18欧宝网页版登录入口维保工作联系单
- 2023-08-18欧宝网页版登录入口维保每年都要做吗
- 2023-08-18 欧宝网页版登录入口维保技术服务
- 2023-08-18欧宝网页版登录入口主板维修
- 2023-08-18欧宝网页版登录入口维保软件
- 2023-08-18欧宝网页版登录入口维保规章制度
- 2023-08-17欧宝网页版登录入口检测和维保
- 2023-08-17欧宝网页版登录入口维保检查
-
IG541混合气体灭火系统
IG541混合气体灭火系统:IG-541灭火系统采用的IG-541混合气体灭火剂是由大气层中的氮气(N2)、氩气(Ar)和二氧化碳(CO2)三种气体分别以52%、40%、8%的比例混合而成的一种灭火剂 -
二氧化碳气体灭火系统
二氧化碳气体灭火系统:二氧化碳气体灭火系统由瓶架、灭火剂瓶组、泄漏检测装置、容器阀、金属软管、单向阀(灭火剂管)、集流管、安全泄漏装置、选择阀、信号反馈装置、灭火剂输送管、喷嘴、驱动气体瓶组、电磁驱动 -
七氟丙烷灭火系统
七氟丙烷(HFC—227ea)灭火系统是一种高效能的灭火设备,其灭火剂HFC—ea是一种无色、无味、低毒性、绝缘性好、无二次污染的气体,对大气臭氧层的耗损潜能值(ODP)为零,是卤代烷1211、130 -
手提式干粉灭火器
手提式干粉灭火器适灭火时,可手提或肩扛灭火器快速奔赴火场,在距燃烧处5米左右,放下灭火器。如在室外,应选择在上风方向喷射。使用的干粉灭火器若是外挂式储压式的,操作者应一手紧握喷枪、另一手提起储气瓶上的


