GB/T 36511-2018 直升机用水下应急呼吸器
- 发表时间:2023-01-01
- 来源:共立欧宝网页版登录入口
- 人气:
1 范围
本标准规定了用于直升机乘员的直升机用水下应急呼吸器的结构、技术要求、试验方法、检验规则、标志和随行文件、包装、运输和贮存要求。
本标准适用于直升机用水下应急呼吸器(以下简称“水下应急呼吸器”)。
2 规范性引用文件
下列文件对于本文件的应用是必不可少的。凡是注日期的引用文件,仅注日期的版本适用于本文件。凡是不注日期的引用文件,其最新版本(包括所有的修改单)适用于本文件。
GB/T 191 包装储运图示标志
GB/T 192 普通螺纹 基本牙型
GB/T 196 普通螺纹 基本尺寸
GB/T 197 普通螺纹 公差
GB 4806.11-2016 食品安全国家标准 食品接触用橡胶材料及制品
GB 18435 潜水呼吸气体及检测方法
GB/T 28053 呼吸器用复合气瓶
GB/T 28285-2012 飞机氧气系统术语
HB 6167.1 民用飞机机载设备环境条件和试验方法 第1部分:总则
HB 6167.2 民用飞机机载设备环境条件和试验方法 第2部分:温度和高度试验
HB 6167.3 民用飞机机载设备环境条件和试验方法 第3部分:温度变化试验
HB 6167.4 民用飞机机载设备环境条件和试验方法 第4部分:湿热试验
HB 6167.11 民用飞机机载设备环境条件和试验方法 第11部分:霉菌试验
HB 6167.12 民用飞机机载设备环境条件和试验方法 第12部分:盐雾试验
3 术语和定义
GB/T 28285-2012界定的术语和定义适用于本文件。为了便于使用,以下重复列出了GB/T 28285-2012中的某些术语和定义。
3.1
肺通气量 pulmonary ventilation
人体每分钟吸入或呼出的气体容量,它等于呼吸频率与潮气量的乘积。
[GB/T 28285-2012,定义2.3.42]
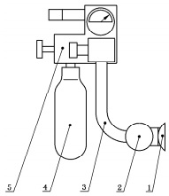
4 结构
水下应急呼吸器一般由咬嘴、肺式活门机构、软管、气瓶和减压器等组成,其结构如图1所示,其中,减压器上一般设置有手动开关、安全阀、充气接嘴和压力表。
水下应急呼吸器用的气瓶应符合GB/T 28053的要求。

说明:
1——咬嘴;
2——肺式活门机构:
3——软管:
4——气瓶;
5——减压器。
图1 水下应急呼吸器结构示意图
5 技术要求
5.1 使用性能
5.1.1 使用环境
水下应急呼吸器应能在深度为0m~20m、温度为5℃~35℃的水下环境使用。
5.1.2 呼吸气体
除另有规定外,水下应急呼吸器一般使用空气作为呼吸气体,呼吸用的空气应符合GB18435的要求。
5.1.3 工作压力
水下应急呼吸器的气瓶中的空气压力应为2MPa~21 MPa;减压器的工作压力应为2MPa~21 MPa。
5.1.4 供气时间
当平均肺通气量为25L/min时,水下应急呼吸器的供气时间应不少于1.5min。
5.1.5 减压压力
当工作压力为21MPa时,水下应急呼吸器的减压器的输出压力应不大于0.9 MPa。
5.1.6 气密性
5.1.6.1 在21 MPa压力条件下,水下应急呼吸器的减压器高压腔各连接处不应有气体泄漏。
5.1.6.2 在0.9 MPa压力条件下,水下应急呼吸器的减压器减压腔及软管各连接处不应有气体泄漏。
5.1.6.3 水下应急呼吸器的减压器高压腔压力为21MPa时,未封堵的充气接嘴不应有气体泄漏。
5.1.7 减压器安全阀开启压力
减压器安全阀的开启流量为10L/min时,安全阀的开启压力应为1.15 MPa~1.7 MPa。
5.1.8 减压器供气流量
在地面条件下,当水下应急呼吸器的减压器输入压力为5MPa,输出压力为0.4MPa时,减压器输出的供气流量应不小于90L/min。
5.1.9 肺式活门机构气密性
5.1.9.1 有压力时肺式活门机构气密性
在地面条件下,当肺式活门机构入口压力为0.8 MPa~0.9MPa时,其漏气量应不大于0.5L/min。
5.1.9.2 负压时肺式活门机构气密性
在地面条件下,当肺式活门机构出口压力为-1.4kPa~-1.5kPa时,其渗气量应不大于1L/min。
5.1.10 肺式活门机构的吸气阻力
在地面条件下,当肺式活门机构的入口压力为0.75 MPa~0.85 MPa,出口吸气流量为2.5L/min±0.2 L/min时,其吸气阻力应为0.3kPa~1kPa;当肺式活门机构的入口压力为0.75 MPa~0.85 MPa,出口吸气流量为90L/min±5L/min时,其吸气阻力应不大于1.5 kPa。
5.1.11 肺式活门机构的呼气阻力
在地面条件下,当肺式活门机构的出口呼气流量为5L/min±0.2L/min时,其呼气阻力应不小于20 Pa;当肺式活门机构的出口呼气流量为100L/min±5L/min时,其呼气阻力应不大于400Pa。
5.1.12 尺寸
水下应急呼吸器各部件的外形尺寸应满足配套型号的救生衣的要求。
5.2 环境适应性
5.2.1 低温贮存
水下应急呼吸器在-55℃环境下贮存3h后,性能应符合5.1.5~5.1.11的要求。
5.2.2 高温贮存
水下应急呼吸器在85℃环境下贮存3h后,性能应符合5.1.5~5.1.11的要求。
5.2.3 低气压
水下应急呼吸器在气压按高度为10.7km对应的压力(23.7kPa)环境下贮存2h后,性能应符合5.1.5~5.1.11的要求。
5.2.4 温度冲击
水下应急呼吸器在进行55℃到-20℃、温度变化速率不小于2℃/min、2次循环的温度冲击试验后,性能应符合5.1.5~5.1.11的要求。
5.2.5 湿热
水下应急呼吸器在进行10d的湿热试验后,金属零件的防护层(除边缘和棱角外)腐蚀面积应在防护层总面积的20%以下,性能应符合5.1.5~5.1.11的要求。
5.2.6 盐雾
水下应急呼吸器在进行为时144h、48h喷雾和24h干燥交替进行的盐雾试验后,金属零件的防护层(边缘和棱角除外)腐蚀面积应小于防护层总面积的30%,性能应符合5.1.5~5.1.11的要求。
5.2.7 霉菌
水下应急呼吸器在进行28d的霉菌试验后,金属零件内外表面不应长霉,橡胶软管内表面不应长霉,外表面长霉等级应不超过2级。
以上为标准部分内容,如需看标准全文,请到相关授权网站购买标准正版。
- 2023-08-22欧宝网页版登录入口维修保养记录
- 2023-08-22欧宝网页版登录入口设施维修维护
- 2023-08-19欧宝网页版登录入口水池维修
- 2023-08-19欧宝网页版登录入口水炮维修
- 2023-08-19欧宝网页版登录入口线路维修
- 2023-08-19欧宝网页版登录入口维保服务系统
- 2023-08-19欧宝网页版登录入口主机维修维保大全
- 2023-08-19欧宝网页版登录入口维保作用
- 2023-08-18欧宝网页版登录入口维保工作联系单
- 2023-08-18欧宝网页版登录入口维保每年都要做吗
- 2023-08-18 欧宝网页版登录入口维保技术服务
- 2023-08-18欧宝网页版登录入口主板维修
- 2023-08-18欧宝网页版登录入口维保软件
- 2023-08-18欧宝网页版登录入口维保规章制度
- 2023-08-17欧宝网页版登录入口检测和维保
- 2023-08-17欧宝网页版登录入口维保检查
-
IG541混合气体灭火系统
IG541混合气体灭火系统:IG-541灭火系统采用的IG-541混合气体灭火剂是由大气层中的氮气(N2)、氩气(Ar)和二氧化碳(CO2)三种气体分别以52%、40%、8%的比例混合而成的一种灭火剂 -
二氧化碳气体灭火系统
二氧化碳气体灭火系统:二氧化碳气体灭火系统由瓶架、灭火剂瓶组、泄漏检测装置、容器阀、金属软管、单向阀(灭火剂管)、集流管、安全泄漏装置、选择阀、信号反馈装置、灭火剂输送管、喷嘴、驱动气体瓶组、电磁驱动 -
七氟丙烷灭火系统
七氟丙烷(HFC—227ea)灭火系统是一种高效能的灭火设备,其灭火剂HFC—ea是一种无色、无味、低毒性、绝缘性好、无二次污染的气体,对大气臭氧层的耗损潜能值(ODP)为零,是卤代烷1211、130 -
手提式干粉灭火器
手提式干粉灭火器适灭火时,可手提或肩扛灭火器快速奔赴火场,在距燃烧处5米左右,放下灭火器。如在室外,应选择在上风方向喷射。使用的干粉灭火器若是外挂式储压式的,操作者应一手紧握喷枪、另一手提起储气瓶上的


