GB/T 38309-2019 火灾烟气流毒性组分测试 FTIR分析火灾烟气中气体组分的指南
- 发表时间:2022-11-08
- 来源:共立欧宝网页版登录入口
- 人气:
1 范围
本标准规定了采用傅里叶变换红外光谱气体分析技术(FTIR)分析火灾烟气中一氧化碳(CO)、二氧化碳(CO2)、氰化氢(HCN)、氯化氢(HCD)、溴化氢(HBr)、一氧化氮(NO)、二氧化氮(NO2)和丙烯醛(CH2CHCHO)等气体组分的方法。
本标准适用于火灾烟气中各类气体组分的浓度分析,也适用于可采用FTIR技术分析的其他气体,包括氟化氢(HF)和二氧化硫(SO2)。
2 规范性引用文件
下列文件对于本文件的应用是必不可少的。凡是注日期的引用文件,仅注日期的版本适用于本文件。凡是不注日期的引用文件,其最新版本(包括所有的修改单)适用于本文件。
ISO 19701:2013 火灾烟气采样和分析方法(Methods for sampling and analysis of fire effluents)
3 术语和定义
下列术语和定义适用于本文件。
3.1
傅里叶变换红外光谱气体分析法 Fourier transform infra-red spectroscopy gas analysis;FTIR 使用数学计算傅里叶变换法来测量多组分气体浓度的红外光谱技术。
3.2
分辨率 resolution
光谱仪分辨两个相邻频率(或波数)的能力,要求两条谱带之间的间隔最少要为其中一条谱带强度的二分之一。
3.3
波数 wave number
波长的倒数。
注:单位为每厘米(cm-1)。
3.4
最低检测限 limit of detection
LD
在给定的可靠程度内可以从样品中检测待测物质的最小浓度。
注:单位为微升每升(μL/L)。
3.5
最低定量限 limit of quantification
Lo
样品中被测物质能被定量测定的最低浓度。
注:单位为微升每升(μL/L)。
4 原理
用于分析火灾烟气中气体组分的FTIR系统包括采样系统、气体池、红外光源、干涉仪、检测器以及用于数据处理的软件。
从采样系统(如烟道)取样或直接抽取被测烟气,烟气样品不断从加热的采样管线输送到加热的FTIR光谱仪气体池。红外光源发出的光束经过迈克尔逊干涉仪调制后形成干涉光束,干涉光束直接穿过气体池到达检测器,得到选定光谱范围内的干涉图,并通过傅里叶变换将干涉图转换为光谱图。对光谱进行分析计算可得到气体的浓度,连续采集谱图并进行分析计算就可得到被测气体的时间-浓度曲线。
5 采样系统
5.1 一般规定
本标准规定的采样系统同时适用于小尺寸、中尺寸和大尺寸火灾试验模型。附录C例举了两种典型的采样系统。
为避免人员中毒或污染仪器,从FTIR仪气体池排出的火灾烟气应通过安全途径排放。
5.2 火灾试验模型
选定的火灾试验模型应能反映火灾的特定阶段及场景。火灾试验模型的重现性和再现性符合相关试验要求。火灾试验模型包括:
——小尺寸火灾试验模型,例如管式炉材料产烟毒性评价试验;
——中尺寸火灾试验模型,例如建筑材料或制品的单体燃烧试验(SBI试验);
——大尺寸火灾试验模型,例如墙角火试验。
5.3 采样系统温度要求
应保持采样系统的温度不低于150℃且不高于190℃。
整个采样系统温度应保持相同且不得高于气体池温度。
5.4 过滤器
5.4.1 过滤器可放置在采样头和采样管线之间,也可放置在采样管线之后。过滤器应放置在加热部件中,工作温度不低于150℃。宜选用圆柱形过滤器,不宜选用平面过滤器。
5.4.2 酸性气体会被滤芯吸附,在酸性气体浓度很低时吸附作用会严重影响测试结果。需测定被滤芯吸附的酸性气体的量用于校正测试结果,测定方法见附录D。当需要计算燃烧中产生的气体的总浓度时,应将滤芯吸附的酸性气体量也加入进去。
5.4.3 当需要清洗滤芯来测量氯化氢的总浓度时需考虑有些滤芯本身含有氯。
5.5 采样头
5.5.1 一般规定
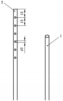
应按尽可能采集到有代表性的气体样品的原则选择采样头。可选择多孔和单孔采样头。不同类型采样头的样式见图1。

单位为毫米
说明:
1-单孔采样头;
2-多孔采样头。
注:内径为4mm的单孔采样头采样效果较好。
图1 火灾烟气采样头示意图
采样头应使用防腐蚀、防污染、不与烟气发生化学反应的材料制成。
应定期清洗采样头以防止采样孔堵塞。
5.5.2 单孔采样头
当火灾烟气流混合均匀时可使用单孔采样头。
对于有一定流速载气流通过的火灾试验模型(如GB/T 20285管式炉火灾试验模型),采样头抽取的烟气只占总烟气流的很小一部分,此种情况可使用单孔采样头。
单孔采样头的内径不得小于3mm。
5.5.3 多孔采样头
在火灾烟气流有分层现象出现时,应选择多孔采样头(如GB/T 20284建筑材料或制品的单体燃烧试验)。采样头的安装方向应与烟气流方向垂直,孔与烟气的流动方向相对。
推荐使用孔径不小于3mm的多孔采样头。
5.5.4 采样头安装
为了避免扰动烟气流,采样体积应远少于烟气流总体积(<25%)或采集全部烟气。
在小尺寸火灾试验模型中,宜采用单孔采样头。单孔采样头应安装在烟气混合均匀且没有湍流现象出现的地方。
在中、大尺寸火灾试验模型中宜采用多孔采样头,采样头应放置在与烟气流交叉的位置。
5.6 采样管线
采样管线应选用不与被测烟气发生化学反应的材料。宜选择聚四氟乙烯管(PTFE)、四氟乙烯-全氟烷氧基乙烯基醚共聚物管(PFA)和衬四氟不锈钢波纹管作为采样管线。
以上为标准部分内容,如需看标准全文,请到相关授权网站购买标准正版。
- 2023-08-22欧宝网页版登录入口维修保养记录
- 2023-08-22欧宝网页版登录入口设施维修维护
- 2023-08-19欧宝网页版登录入口水池维修
- 2023-08-19欧宝网页版登录入口水炮维修
- 2023-08-19欧宝网页版登录入口线路维修
- 2023-08-19欧宝网页版登录入口维保服务系统
- 2023-08-19欧宝网页版登录入口主机维修维保大全
- 2023-08-19欧宝网页版登录入口维保作用
- 2023-08-18欧宝网页版登录入口维保工作联系单
- 2023-08-18欧宝网页版登录入口维保每年都要做吗
- 2023-08-18 欧宝网页版登录入口维保技术服务
- 2023-08-18欧宝网页版登录入口主板维修
- 2023-08-18欧宝网页版登录入口维保软件
- 2023-08-18欧宝网页版登录入口维保规章制度
- 2023-08-17欧宝网页版登录入口检测和维保
- 2023-08-17欧宝网页版登录入口维保检查
-
IG541混合气体灭火系统
IG541混合气体灭火系统:IG-541灭火系统采用的IG-541混合气体灭火剂是由大气层中的氮气(N2)、氩气(Ar)和二氧化碳(CO2)三种气体分别以52%、40%、8%的比例混合而成的一种灭火剂 -
二氧化碳气体灭火系统
二氧化碳气体灭火系统:二氧化碳气体灭火系统由瓶架、灭火剂瓶组、泄漏检测装置、容器阀、金属软管、单向阀(灭火剂管)、集流管、安全泄漏装置、选择阀、信号反馈装置、灭火剂输送管、喷嘴、驱动气体瓶组、电磁驱动 -
七氟丙烷灭火系统
七氟丙烷(HFC—227ea)灭火系统是一种高效能的灭火设备,其灭火剂HFC—ea是一种无色、无味、低毒性、绝缘性好、无二次污染的气体,对大气臭氧层的耗损潜能值(ODP)为零,是卤代烷1211、130 -
手提式干粉灭火器
手提式干粉灭火器适灭火时,可手提或肩扛灭火器快速奔赴火场,在距燃烧处5米左右,放下灭火器。如在室外,应选择在上风方向喷射。使用的干粉灭火器若是外挂式储压式的,操作者应一手紧握喷枪、另一手提起储气瓶上的


