GB 14102-2005 防火卷帘
- 发表时间:2022-11-07
- 来源:共立欧宝网页版登录入口
- 人气:
1 范围
本标准规定了防火卷帘的定义、分类、要求、试验方法、检验规则、标志、包装、运输和贮存。
本标准适用于工业与民用建筑中具有防火、防烟功能的防火卷帘。
本标准规定的无机纤维复合防火卷帘仅适用于室内干燥通风的场所。
2 规范性引用文件
下列文件中的条款通过本标准的引用而成为本标准的条款。凡是注日期的引用文件,其随后所有的修改单(不包括勘误的内容)或修订版均不适用于本标准,然而,鼓励根据本标准达成协议的各方研究是否可使用这些文件的最新版本。凡是不注日期的引用文件,其最新版本适用于本标准。
GB/T 1243 短节距传动用精密滚子链和链轮(GB/T 1243-1997,eqv ISO 606:1994)
GB/T 2828.1 计数抽样检验程序 第1部分:按接收质量限(AQL)检索的逐批抽样检验计划(GB/T 2828.1-2003,ISO 2859-1:1999,IDT)
GB/T 3923.1 纺织品 织物拉伸性能 第1部分:断裂强力和断裂伸长率的测定 条样法(GB/T 3923.1-1997,neq ISO/DIS 13934-1:1994)
GB 4717-1993 火灾报警控制器通用技术条件
GB/T 5454 纺织品 燃烧性能试验 氧指数法(GB/T 5454-1997,neq ISO 4589:1984)
GB/T 5455 纺织品 燃烧性能试验 垂直法
GB/T 5464 建筑材料不燃性试验方法(GB/T 5464-1999,idt ISO 1182:1990)
GB/T 7633 门和卷帘的耐火试验方法(GB/T 7633-1987,eqv ISO 3008:1976)
GB 8624-1997 建筑材料燃烧性能分级方法
GB 9969.1 工业产品使用说明书 总则
GB/T 14436 工业产品保证文件 总则
GB 15930-1995 防火阀试验方法
3 术语和定义
下列术语和定义适用于本标准。
3.1
钢质防火卷帘 steel fire resistant shutter
指用钢质材料做帘板、导轨、座板、门楣、箱体等,并配以卷门机和控制箱所组成的能符合耐火完整性要求的卷帘。
3.2
无机纤维复合防火卷帘 mineal fibre compositus fire resistant shutter
指用无机纤维材料做帘面(内配不锈钢丝或不锈钢丝绳),用钢质材料做夹板、导轨、座板、门楣、箱体等,并配以卷门机和控制箱所组成的能符合耐火完整性要求的卷帘。
3.3
特级防火卷帘 special type fire resistant shutter
指用钢质材料或无机纤维材料做帘面,用钢质材料做导轨、座板、夹板、门楣、箱体等,并配以卷门机和控制箱所组成的能符合耐火完整性、隔热性和防烟性能要求的卷帘。
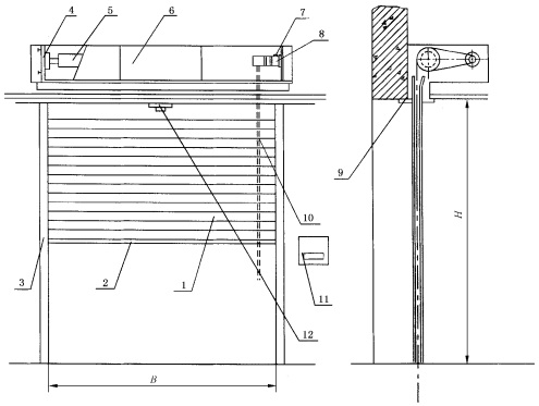
4 结构示意图、名称符号、代号
4.1 结构示意图
结构示意图及各零部件名称见图1。

1-帘面;
2-座板;
3-导轨;
4-支座;
5-卷轴:
6-箱体:
7-限位器;
8-卷门机;
9-门楣;
10-手动拉链:
11-控制箱(按钮盒);
12-感温、感烟探测器。
图1 防火卷帘结构示意图
注:防火卷帘的结构有多种形式,此图仅是示例。
4.2 名称符号
4.2.1 钢质防火卷帘的名称符号为GFJ。
4.2.2 无机纤维复合防火卷帘的名称符号为WFJ。
4.2.3 特级防火卷帘的名称符号为TFJ。
4.3 代号
防火卷帘的代号表示为

注1:防火卷帘的帘面数量为一个时,代号中帘面间距无要求。
注2:防火卷帘为无机纤维复合防火卷帘时,代号中耐风压强度无要求。
注3:钢质防火卷帘在室内使用,无抗风压要求时,代号中耐风压强度无要求。
注4:特级防火卷帘在名称符号后加字母G、W、S和Q,表示特级防火卷帘的结构特征。其中G表示帘面由钢质材料制作:W表示帘面由无机纤维材料制作;S表示帘面两侧带有独立的闭式自动喷水保护;Q表示帘面为其他结构型式。
示例1:GFJ-300300-F2-C,-D-80表示洞口宽度为300cm,高度为300cm,耐火极限不小于2.00h,启闭方式为垂直卷,帘面数量为一个,耐风压强度为80型的钢质防火卷帘。
示例2:TFJ(W)-300300-TF3-C,-S-240表示帘面由无机纤维制造,洞口宽度为300cm,高度为300cm,耐火极限不小于3.00h,启闭方式为垂直卷,帘面数量为两个,帘面间距为240mm的特级防火卷帘。
4.4 防火卷帘规格(洞口尺寸)
防火卷帘规格用洞口尺寸(洞口宽度x洞口高度;单位cm)表示。
5 分类
5.1 按耐风压强度分类见表1。
表1 按耐风压强度分类
代号 | 耐风压强度/Pa |
50 | 490 |
80 | 784 |
120 | 1177 |
5.2 按帘面数量分类见表2。
表2 按帘面数量分类
代号 | 帘面数量 |
D | 1个 |
S | 2个 |
以上为标准部分内容,如需看标准全文,请到相关授权网站购买标准正版。
- 2023-08-22欧宝网页版登录入口维修保养记录
- 2023-08-22欧宝网页版登录入口设施维修维护
- 2023-08-19欧宝网页版登录入口水池维修
- 2023-08-19欧宝网页版登录入口水炮维修
- 2023-08-19欧宝网页版登录入口线路维修
- 2023-08-19欧宝网页版登录入口维保服务系统
- 2023-08-19欧宝网页版登录入口主机维修维保大全
- 2023-08-19欧宝网页版登录入口维保作用
- 2023-08-18欧宝网页版登录入口维保工作联系单
- 2023-08-18欧宝网页版登录入口维保每年都要做吗
- 2023-08-18 欧宝网页版登录入口维保技术服务
- 2023-08-18欧宝网页版登录入口主板维修
- 2023-08-18欧宝网页版登录入口维保软件
- 2023-08-18欧宝网页版登录入口维保规章制度
- 2023-08-17欧宝网页版登录入口检测和维保
- 2023-08-17欧宝网页版登录入口维保检查
-
IG541混合气体灭火系统
IG541混合气体灭火系统:IG-541灭火系统采用的IG-541混合气体灭火剂是由大气层中的氮气(N2)、氩气(Ar)和二氧化碳(CO2)三种气体分别以52%、40%、8%的比例混合而成的一种灭火剂 -
二氧化碳气体灭火系统
二氧化碳气体灭火系统:二氧化碳气体灭火系统由瓶架、灭火剂瓶组、泄漏检测装置、容器阀、金属软管、单向阀(灭火剂管)、集流管、安全泄漏装置、选择阀、信号反馈装置、灭火剂输送管、喷嘴、驱动气体瓶组、电磁驱动 -
七氟丙烷灭火系统
七氟丙烷(HFC—227ea)灭火系统是一种高效能的灭火设备,其灭火剂HFC—ea是一种无色、无味、低毒性、绝缘性好、无二次污染的气体,对大气臭氧层的耗损潜能值(ODP)为零,是卤代烷1211、130 -
手提式干粉灭火器
手提式干粉灭火器适灭火时,可手提或肩扛灭火器快速奔赴火场,在距燃烧处5米左右,放下灭火器。如在室外,应选择在上风方向喷射。使用的干粉灭火器若是外挂式储压式的,操作者应一手紧握喷枪、另一手提起储气瓶上的


