GB/T 23913.5-2009 复合岩棉板耐火舱室 第5部分:塑料装饰件
- 发表时间:2022-11-07
- 来源:共立欧宝网页版登录入口
- 人气:
1 范围
GB/T 23913的本部分规定了复合岩棉板耐火舱室中塑料装饰件的型式、要求、试验方法和检验规则等。
本部分适用于船舶和海洋工程建筑物上具有耐火分隔要求的舱室和生活模块中塑料装饰件的设计、制造和验收。
2 规范性引用文件
下列文件中的条款通过GB/T 23913的本部分的引用而成为本部分的条款。凡是注日期的引用文件,其随后所有的修改单(不包括勘误的内容)或修订版均不适用于本部分,然而,鼓励根据本部分达成协议的各方研究是否可使用这些文件的最新版本。凡是不注日期的引用文件,其最新版本适用于本部分。
GB/T 1033.1 塑料 非泡沫塑料密度的测定 第1部分:浸渍法、液体比重瓶法和滴定法(GB/T 1033.1-2008,ISO 1183-1:2004,IDT)
GB/T 4454-1996 硬质聚氯乙烯层压板材
GB/T 6388 运输包装收发货标志
QB/T 1650-1992 硬质聚氯乙烯泡沫塑料板材
3 分类和标记
3.1 分类
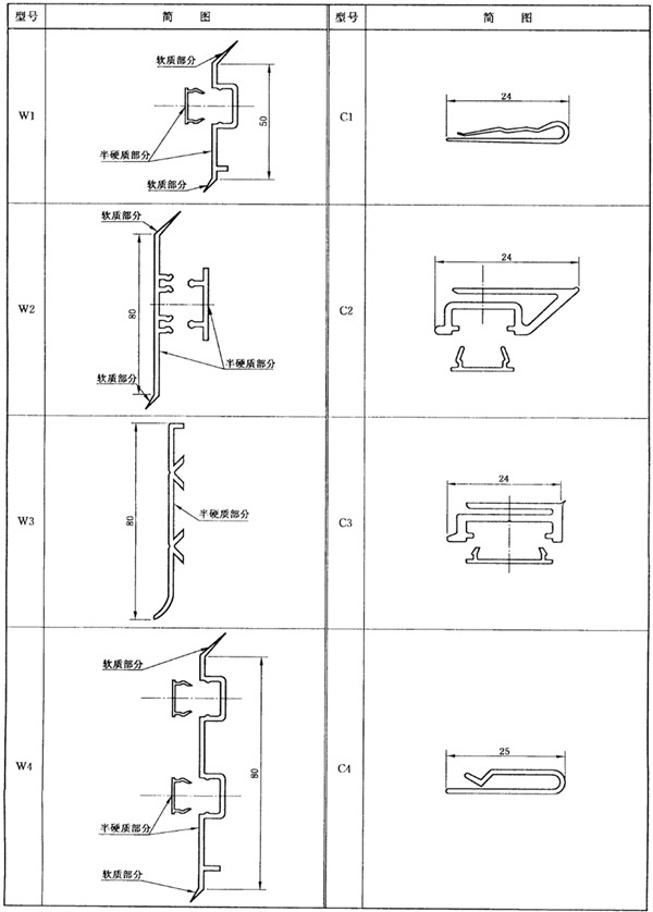
塑料装饰件按照用途分为踢脚板和天花板嵌条两种。
3.2 结构和基本尺寸
塑料装饰件的典型结构和基本尺寸见表1。
3.3 标记
3.3.1 型号表示方法
塑料装饰件的型号表示方法如下:

3.3.2 标记示例
示例1:1型踢脚板标记为:
塑料装饰件 GB/T 23913.5-2009 W1
示例2:1型天花板嵌条标记为:
塑料装饰件 GB/T 23913.5-2009 C1
表1 塑料装饰件的典型结构和基本尺寸 单位为毫米

4 要求
4.1 材料
塑料装饰件的基材采用聚氯乙烯树脂或其他等效材料。
4.2 外观
塑料装饰件表面不应有色差,不应有裂缝、气泡和未分散的辅料。踢脚板半硬质部分和软质部分之间允许有轻微色差,但半硬质部分和软质部分交界处应成一直线,不应有流挂现象。
4.3 性能
塑料装饰件的理化性能见表2。
表2 塑料装饰件的理化性能
项 目 | 性 能 | |
密度/(kg/m2) | 1 200~1 500 | |
拉伸强度(纵、横向)/MPa | ≥38 | |
140℃加热尺寸变化率 | 纵向/% | ≤6 |
横向/% | ≤4 | |
耐低温性 | -30℃时不龟裂 | |
自熄性 | 离开火源即熄灭,不阴燃,不蔓延 | |
5 试验方法
5.1 材料
用检查材质证明书的方法检验塑料装饰件的材料。结果应符合4.1的要求。
5.2 外观
在自然光线下目测并结合手摸的方法检验塑料装饰件的外观质量。结果应符合4.2的要求。
5.3 性能
5.3.1 塑料装饰件的密度按GB/T1033.1规定的方法进行检验。结果应符合4.3的要求。
5.3.2 塑料装饰件的拉伸强度按GB/T 4454-1996中5.3.4规定的方法进行检验。结果应符合4.3的要求。
5.3.3 塑料装饰件的140℃加热尺寸变化率按GB/T 4454-1996中5.3.7规定的方法进行检验。结果应符合4.3的要求。
5.3.4 塑料装饰件的耐低温性按QB/T 1650-1992中5.4.12规定的方法进行检验。结果应符合4.3的要求。
5.3.5 塑料装饰件的自熄性按QB/T 1650-1992中5.3.9规定的方法进行检验。结果应符合4.3的要求。
6 检验规则
6.1 检验分类
本标准规定的检验分类如下:
a)型式检验;
b)出厂检验。
6.2 型式检验
6.2.1 检验时机
塑料装饰件有下列情况之一时,应进行型式检验:
以上为标准部分内容,如需看标准全文,请到相关授权网站购买标准正版。
- 2023-08-22欧宝网页版登录入口维修保养记录
- 2023-08-22欧宝网页版登录入口设施维修维护
- 2023-08-19欧宝网页版登录入口水池维修
- 2023-08-19欧宝网页版登录入口水炮维修
- 2023-08-19欧宝网页版登录入口线路维修
- 2023-08-19欧宝网页版登录入口维保服务系统
- 2023-08-19欧宝网页版登录入口主机维修维保大全
- 2023-08-19欧宝网页版登录入口维保作用
- 2023-08-18欧宝网页版登录入口维保工作联系单
- 2023-08-18欧宝网页版登录入口维保每年都要做吗
- 2023-08-18 欧宝网页版登录入口维保技术服务
- 2023-08-18欧宝网页版登录入口主板维修
- 2023-08-18欧宝网页版登录入口维保软件
- 2023-08-18欧宝网页版登录入口维保规章制度
- 2023-08-17欧宝网页版登录入口检测和维保
- 2023-08-17欧宝网页版登录入口维保检查
-
IG541混合气体灭火系统
IG541混合气体灭火系统:IG-541灭火系统采用的IG-541混合气体灭火剂是由大气层中的氮气(N2)、氩气(Ar)和二氧化碳(CO2)三种气体分别以52%、40%、8%的比例混合而成的一种灭火剂 -
二氧化碳气体灭火系统
二氧化碳气体灭火系统:二氧化碳气体灭火系统由瓶架、灭火剂瓶组、泄漏检测装置、容器阀、金属软管、单向阀(灭火剂管)、集流管、安全泄漏装置、选择阀、信号反馈装置、灭火剂输送管、喷嘴、驱动气体瓶组、电磁驱动 -
七氟丙烷灭火系统
七氟丙烷(HFC—227ea)灭火系统是一种高效能的灭火设备,其灭火剂HFC—ea是一种无色、无味、低毒性、绝缘性好、无二次污染的气体,对大气臭氧层的耗损潜能值(ODP)为零,是卤代烷1211、130 -
手提式干粉灭火器
手提式干粉灭火器适灭火时,可手提或肩扛灭火器快速奔赴火场,在距燃烧处5米左右,放下灭火器。如在室外,应选择在上风方向喷射。使用的干粉灭火器若是外挂式储压式的,操作者应一手紧握喷枪、另一手提起储气瓶上的


