GB/T 20450-2006 活性炭着火点测试方法
- 发表时间:2022-12-28
- 来源:共立欧宝网页版登录入口
- 人气:
1 范围
本标准规定了粒状活性炭在流动空气中参考着火点的测定。
本标准试验方法测定的着火点并非活性炭在具体用途的操作条件下可能发生的着火点。
本标准适用于木质、煤质粒状活性炭。
本标准无意指明与活性炭使用有关的可能有的所有安全问题。
2 规范性引用文件
下列文件中的条款通过本标准的引用而成为本标准的条款。凡是注日期的引用文件,其随后所有的修改单(不包括勘误的内容)或修订版均不适用于本标准,然而,鼓励根据本标准达成协议的各方研究是否可使用这些文件的最新版本。凡是不注日期的引用文件,其最新版本适用于本标准。
GB/T 12496.2 木质活性炭试验方法 粒度的测定
3 术语和定义
下列术语和定义适用于本标准。
3.1
着火点 ignition temperature(T)
规定条件下活性炭自发发生燃烧的最低温度。
4 方法提要
把活性炭试样暴露在加热的空气流中,空气流温度慢慢升高,直至炭样着火。记录炭层和进入炭层空气的温度,当炭层温度突然上升超过进入炭层的空气的温度时的温度点,即定为此试样的着火点。
5 仪器及设备
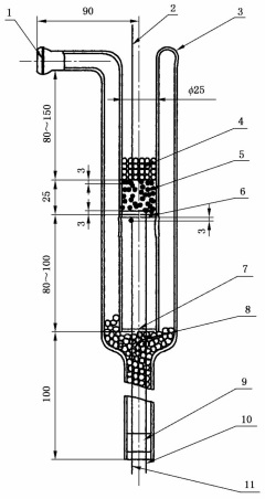
5.1 石英燃烧管,如图1所示。
5.2 热电偶,WREK-112K 1.5×50,3只。
5.3 洁净干燥的空气源,流量范围(0~20)L/min。
5.4 转子流量计,流量范围(0~20)L/min,1只。
5.5 调压器(或程序升温器)。
5.6 加热套。
5.7 氮气源。
5.8 石英珠或石英砂,d=2mm~4mm。
5.9 筛子,2只,筛眼直径150μm。
5.10 自动平衡记录仪,XWF-100K(0-600),3台。
5.11 气体干燥瓶,1000mL,2只,分别装入适量的活性炭、硅胶。

1——球形接头;
2——热电偶T-2;
3——石英套;
4——挡炭石英珠;
5——活性炭样品;
6——石英多孔圆片90μm~150μm小孔;
7——多孔石英圆片;
8——石英珠填料;
9——挡珠塞;
10——热电偶T-1;
11——热电偶T-3。
图1 石英燃烧管
6 危险性
6.1 着火时炭层温度会急剧升高,为了在出现突然升温时灭火,应有操作人员在实验现场,适当供给氮气,在所有热电偶显示温度明显低于着火点后方可切断氮气流。
6.2 已使用过的活性炭或浸泽炭可能有毒,建议在通风橱内做试验。
7 安装
将各部件按如图2所示安装好。

1——空气源;
2——空气干燥器;
3——活性炭吸附瓶;
4——流量计:
5——空气开关;
6——氮气开关;
7——氮气瓶;
8——加热套;
9——热电偶T-2;
10——石英燃烧管;
11——样品:
12——电加热丝;
13——热电偶T-1;
14——热电偶T-3。
图2 着火点测试装置
8 样品预处理
取大约35mL活性炭样品,按照GB/T 12496.2中的方法放入试验筛中除去炭粉,备用。
9 测试程序
将试样装填燃烧管至(25±1)mm的高度,炭层上部覆盖至少15mm以上的石英砂,以防止炭层流态化。
打开空气开关,以20L/min流量的干燥洁净的空气吹扫炭层30 min。
将空气流量调节至(14.7±0.3)L/min,调节调压器(或程序升温器),使通入样品的空气流以大约10℃/min的速度升温至空气温度达到大约150℃;或空气温度低于样品预计着火点大约50℃时,调节调压器(或程序升温器),减小空气升温速度至2℃/min~3℃/min。
保持 ℃/min~3℃/min的升温速度,直到热电偶T-1或T-2测量出的温度突然上升已达到着火点时为止。
着火后立即切断空气流并通氮气灭火。
10 结果计算
10.1 自动平衡记录仪根据热电偶的输出以时间为横轴、温度为纵轴绘出热电偶T-1和T-2所测得的温度与时间的关系曲线。图3(以热电偶T-1先显示着火)为示例。
10.2 取急剧升温前的温度曲线的延长线与急剧升温后的曲线的延长线的交点作为着火点。着火点精确至整数。
按T-1、T-2曲线可计算出两个着火点,以先显示着火的热电偶温度曲线所做出的点作为该试样的着火点。

图3 时间-温度关系曲线
11 精密度与误差
两个平行试样测定结果相对标准偏差不大于3%。
以上为标准部分内容,如需看标准全文,请到相关授权网站购买标准正版。
- 2023-08-22欧宝网页版登录入口维修保养记录
- 2023-08-22欧宝网页版登录入口设施维修维护
- 2023-08-19欧宝网页版登录入口水池维修
- 2023-08-19欧宝网页版登录入口水炮维修
- 2023-08-19欧宝网页版登录入口线路维修
- 2023-08-19欧宝网页版登录入口维保服务系统
- 2023-08-19欧宝网页版登录入口主机维修维保大全
- 2023-08-19欧宝网页版登录入口维保作用
- 2023-08-18欧宝网页版登录入口维保工作联系单
- 2023-08-18欧宝网页版登录入口维保每年都要做吗
- 2023-08-18 欧宝网页版登录入口维保技术服务
- 2023-08-18欧宝网页版登录入口主板维修
- 2023-08-18欧宝网页版登录入口维保软件
- 2023-08-18欧宝网页版登录入口维保规章制度
- 2023-08-17欧宝网页版登录入口检测和维保
- 2023-08-17欧宝网页版登录入口维保检查
-
IG541混合气体灭火系统
IG541混合气体灭火系统:IG-541灭火系统采用的IG-541混合气体灭火剂是由大气层中的氮气(N2)、氩气(Ar)和二氧化碳(CO2)三种气体分别以52%、40%、8%的比例混合而成的一种灭火剂 -
二氧化碳气体灭火系统
二氧化碳气体灭火系统:二氧化碳气体灭火系统由瓶架、灭火剂瓶组、泄漏检测装置、容器阀、金属软管、单向阀(灭火剂管)、集流管、安全泄漏装置、选择阀、信号反馈装置、灭火剂输送管、喷嘴、驱动气体瓶组、电磁驱动 -
七氟丙烷灭火系统
七氟丙烷(HFC—227ea)灭火系统是一种高效能的灭火设备,其灭火剂HFC—ea是一种无色、无味、低毒性、绝缘性好、无二次污染的气体,对大气臭氧层的耗损潜能值(ODP)为零,是卤代烷1211、130 -
手提式干粉灭火器
手提式干粉灭火器适灭火时,可手提或肩扛灭火器快速奔赴火场,在距燃烧处5米左右,放下灭火器。如在室外,应选择在上风方向喷射。使用的干粉灭火器若是外挂式储压式的,操作者应一手紧握喷枪、另一手提起储气瓶上的


