GB/T 12513-2006 镶玻璃构件耐火试验方法
- 发表时间:2022-12-29
- 来源:共立欧宝网页版登录入口
- 人气:
注意
执行本项试验的所有工作人员都应注意,耐火试验有可能对人身造成伤害。耐火试验过程中,可能会产生有毒或有害的烟尘和烟气。在试件的安装过程、试验过程和试验后试件的清理过程中,均有可能出现机械性伤害和操作性危险。
试验前要对所有潜在的危险及对健康的危害进行分析,并作出安全预告。对相关人员进行必要的培训。实验室工作人员应严格按照安全操作规程进行操作。
1 范围
本标准规定了隔热性镶玻璃构件和非隔热性镶玻璃构件当其一面受火时的耐火试验方法和耐火性能判定准则。
本标准适用于各种镶玻璃构件的耐火试验,如玻璃幕墙、玻璃隔墙等垂直、倾斜或水平安装的镶玻璃构件。
2 规范性引用文件
下列文件中的条款通过本标准的引用而成为本标准的条款。凡是注日期的引用文件,其随后所有的修改单(不包括勘误的内容)或修订版均不适用于本标准,然而,鼓励根据本标准达成协议的各方研究是否可使用这些文件的最新版本。凡是不注日期的引用文件,其最新版本适用于本标准。
GB/T 9775 纸面石膏板(GB/T 9775-1999,eqv ISO 6308:1980)
GB/T 9978 建筑构件耐火试验力法[GB/T 9978-1999,neq ISO/FDIS 834-1:1997(E)]
3 术语和定义
下列术语和定义适用于本标准。
3.1
长宽比 aspect ratio
玻璃的受火长边与受火短边的比值。
3.2
安装间隙 expansion allowance
玻璃在玻璃框之间允许的膨胀尺寸,见图1的8。
注1:安装间隙应分别测量两个方向,如对垂直构件应分别测量高度方向和宽度方向的安装间隙。
3.3
镶嵌玻璃深度 glass edge cover
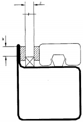
玻璃镶嵌在玻璃框中的深度,见图2的w。
3.4
镶玻璃构件 glazed element
由一块或几块透明或半透明玻璃镶嵌在玻璃框中而组成的分隔构件。
3.5
倾斜度 inclination
相对于水平面的安装角度(从0°到90°)。

x1——玻璃受火宽度; y——玻璃框内口宽度;
x2——玻璃受火高度; y2——玻璃框内口高度;
Z1——实际玻璃宽度; σ——安装间隙。
Z2——实际玻璃高度;
图1 镶玻璃构件立面示意图

z——玻璃厚度;
w——镶嵌玻璃深度。
图2 镶玻璃构件局部剖面示意图
3.6
水平镶玻璃构件 horizontal glazed element
倾斜度大于等于0°小于等于25°的镶玻璃构件。
3.7
倾斜镶玻璃构件 inclined glazed element
倾斜度大于25°小于等于80°的镶玻璃构件。
3.8
垂直镶玻璃构件 vertical glazed element
倾斜度大于80°小于等于90°的镶玻璃构件。
3.9
隔热性镶玻璃构件 insulated glazed element
在一定时间内能同时满足耐火完整性和耐火隔热性要求的镶玻璃构件。
3.10
非隔热性镶玻璃构件 uninsulated glazed element
在一定时间内能满足耐火完整性要求,若需要还能满足热通量要求,但不能满足耐火隔热性要求的镶玻璃构件。
3.11
辅助结构 associated construction
在实际使用中安装镶玻璃构件的已知阻燃等级和热传导等级的结构。
3.12
支承结构 supporting construction
镶玻璃构件进行试验时,安装试件可能需要的支架结构。
4 试验装置
4.1 耐火试验炉应满足GB/T 9978的要求。
4.2 垂直镶玻璃构件在竖炉上进行耐火试验。
4.3 水平镶玻璃构件在水平炉上进行耐火试验。
4.4 倾斜镶玻璃构件应根据实际可能的受火条件,选用竖炉或水平炉进行耐火试验。为便于倾斜镶玻璃构件的安装,对试验炉进行的改造应不影响炉体的热性能。倾斜镶玻璃构件的安装见图3。

1——试验炉;
2——玻璃;
3——玻璃框;
4——支撑结构;
5——试验炉内衬;
6——试验炉延伸部分;
7——试验炉延伸部分的支承。
注:试验炉延伸部分的热性能参数应与试验炉的相同。
图3 倾斜镶玻璃构件安装示意图
以上为标准部分内容,如需看标准全文,请到相关授权网站购买标准正版。
- 2023-08-22欧宝网页版登录入口维修保养记录
- 2023-08-22欧宝网页版登录入口设施维修维护
- 2023-08-19欧宝网页版登录入口水池维修
- 2023-08-19欧宝网页版登录入口水炮维修
- 2023-08-19欧宝网页版登录入口线路维修
- 2023-08-19欧宝网页版登录入口维保服务系统
- 2023-08-19欧宝网页版登录入口主机维修维保大全
- 2023-08-19欧宝网页版登录入口维保作用
- 2023-08-18欧宝网页版登录入口维保工作联系单
- 2023-08-18欧宝网页版登录入口维保每年都要做吗
- 2023-08-18 欧宝网页版登录入口维保技术服务
- 2023-08-18欧宝网页版登录入口主板维修
- 2023-08-18欧宝网页版登录入口维保软件
- 2023-08-18欧宝网页版登录入口维保规章制度
- 2023-08-17欧宝网页版登录入口检测和维保
- 2023-08-17欧宝网页版登录入口维保检查
-
IG541混合气体灭火系统
IG541混合气体灭火系统:IG-541灭火系统采用的IG-541混合气体灭火剂是由大气层中的氮气(N2)、氩气(Ar)和二氧化碳(CO2)三种气体分别以52%、40%、8%的比例混合而成的一种灭火剂 -
二氧化碳气体灭火系统
二氧化碳气体灭火系统:二氧化碳气体灭火系统由瓶架、灭火剂瓶组、泄漏检测装置、容器阀、金属软管、单向阀(灭火剂管)、集流管、安全泄漏装置、选择阀、信号反馈装置、灭火剂输送管、喷嘴、驱动气体瓶组、电磁驱动 -
七氟丙烷灭火系统
七氟丙烷(HFC—227ea)灭火系统是一种高效能的灭火设备,其灭火剂HFC—ea是一种无色、无味、低毒性、绝缘性好、无二次污染的气体,对大气臭氧层的耗损潜能值(ODP)为零,是卤代烷1211、130 -
手提式干粉灭火器
手提式干粉灭火器适灭火时,可手提或肩扛灭火器快速奔赴火场,在距燃烧处5米左右,放下灭火器。如在室外,应选择在上风方向喷射。使用的干粉灭火器若是外挂式储压式的,操作者应一手紧握喷枪、另一手提起储气瓶上的


