GB/T 5989-2008 耐火材料 荷重软化温度试验方法 示差升温法
- 发表时间:2022-12-21
- 来源:共立欧宝网页版登录入口
- 人气:
1 范围
本标准规定了示差法测定致密和隔热定形耐火材料在恒定压力下按规定的制度升温而产生变形(荷重软化温度)的方法。本试验最高温度可进行到1700℃。
2 规范性引用文件
下列文件中的条款通过本标准的引用而成为本标准的条款。凡是注日期的引用文件,其随后所有的修改单(不包括勘误的内容)或修订版均不适用于本标准,然而,鼓励根据本标准达成协议的各方研究是否可使用这些文件的最新版本。凡是不注日期的引用文件,其最新版本适用于本标准。
GB/T 1214.2 游标类卡尺 游标卡尺
GB/T 16839.1 热电偶 第1部分:分度表(GB/T 16839.1-1997,idt IEC 60584-1:1995)
GB/T 16839.2 热电偶 第2部分:允差(GB/T 16839.2-1997,idt IEC 60584-2:1982)
3 术语和定义
本标准采用下列术语和定义。
3.1
荷重软化温度 refractoriness-under-load
耐火材料在规定的升温条件下,承受恒定荷载产生规定变形时的温度。
4 原理
圆柱体试样在规定的恒定载荷和升温速率下加热,直到其产生规定的压缩形变,记录升温时试样的形变,测定在产生规定形变量时的相应温度。
5 设备
5.1 加荷装置
5.1.1 概述
加荷装置应能在整个试验过程中沿加压棒、试样和支承棒的公共轴心线垂直施加压力,加荷装置的具体组成见5.1.2~5.1.4。
恒定载荷竖直向下直接施加于试样上面或间接的通过固定的支承棒施加于试样上面,试样的形变由通过加压棒或支承棒中心的测量装置来测量。
图1和图2示出的测量装置通过支承棒中心位于系统下放。也可将带通孔的支承棒和垫片与不带通孔的支承棒和垫片交换位置,测量装置通过加压棒位于系统上方,如图3所示。
尽管本标准给出了两种装置,但测量装置在整个设备下方则更为可取,如图2所示。原因见附录A。
5.1.2 支承棒
直径至少45mm,并带有轴向孔(见5.1.5)。
5.1.3 加压棒
直径至少45mm。
注:上部的加压棒可以固定在炉子上,炉子和加压棒构成可移动的加荷装置。

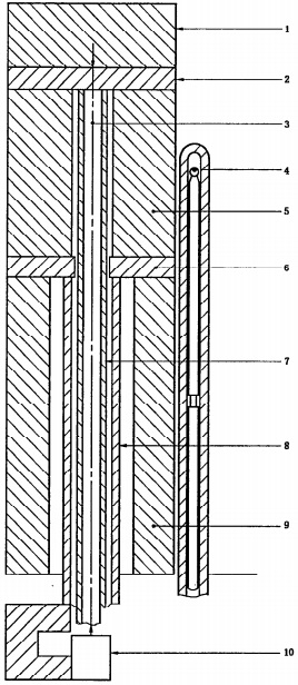
1——加压棒(5.1.3),外径至少45mm*;
2——上垫片(5.1.4),外径至少50.5mm;
3——铂铑垫片,外径50.5mm*,内径12mm;
4——试样(6.1),外径50±0.5mm,内径最小12mm,最大13mm;
5——铂铑垫片,外径50.5mm*,内径10mm;
6——下垫片(5.1.4),外径50.5mm*,内径10mm;
7——支承棒(5.1.2),外径至少45mm,内径至少20mm;
8——内刚玉管(5.3.2),外径8mm*,内径5mm*;
9——中心热电偶(5.4.1);
10——外刚玉管(5.3.1),外径15mm*,内径10mm*.
注:带*的为典型尺寸。
图1 试样、压棒、垫片及刚玉管安装示意图

1——加压棒;
2——垫片;
3——中心热电偶;
4——控温热电偶;
5——试样;
6——垫片;
7——内刚玉管;
8——外刚玉管;
9——支承棒;
10——测量仪器。
图2 试验装置——测量系统在试样下方
以上为标准部分内容,如需看标准全文,请到相关授权网站购买标准正版。
- 2023-08-22欧宝网页版登录入口维修保养记录
- 2023-08-22欧宝网页版登录入口设施维修维护
- 2023-08-19欧宝网页版登录入口水池维修
- 2023-08-19欧宝网页版登录入口水炮维修
- 2023-08-19欧宝网页版登录入口线路维修
- 2023-08-19欧宝网页版登录入口维保服务系统
- 2023-08-19欧宝网页版登录入口主机维修维保大全
- 2023-08-19欧宝网页版登录入口维保作用
- 2023-08-18欧宝网页版登录入口维保工作联系单
- 2023-08-18欧宝网页版登录入口维保每年都要做吗
- 2023-08-18 欧宝网页版登录入口维保技术服务
- 2023-08-18欧宝网页版登录入口主板维修
- 2023-08-18欧宝网页版登录入口维保软件
- 2023-08-18欧宝网页版登录入口维保规章制度
- 2023-08-17欧宝网页版登录入口检测和维保
- 2023-08-17欧宝网页版登录入口维保检查
-
IG541混合气体灭火系统
IG541混合气体灭火系统:IG-541灭火系统采用的IG-541混合气体灭火剂是由大气层中的氮气(N2)、氩气(Ar)和二氧化碳(CO2)三种气体分别以52%、40%、8%的比例混合而成的一种灭火剂 -
二氧化碳气体灭火系统
二氧化碳气体灭火系统:二氧化碳气体灭火系统由瓶架、灭火剂瓶组、泄漏检测装置、容器阀、金属软管、单向阀(灭火剂管)、集流管、安全泄漏装置、选择阀、信号反馈装置、灭火剂输送管、喷嘴、驱动气体瓶组、电磁驱动 -
七氟丙烷灭火系统
七氟丙烷(HFC—227ea)灭火系统是一种高效能的灭火设备,其灭火剂HFC—ea是一种无色、无味、低毒性、绝缘性好、无二次污染的气体,对大气臭氧层的耗损潜能值(ODP)为零,是卤代烷1211、130 -
手提式干粉灭火器
手提式干粉灭火器适灭火时,可手提或肩扛灭火器快速奔赴火场,在距燃烧处5米左右,放下灭火器。如在室外,应选择在上风方向喷射。使用的干粉灭火器若是外挂式储压式的,操作者应一手紧握喷枪、另一手提起储气瓶上的


