GB/T 14983-2008 耐火材料 抗碱性试验方法
- 发表时间:2022-12-18
- 来源:共立欧宝网页版登录入口
- 人气:
1 范围
本标准规定了耐火材料抗碱性试验方法的原理、设备、试样、试验程序、结果评定及试验报告。
本标准适用于耐火材料抗碱性的测定。
2 规范性引用文件
下列文件中的条款通过本标准的引用而成为本标准的条款。凡是注日期的引用文件,其随后所有的修改单(不包括勘误的内容)或修订版均不适用于本标准,然而,鼓励根据本标准达成协议的各方研究是否可使用这些文件的最新版本。凡是不注日期的引用文件,其最新版本适用于本标准。
GB/T 5072 耐火材料 常温耐压强度试验方法
GB/T 7321 定形耐火制品试样制备方法
GB/T 8170 数值修约规则
GB/T 10325 定形耐火制品抽样验收规则
GB/T 16839.1 热电偶 第1部分分
GB/T 16839.2 热电偶 第2部分 允差
GB/T 17617 耐火原料和不定形耐火材料 取样
GB/T 18930 耐火材料术语
3 术语和定义
GB/T 18930确立的术语和定义适用于本标准。
4 方法1(碱蒸气法)
本方法适用于定形耐火制品抗碱性的测定。
4.1 原理
在1100℃温度下,碳酸钾(K2CO3)与木炭反应生成碱蒸气,对耐火材料试样发生侵蚀作用,生成新的碱金属的硅酸盐和碳酸盐化合物,使材料性能发生变化。
4.2 设备和材料
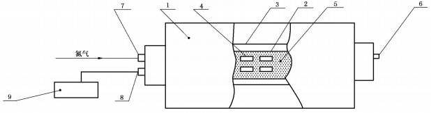
4.2.1 试验炉,卧式抗碱试验加热炉(见图1),最高加热温度为1300℃,炉膛直径不小于110mm,保温期间恒温区长度不小于100mm,温差不大于±10℃。
4.2.2 温度测量及控制装置
4.2.2.1 温度测量用带保护套管的热电偶。热电偶应符合GB/T 16839.1和GB/T 16839.2的要求。
4.2.2.2 温度控制系统应能按规定的程序升温。
4.2.3 石墨坩埚,内径80mm,壁厚5mm,高80mm。坩埚盖与坩埚以粗螺纹连接。
4.2.4 电热干燥箱。
4.2.5 游标卡尺,或精度为0.1mm的其他量具。
4.2.6 天平,分度值0.1g。
4.2.7 试剂,木炭粉粒径小于2.0mm时,须先在150℃下烘30min。碳酸钾(K2CO3)为化学纯,二者必须在加热状态下按质量比1:1混匀。
4.2.8 工业氮气。
1——加热炉:
2——石墨坩埚;
3——刚玉管;
4——试样;
5——K2CO2与木炭混合粉;
6——出气管;
7——进气管;
8——热电偶;
9——温度控制装置。
图1 碱蒸气法抗碱性试验装置示意图
4.3 试样
4.3.1 数量
每组12个试样。
4.3.2 形状和尺寸
试样为边长20mm的立方体,偏差不大于±0.1mm。
平行度、垂直度的偏差均不大于1%。
4.3.3 制备
试样在3块整砖中按图2所示部位切取,研磨成立方体,要求试样六面光滑,棱角完整,相对面平行。(1~3)号试样作抗碱试验,(4~6)号试样作常温耐压强度测定(参见GB/T 5072),其余试样备用。
图2 取样部位示意图
4.4 试验步骤
4.4.1 试样尺寸测量
用游标卡尺测量试样的尺寸,并记录,精确至0.1mm。
4.4.2 装样
4.4.2.1 装样时,应先在坩埚底铺一层5mm厚的试剂,装第1层试样。然后铺3mm厚试剂再装第2层试样,不允许木炭与碳酸钾有分层现象。试样与坩埚壁之间的间隙不小于3mm。
4.4.2.2 装好试样的石墨坩埚旋上石墨盖并留一扣空隙,送进炉管中,置于炉内的恒温区,在炉管进气方向石墨坩埚前,装入少量3mm~5mm的木炭块。
4.4.2.3 测温管与通气管在炉管同一端,测温热电偶保护套管必须接触石墨坩埚,保证测温的准确性。
4.4.2.4 装好试样后,炉管两端严格密封,出气管引出室外。
4.4.3 加热
将氮气按(1±0.1)L/min的流量通入炉管中,同时接通加热炉的电源,按10℃/min升温至(1100±10)℃,在该温度下保温30h。
4.4.4 冷却
保温结束后,试样随炉自然冷却到300℃以下,停气同时夹住炉管两端进出气管,以免外界空气吸入。继续冷却至室温,取出试样。
4.4.5 强度测量
参照GB/T 5072的规定进行耐压强度的测定。
4.5 结果评定
4.5.1 目测判定
以3块试样中等级相同的2块为准,如出现3块试样判属等级均不一致,应重新取样检验。评定标准如下:
一类:表面黑色无缺损,断口仅侵蚀1mm~4mm;
二类:表面黑色边角缺损严重,有细小裂缝,整个断口为灰黑色,只有核心少量未侵蚀;
三类:表面黑色且有明显裂缝,边角缺损严重,整个断口黑色。
4.5.2 强度判定
强度变化率Pr,以%表示,按式(1)计算:

式中:
P0——抗碱试验前试样的常温耐压强度,单位为兆帕(MPa);
P1——抗碱试验后试样的常温耐压强度,单位为兆帕(MPa)。
4.5.3 显微结构判定
一类:空隙多被无定形碳充填,试样多被碱侵蚀生成含钾的硅酸盐或碳酸盐化合物(砖保持原状,裂纹较小);
二类:空隙多被无定形碳和碳酸钾充填,试样局部和颗粒料周边被碱侵蚀生成钾霞石和石榴子石化合物(砖裂缝较大);
三类:空隙多被无定形碳、碳酸钾和铝酸钾充填,试样几乎完全被碱侵蚀生成钾霞石和石榴子石化合物(砖破裂)。
注:显微结构判定根据用户要求作判断参考。
5 方法2(熔碱坩埚法)
本方法适用于普通耐火材料抗碱性的测定。
5.1 原理
将一定量的碳酸钾(K2CO3)放入试样内,在高温下碱与试验材料反应发生体积膨胀,观察试样的破坏程度。
以上为标准部分内容,如需看标准全文,请到相关授权网站购买标准正版。
- 2023-08-22欧宝网页版登录入口维修保养记录
- 2023-08-22欧宝网页版登录入口设施维修维护
- 2023-08-19欧宝网页版登录入口水池维修
- 2023-08-19欧宝网页版登录入口水炮维修
- 2023-08-19欧宝网页版登录入口线路维修
- 2023-08-19欧宝网页版登录入口维保服务系统
- 2023-08-19欧宝网页版登录入口主机维修维保大全
- 2023-08-19欧宝网页版登录入口维保作用
- 2023-08-18欧宝网页版登录入口维保工作联系单
- 2023-08-18欧宝网页版登录入口维保每年都要做吗
- 2023-08-18 欧宝网页版登录入口维保技术服务
- 2023-08-18欧宝网页版登录入口主板维修
- 2023-08-18欧宝网页版登录入口维保软件
- 2023-08-18欧宝网页版登录入口维保规章制度
- 2023-08-17欧宝网页版登录入口检测和维保
- 2023-08-17欧宝网页版登录入口维保检查
-
IG541混合气体灭火系统
IG541混合气体灭火系统:IG-541灭火系统采用的IG-541混合气体灭火剂是由大气层中的氮气(N2)、氩气(Ar)和二氧化碳(CO2)三种气体分别以52%、40%、8%的比例混合而成的一种灭火剂 -
二氧化碳气体灭火系统
二氧化碳气体灭火系统:二氧化碳气体灭火系统由瓶架、灭火剂瓶组、泄漏检测装置、容器阀、金属软管、单向阀(灭火剂管)、集流管、安全泄漏装置、选择阀、信号反馈装置、灭火剂输送管、喷嘴、驱动气体瓶组、电磁驱动 -
七氟丙烷灭火系统
七氟丙烷(HFC—227ea)灭火系统是一种高效能的灭火设备,其灭火剂HFC—ea是一种无色、无味、低毒性、绝缘性好、无二次污染的气体,对大气臭氧层的耗损潜能值(ODP)为零,是卤代烷1211、130 -
手提式干粉灭火器
手提式干粉灭火器适灭火时,可手提或肩扛灭火器快速奔赴火场,在距燃烧处5米左右,放下灭火器。如在室外,应选择在上风方向喷射。使用的干粉灭火器若是外挂式储压式的,操作者应一手紧握喷枪、另一手提起储气瓶上的


