GB/T 22218-2008 船舶与海上技术 配有弹性密封件的金属管路附件耐火性能 试验方法
- 发表时间:2022-12-18
- 来源:共立欧宝网页版登录入口
- 人气:
1 范围
本标准规定了用来判断船舶工程系统中配有弹性密封件的金属阀门、管接头和类似的管路附件耐火性能的试验方法。
本标准适用于船舶工程系统中带有弹性密封件的金属阀门、管接头和类似的管路附件(以下简称管路附件)。
本标准用于判断在符合GB/T 22219/ISO 19922:2005要求的试验台上完成火烧试验后,在检验压力下,管路附件是否保持密封和无任何影响其功能的损坏。
2 规范性引用文件
下列文件中的条款通过本标准的引用而成为本标准的条款。凡是注日期的引用文件,其随后所有的修改单(不包括勘误的内容)或修订版均不适用于本标准,然而,鼓励根据本标准达成协议的各方研究是否可使用这些文件的最新版本。凡是不注日期的引用文件,其最新版本适用于本标准。
GB/T 22219 船舶与海上技术 配有弹性密封件的金属管路附件耐火性能试验台要求(GB/T 22219-2008,ISO 19922:2005,IDT)
3 标记
3.1 试验标记规定如下:

3.2 标记示例:
不带防火套的管路附件的耐火性能试验,火烧持续时间为30min,火烧过程中试样工作压力为0.5 MPa,火烧结束后试样的水压密封检验压力为2.4MPa的试验标记为:
CS GB/T 22218-30-0.5-2.4-B
4 试样和试验准备
管路附件的试样尺寸应能被火焰完全包围,并符合7.1的规定。
试样与试验台的连接方式,应由生产厂商与试验操作人员协商一致。字母B表示试验中试验样品不带防火套,字母F表示试验中试验样品带有防火套。
试样在试验时是否带有防火层应当协商一致。
试验前,样品应在环境温度下放置24h。
5 试样数量
试样的数量和尺寸规格应由生产厂商和试验操作人员协商一致。但是,至少应用3个不同尺寸规格的样品来进行试验。
用于验证的成系列的管路附件中的最小和最大尺寸规格的管路附件,都应进行试验。
6 试验台
试验中所用试验台应符合GB/T 22219的规定。
7 试验方法
7.1 试样的安装
试样应被安装在试验台上方,试验台的燃烧器侧面超出试样各边的距离不应小于20mm(见图1),并使试样能被火焰完全包围。
单位为毫米

1——试样;
2——试验台的燃烧器。
图1 试样安装示意图
7.2 准备
安装后,试样应通入试验介质(水)至少1min,以便尽可能的排除试样中的空气。
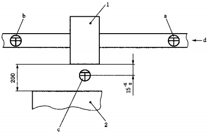
7.3 测量值和测量点
应在指定的测点(见图2)处测量下列数值:
a)测点a和b处的水温;
b)测点c处的火焰温度;
c)水的流量;
d)火烧过程中试样内的工作压力;
e)燃气消耗量。
在试验过程中,应以不超过2min的时间间隔对所有数值进行测量。
单位为毫米

1——试样;
2——试验台的燃烧器。
注:
a——试样进口处的水温测点;
b——试样出口处的水温测点;
c——在试样中心正下方的火焰温度测量点;
d——水流方向。
图2 温度测量点示意图
7.4 试验开始
当测量点温度(火焰温度和水温)达到表1规定温度的时刻为试验开始时刻。
7.5 试验温度
在火烧试验过程中,应保持表1所示温度值。应控制水流的速度,以保持水温在规定的范围内。
表1 温度
测点a的水温 | 80℃±2℃ |
测点b的水温 | ≤85℃ |
测点c的火焰温度 | 800℃±50℃ |
注:温度测量点见图2。 | |
7.6 试验压力
试验过程中,试样的工作压力不应低于0.5 MPa±0.02 MPa。
可采用其他的工作压力进行试验,但应由生产厂商与试验操作人员协商一致。
火烧结束后,试样应在环境温度下进行水压密封性检验,检验压力不应小于1.5倍的公称压力或工作压力,保持5min,试样应无渗漏。
7.7 持续时间
火烧试验持续时间应为30min。
7.8 热通量
热通量应符合燃料流量为5kg/h的预混和丙烷的燃烧所产生的65kW热释放率。为保持稳定的热通量,应测量燃气消耗量,测量精度为±3%。试验中所用丙烷的纯度不小于95%。
对于公称直径超过152mm的管路附件,公称直径每增加51mm就应增加一排燃烧器。在燃烧器组中心线上方125mm±10mm处,仍应保持平均113.6kW/m2(±10%)的稳定热通量。应调节燃料流量以保持指定的热通量,并且火焰应将试样完全包围。
8 判定
当在火烧试验及其后的水压密封性检验过程中,试样无渗漏,则判定样品通过试验。
以上为标准部分内容,如需看标准全文,请到相关授权网站购买标准正版。
- 2023-08-22欧宝网页版登录入口维修保养记录
- 2023-08-22欧宝网页版登录入口设施维修维护
- 2023-08-19欧宝网页版登录入口水池维修
- 2023-08-19欧宝网页版登录入口水炮维修
- 2023-08-19欧宝网页版登录入口线路维修
- 2023-08-19欧宝网页版登录入口维保服务系统
- 2023-08-19欧宝网页版登录入口主机维修维保大全
- 2023-08-19欧宝网页版登录入口维保作用
- 2023-08-18欧宝网页版登录入口维保工作联系单
- 2023-08-18欧宝网页版登录入口维保每年都要做吗
- 2023-08-18 欧宝网页版登录入口维保技术服务
- 2023-08-18欧宝网页版登录入口主板维修
- 2023-08-18欧宝网页版登录入口维保软件
- 2023-08-18欧宝网页版登录入口维保规章制度
- 2023-08-17欧宝网页版登录入口检测和维保
- 2023-08-17欧宝网页版登录入口维保检查
-
IG541混合气体灭火系统
IG541混合气体灭火系统:IG-541灭火系统采用的IG-541混合气体灭火剂是由大气层中的氮气(N2)、氩气(Ar)和二氧化碳(CO2)三种气体分别以52%、40%、8%的比例混合而成的一种灭火剂 -
二氧化碳气体灭火系统
二氧化碳气体灭火系统:二氧化碳气体灭火系统由瓶架、灭火剂瓶组、泄漏检测装置、容器阀、金属软管、单向阀(灭火剂管)、集流管、安全泄漏装置、选择阀、信号反馈装置、灭火剂输送管、喷嘴、驱动气体瓶组、电磁驱动 -
七氟丙烷灭火系统
七氟丙烷(HFC—227ea)灭火系统是一种高效能的灭火设备,其灭火剂HFC—ea是一种无色、无味、低毒性、绝缘性好、无二次污染的气体,对大气臭氧层的耗损潜能值(ODP)为零,是卤代烷1211、130 -
手提式干粉灭火器
手提式干粉灭火器适灭火时,可手提或肩扛灭火器快速奔赴火场,在距燃烧处5米左右,放下灭火器。如在室外,应选择在上风方向喷射。使用的干粉灭火器若是外挂式储压式的,操作者应一手紧握喷枪、另一手提起储气瓶上的


