GB/T 18301-2012 耐火材料 常温耐磨性试验方法
- 发表时间:2022-12-11
- 来源:共立欧宝网页版登录入口
- 人气:
1 范围
本标准规定了耐火材料常温耐磨性试验的术语和定义、原理、设备、试样、试验程序、结果计算、设备检查和试验报告等。
本标准适用于磨损和冲刷环境下致密耐火材料常温耐磨性的测定。
2 规范性引用文件
下列文件对于本文件的应用是必不可少的。凡是注日期的引用文件,仅注日期的版本适用于本文件。凡是不注日期的引用文件,其最新版本(包括所有的修改单)适用于本文件。
GB/T 2480 普通磨料 碳化硅
GB/T 2997 致密定形耐火制品 体积密度、显气孔率和真气孔率试验方法(GB/T 2997-2000,eqv ISO 5017:1998)
GB/T 8170 数值修约规则与极限数值的表示和判定
GB/T 9258.1 涂附磨具用磨料 粒度分析 第1部分:粒度组成
GB/T 9258.2 涂附磨具用磨料 粒度分析 第2部分:粗磨粒P12~P220粒度组成的测定
ISO 565 试验筛 金属丝网布、孔板和电加工成形薄板 孔径的公称直径(Test sieves-Metalwire cloth,perforated metal plate and electroformed sheet-Nominal sizes of openings)
3 术语和定义
下列术语和定义适用于本文件。
3.1
耐磨性 resistance to abrasion
材料抵抗运动固体的机械作用对耐火材料试样表面磨损的能力。
3.2
耐冲刷性 resistance to erosion
材料抵抗流体的机械作用对耐火材料试样表面磨损的能力,无论其中是否含有固体物质。
4 原理
用450kPa压缩空气将1000g具有规定粒度级别的碳化硅砂通过喷砂管垂直喷射到试样的平坦表面,测定试样的磨损体积。
5 设备
5.1 磨损试验机
包括5.1.1和5.1.2规定的设备。
5.1.1 文氏管喷吹装置(见图1)或喷枪(见图2)
由一个带有空气喷嘴的合适机座构成。压缩空气通过喷嘴传送至作用相当于文氏管的装置内腔,磨损介质从腔体侧面进入。空气喷嘴的入口内径为2.84mm~2.92mm,出口内径为2.36mm~2.44 mm,其外部用长9.4mm,内径4.7mm,壁厚1.5mm的塑料管保护,以防止空气喷嘴磨损。文氏管的空腔内径不能超过10mm,并应定期检查其磨损情况。
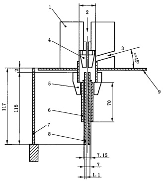
5.1.2 喷砂管(见图1和图2)
由长115mm,外径7mm,公称壁厚1.1mm的玻璃管制成,用于引导磨损介质到试样上。玻璃管
用一根长70mm,内径7.15mm的不锈钢管来固定,钢管一端应呈喇叭状或台阶状,以便固定于一个
内径9.53mm的螺母内保持密封并使喷砂管垂直于试样。玻璃管外圆应装尺寸合适的橡胶密封垫,以保持喷枪内有一定的真空度。
保证喷砂管一端距压缩空气喷嘴出口端有2mm间隙,磨损介质通过此间隙进入喷砂管。此操作可通过将玻璃管放在一直径4.5mm,距顶端117mm带有-7.9mm挂耳的黄铜杆上来完成。这样可使玻璃管插入钢管并进入枪筒,直到黄铜杆的顶端碰到空气喷嘴,从而确保在玻璃管端口与空气喷嘴间有2mm间隙。
每次测定都要更换新的玻璃管。
5.2 供料系统
具有将1000g磨损介质在(450±15)s内提供给喷吹装置的能力。辅助空气应能携带磨损介质进入系统。在图3和图4中显示了一个适合的供料机构,它由3个漏斗组成:
a)一个上部(装料)漏斗;
b)一个中部(供料控制)漏斗,其上安装有一个由金属、玻璃或塑料制成的节流孔,用以提供所需进料速度;
c)一个下部(送料)漏斗。
5.3 试验箱(见图3)
由一个带门的能密闭的箱体构成。通过此门可放置和取出试样。喷吹装置垂直安装于试验箱的顶部,这样磨损介质从玻璃喷嘴顶端经过(203±1)mm向下喷射到试样上。
试验箱应安装一个排气管和一个蝶形阀,以调节试验过程中箱内的压力。在排气管尾部可装一个适当容积的集尘袋。
箱体上部还应安装一个管子和截止阀用于连接压力表。
5.4 液体压力计
量程0Pa~400 Pa(41mm水柱),用于测量试验过程中试验箱内的压力。
5.5 真空表
量程0Pa~-0.1 MPa(75 mm汞柱),用于测量喷吹装置磨损介质入口处的压力。
5.6 天平
感量0.1g。
5.7 游标卡尺
分度值为0.5mm。
单位为毫米

1——文氏管座;
2——空气入口;
3——磨损介质入口;
4——空气喷嘴:入口内径为2.84mm~2.92mm,出口内径为2.36mm~2.44mm;
5——管状螺母;
6——固定钢管;
7——确定玻璃管位置的黄铜杆;
8——带垫圈的玻璃管;
9——试验箱顶部。
图1 文氏管喷吹装置示意图
单位为毫米

1——确定玻璃管位置的黄铜杆;
2——带垫圈的玻璃管;
3——管状螺母;
4——固定钢管;
5——喷砂枪;
6——空气喷嘴。
图2 喷枪(拆分)示意图
以上为标准部分内容,如需看标准全文,请到相关授权网站购买标准正版。
- 2023-08-22欧宝网页版登录入口维修保养记录
- 2023-08-22欧宝网页版登录入口设施维修维护
- 2023-08-19欧宝网页版登录入口水池维修
- 2023-08-19欧宝网页版登录入口水炮维修
- 2023-08-19欧宝网页版登录入口线路维修
- 2023-08-19欧宝网页版登录入口维保服务系统
- 2023-08-19欧宝网页版登录入口主机维修维保大全
- 2023-08-19欧宝网页版登录入口维保作用
- 2023-08-18欧宝网页版登录入口维保工作联系单
- 2023-08-18欧宝网页版登录入口维保每年都要做吗
- 2023-08-18 欧宝网页版登录入口维保技术服务
- 2023-08-18欧宝网页版登录入口主板维修
- 2023-08-18欧宝网页版登录入口维保软件
- 2023-08-18欧宝网页版登录入口维保规章制度
- 2023-08-17欧宝网页版登录入口检测和维保
- 2023-08-17欧宝网页版登录入口维保检查
-
IG541混合气体灭火系统
IG541混合气体灭火系统:IG-541灭火系统采用的IG-541混合气体灭火剂是由大气层中的氮气(N2)、氩气(Ar)和二氧化碳(CO2)三种气体分别以52%、40%、8%的比例混合而成的一种灭火剂 -
二氧化碳气体灭火系统
二氧化碳气体灭火系统:二氧化碳气体灭火系统由瓶架、灭火剂瓶组、泄漏检测装置、容器阀、金属软管、单向阀(灭火剂管)、集流管、安全泄漏装置、选择阀、信号反馈装置、灭火剂输送管、喷嘴、驱动气体瓶组、电磁驱动 -
七氟丙烷灭火系统
七氟丙烷(HFC—227ea)灭火系统是一种高效能的灭火设备,其灭火剂HFC—ea是一种无色、无味、低毒性、绝缘性好、无二次污染的气体,对大气臭氧层的耗损潜能值(ODP)为零,是卤代烷1211、130 -
手提式干粉灭火器
手提式干粉灭火器适灭火时,可手提或肩扛灭火器快速奔赴火场,在距燃烧处5米左右,放下灭火器。如在室外,应选择在上风方向喷射。使用的干粉灭火器若是外挂式储压式的,操作者应一手紧握喷枪、另一手提起储气瓶上的


