GB/T 2992.1-2011 耐火砖形状尺寸 第1部分:通用砖
- 发表时间:2022-12-10
- 来源:共立欧宝网页版登录入口
- 人气:
1 范围
GB/T 2992的本部分规定了通用砖的术语及定义、通用砖的尺寸系列、尺寸砖号及尺寸规格表示法、砖的尺寸及尺寸特征以及辐射形砌砖计算方法(见附录A)。
本部分适用于工业炉窑等热工设备耐火砖衬的直形砌砖、辐射形砌砖。
2 术语及定义
下列术语及定义适用于本文件。
2.1
通用耐火砖 general refractory bricks
指工业炉窑等热工设备耐火砖衬的直形砌砖及辐射形砌砖所用的直形砖、侧厚楔形砖、竖厚楔形砖、竖宽楔形砖和拱脚砖。
2.2
直形砌砖 straight brickwork
指表面为平直的直墙及平底砌砖。
2.3
辐射形砌砖 radial brickwork
具有半径、中心角、表面为圆弧形的砌砖。按中心角辐射形砌砖分为中心角小于120°的推力拱(sprung arch),中心角等于180°的半圆拱(semi——circular arch)和中心角为360°的圆环形砌砖(circularbrickwork)。按配合砌筑用砖种类分为全部由一种楔形砖砌筑圆环的单楔形砖砖环(circle turned byan arch brick or crown,mono——taper system of ring),由楔形砖和直形砖配合砌筑圆环的混合砖环(mix——ing ring),以及由两种楔形砖配合砌筑圆环的双楔形砖砖环(two——taper system of ring)。
2.4
平砌 laying brick on flat
砖的大面置于水平砌砖基面的砌砖方法。
2.5
侧砌 laying brick on edge
砖的侧面置于水平砌砖基面(或拱胎表面)的砌砖方法。
2.6
竖砌 laying brick on end
砖的端面置于水平砌砖基面(或拱胎表面)的砌砖方法(也称为立砌)。
2.7
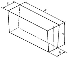
直形砖 rectangular bricks
仅由长(length)A、宽(breadth)B及厚(depth)C三个尺寸构成的直平行六面砖体,见图1。长(A)与宽(B)(或两个较大尺寸)形成的砖面称为大面(large face),长(A)与厚(C)(或最大尺寸与最小尺寸)形成的砖面称为侧面(side face),宽(B)与厚(C)(或两个较小尺寸)形成的砖面称为端面(end face)。

说明:
L——大面;
S——侧面;
E——端面。
图1 直形砖
2.7.1
标准砖 standard square,square,straight
长230mm、宽114mm和厚65mm(或75mm)的直形砖。
2.7.2
四分之三长砖 three quarter brick
长为标准砖的四分之三(172mm),宽、厚分别与标准砖相同的错缝用直形砖。
2.7.3
倍半长砖 sesquialter length bricks
长为标准砖的一倍半(345mm),宽、厚分别与标准砖相同的直形砖。
2.7.4
双倍长砖 double length bricks
长为标准砖的两倍(460mm),宽、厚分别与标准砖相同的直形砖。
2.7.5
倍半宽砖 bonder square
宽为标准砖的一倍半(172mm),长、厚分别与标准砖相同的错缝用直形砖。
2.7.6
半厚薄砖 splits
厚为标准砖之半,长、宽分别与标准砖相同的直形砖。
2.7.7
双倍宽砖(方板砖)double standard,tile
宽为标准砖的两倍(230mm),长、厚分别与标准砖相同的直形砖(也称为方板砖)。
2.7.8
加长砖 straights
长、宽均超过标准砖尺寸的直形砖。
2.8
楔形砖 bricks with taper
指至少有两个端面、侧面或大面为对称梯形的六面砖体,见图2。对称梯形面两底的较大尺寸、较小尺寸和中(位)线尺寸分别称作大端尺寸(backface dimension,coldface dimension)C、小端尺寸(inner dimension,hotface dimension)D和中间尺寸或平均尺寸(median dimension)P,并经常以C/D表示楔形砖的大小端尺寸。对称梯形面两底间的高称作楔形砖的大小端距离(distance between the backfaceand hotface)A。大小端尺寸差C——D称为楔差(taper),楔差不为0的砖即为楔形砖。相同大小端距离A的同组楔形砖间,按楔差C——D由大到小(或按楔形砖的半径由小到大)将它们相对地分为特锐楔形砖(ultra——sharp)、锐楔形砖(sharp)、钝楔形砖(slow)和微楔形砖(fine——slow)。这些楔形砖的大端尺寸、中间尺寸及小端尺寸采取相等的尺寸(通常等于直形砖的配砌尺寸),分别称作等大端尺寸(constantbackface dimension)、等中间尺寸(constant median dimension)及等小端尺寸(constan hotface dimension)。

说明:
θ0——楔形砖中心角;
r0——楔形砖内半径;
Rp0——楔形砖中间半径;
R0——一楔形砖外半径。
图2 楔形砖梯形面
2.8.1
厚楔形砖 arch bricks
也称拱顶用砖,指大面倾斜、大小端尺寸C/D设计在厚度上的楔形砖。按大小端距离A设计在宽度或长度上,厚楔形砖又分为侧厚楔形砖和竖厚楔形砖。
2.8.1.1
侧厚楔形砖 side arch bricks,arch
大小端距离A设计在宽度上、大小端尺寸C/D设计在厚度上的楔形砖,见图3。

图3 侧厚楔形砖
2.8.1.2
竖厚楔形砖 end arch bricks,wedge
大小端距离A设计在长度上、大小端尺寸C/D设计在厚度上的楔形砖,见图4。
2.8.1.3
倍半宽竖厚楔形砖 end arch bonder bricks
宽度为114mm或150mm竖厚楔形砖一倍半的拱顶错缝用竖厚楔形砖。
以上为标准部分内容,如需看标准全文,请到相关授权网站购买标准正版。
- 2023-08-22欧宝网页版登录入口维修保养记录
- 2023-08-22欧宝网页版登录入口设施维修维护
- 2023-08-19欧宝网页版登录入口水池维修
- 2023-08-19欧宝网页版登录入口水炮维修
- 2023-08-19欧宝网页版登录入口线路维修
- 2023-08-19欧宝网页版登录入口维保服务系统
- 2023-08-19欧宝网页版登录入口主机维修维保大全
- 2023-08-19欧宝网页版登录入口维保作用
- 2023-08-18欧宝网页版登录入口维保工作联系单
- 2023-08-18欧宝网页版登录入口维保每年都要做吗
- 2023-08-18 欧宝网页版登录入口维保技术服务
- 2023-08-18欧宝网页版登录入口主板维修
- 2023-08-18欧宝网页版登录入口维保软件
- 2023-08-18欧宝网页版登录入口维保规章制度
- 2023-08-17欧宝网页版登录入口检测和维保
- 2023-08-17欧宝网页版登录入口维保检查
-
IG541混合气体灭火系统
IG541混合气体灭火系统:IG-541灭火系统采用的IG-541混合气体灭火剂是由大气层中的氮气(N2)、氩气(Ar)和二氧化碳(CO2)三种气体分别以52%、40%、8%的比例混合而成的一种灭火剂 -
二氧化碳气体灭火系统
二氧化碳气体灭火系统:二氧化碳气体灭火系统由瓶架、灭火剂瓶组、泄漏检测装置、容器阀、金属软管、单向阀(灭火剂管)、集流管、安全泄漏装置、选择阀、信号反馈装置、灭火剂输送管、喷嘴、驱动气体瓶组、电磁驱动 -
七氟丙烷灭火系统
七氟丙烷(HFC—227ea)灭火系统是一种高效能的灭火设备,其灭火剂HFC—ea是一种无色、无味、低毒性、绝缘性好、无二次污染的气体,对大气臭氧层的耗损潜能值(ODP)为零,是卤代烷1211、130 -
手提式干粉灭火器
手提式干粉灭火器适灭火时,可手提或肩扛灭火器快速奔赴火场,在距燃烧处5米左右,放下灭火器。如在室外,应选择在上风方向喷射。使用的干粉灭火器若是外挂式储压式的,操作者应一手紧握喷枪、另一手提起储气瓶上的


