GB/T 34220-2017 耐火材料 高温抗拉强度试验方法
- 发表时间:2022-12-06
- 来源:共立欧宝网页版登录入口
- 人气:
1 范围
本标准规定了耐火材料高温抗拉强度试验方法的术语和定义、原理、设备、试样、试验步骤、结果计算和试验报告。
本标准适用于耐火材料高温抗拉强度的测定。
2 规范性引用文件
下列文件对于本文件的应用是必不可少的。凡是注日期的引用文件,仅注日期的版本适用于本文件。凡是不注日期的引用文件,其最新版本(包括所有的修改单)适用于本文件。
GB/T 7321 定形耐火制品试样制备方法
GB/T 8170 数值修约规则与极限数值的表示和判定
GB/T 10325 定形耐火制品验收抽样检验规则
GB/T 17617 耐火原料和不定形耐火材料 取样
GB/T 18930 耐火材料术语
YB/T 5202.1 不定形耐火材料试样制备方法 第1部分:耐火浇注料
3 术语和定义
GB/T 18930界定的以及下列术语和定义适用于本文件。
3.1
高温抗拉强度 tensile strength at elevated temperature
在高温下,耐火材料按规定条件拉伸,发生破坏前单位面积上所能承受的极限拉力。
4 原理
在高温条件下,对规定尺寸的试样以恒定速度施加拉力直至断裂,根据试样断裂前所承受的最大拉力和截面面积计算出高温抗拉强度。
5 设备
5.1 拉力试验机,示值误差在士2%以内。试验机应能够以(0.15±0.015)MPa/s的速率施加拉应力,直至试样断裂。
试样夹具应满足下列要求:
a)夹具应能承受试验条件下的高温;
b)上下夹具应能确保夹持试样的同轴性;
c)与试样接触面宽度不小于10mm。
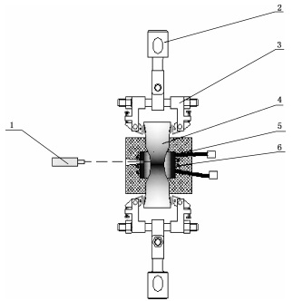
夹具及试样的安装见图1所示。

说明:
1——红外测温仪;
2——拉力机联接柱;
3——万向夹具;
4——试样:
5——加热环;
6——加热装置。
图1 试样安装及夹具
5.2 游标卡尺,分度值不大于0.05mm。
5.3 干燥箱,能控温在(110±5)℃。
5.4 加热装置,加热装置能满足7.4的要求,加热装置能使试样的加热区域温度恒定在试验温度±10℃以内,加热均温区域长度为试样最窄截面边长的1.5倍。加热装置能在空气气氛或保护性气体中按规定的升温速率加热、保温,直至试验结束。
5.5 温度测量和记录装置,能连续显示和记录温度的变化曲线。
6 试样
6.1 致密定形耐火制品按GB/T 10325或有关方协商进行取样,按GB/T7321制样。试样尺寸如图2所示,试样不得有裂纹。
注:建议采用连续凸缘金刚石片切槽。如果使用齿形凸缘刀片,刀片切出的边缘常出现破损及裂纹。具有裂纹或明显缺陷的试样要作记录或废弃不用。

图2 抗拉强度试样形状及尺寸
6.2 如果试样从样品砖上制取,从每块砖上切取的试样应相同,以便统计分析。
6.3 致密不定形耐火材料按GB/T 17617或有关方协商取样,按YB/T 5202.1或相关标准制样。不定形致密耐火制品的试样尺寸如图2所示,可以由成型模具制取。制样时的热处理温度等应经有关方协商,制样条件和试样尺寸均须在试验报告中注明。
6.4 试样的数量为3个。
7 试验步骤
7.1 制备好的试样置于干燥箱中(110±5)℃下烘干。
7.2 测量试样中部最窄处的截面边长尺寸,测量值应精确至0.1mm,根据4个边长的算术平均值,计算出截面面积A。。
7.3 将试样安装在试验机上下两夹具内,调整夹具和试样确保同轴性。
7.4 安装加热装置,加热试样最窄截面区域。
7.5 升温速率
硅质材料以3℃/min~5℃/min升温至850℃,然后快速升温至试验温度。
其他材料以5℃/min~10℃/min升温速率升至试验温度;或以不高于200℃/min升温速率升至试验温度。
升温速率可以协商确定。
7.6 试验温度与保温时间
试验温度在1000℃以下保温30min,1000℃以上,保温5min。
不同的材料可以协商确定试验温度和保温时间。
7.7 开启拉力试验机,以(0.15±0.015)MPa/s的速率连续均匀地施加拉应力,直至试样断裂,记录指示的最大载荷。
7.8 待试样冷却后,测量试样断裂处截面尺寸。
7.9 试验结果处理
试样在加热均温区域断裂则本次试验数据有效。断裂部位位于加热均温区域外的试验数据无效,重新制样并进行试验,直至有效试样数达到3个。
以上为标准部分内容,如需看标准全文,请到相关授权网站购买标准正版。
- 2023-08-22欧宝网页版登录入口维修保养记录
- 2023-08-22欧宝网页版登录入口设施维修维护
- 2023-08-19欧宝网页版登录入口水池维修
- 2023-08-19欧宝网页版登录入口水炮维修
- 2023-08-19欧宝网页版登录入口线路维修
- 2023-08-19欧宝网页版登录入口维保服务系统
- 2023-08-19欧宝网页版登录入口主机维修维保大全
- 2023-08-19欧宝网页版登录入口维保作用
- 2023-08-18欧宝网页版登录入口维保工作联系单
- 2023-08-18欧宝网页版登录入口维保每年都要做吗
- 2023-08-18 欧宝网页版登录入口维保技术服务
- 2023-08-18欧宝网页版登录入口主板维修
- 2023-08-18欧宝网页版登录入口维保软件
- 2023-08-18欧宝网页版登录入口维保规章制度
- 2023-08-17欧宝网页版登录入口检测和维保
- 2023-08-17欧宝网页版登录入口维保检查
-
IG541混合气体灭火系统
IG541混合气体灭火系统:IG-541灭火系统采用的IG-541混合气体灭火剂是由大气层中的氮气(N2)、氩气(Ar)和二氧化碳(CO2)三种气体分别以52%、40%、8%的比例混合而成的一种灭火剂 -
二氧化碳气体灭火系统
二氧化碳气体灭火系统:二氧化碳气体灭火系统由瓶架、灭火剂瓶组、泄漏检测装置、容器阀、金属软管、单向阀(灭火剂管)、集流管、安全泄漏装置、选择阀、信号反馈装置、灭火剂输送管、喷嘴、驱动气体瓶组、电磁驱动 -
七氟丙烷灭火系统
七氟丙烷(HFC—227ea)灭火系统是一种高效能的灭火设备,其灭火剂HFC—ea是一种无色、无味、低毒性、绝缘性好、无二次污染的气体,对大气臭氧层的耗损潜能值(ODP)为零,是卤代烷1211、130 -
手提式干粉灭火器
手提式干粉灭火器适灭火时,可手提或肩扛灭火器快速奔赴火场,在距燃烧处5米左右,放下灭火器。如在室外,应选择在上风方向喷射。使用的干粉灭火器若是外挂式储压式的,操作者应一手紧握喷枪、另一手提起储气瓶上的


