GB/T 4513.5-2017 不定形耐火材料 第5部分:试样制备和预处理
- 发表时间:2022-12-04
- 来源:共立欧宝网页版登录入口
- 人气:
1 范围
GB/T 4513的本部分规定了不定形耐火材料试样的尺寸,描述了试样的制备和预处理(养护、干燥和热处理)方法。
本部分适用于致密浇注料、隔热浇注料、耐火捣打料、耐火可塑料和干式料。
2 规范性引用文件
下列文件对于本文件的应用是必不可少的。凡是注日期的引用文件,仅注日期的版本适用于本文件。凡是不注日期的引用文件,其最新版本(包括所有的修改单)适用于本文件。
GB/T 4513.1 不定形耐火材料 第1部分:介绍和分类(GB/T 4513.1-2015,ISO 1927-1:2012,MOD)
GB/T 4513.4 不定形耐火材料 第4部分:浇注料流动性的测定(GB/T 4513.4-2017,ISO 1927-4:2012,MOD)
GB 5749 生活饮用水卫生标准
GB/T 6682 分析实验室用水规格和试验方法(GB/T 6682-2008,ISO 3696:1987,MOD)
GB/T 17732 致密定形含碳耐火制品试验方法(GB/T 17732-2008,ISO 10060:1993,MOD)
3 试样尺寸
试样尺寸有以下几种类型:A形:230mm×114mm×64mm;B形:230mm×64mm×54mm;C形230mm×64mm×64mm;D形:160mm×40mm×40mm。
试样制备时的宽度作为试验时的高度,偏离应做记录,C、D形试样的成型面应做标记。除了捣打料和干式料,可采用砂捣锤制备直径为50mm和高为50mm±1mm的试样外,各种材料试样尺寸的选择见表1。C形为实验室仲裁试样尺寸。试样的尺寸的选择由相关方协商确定。
表1 试样的尺寸类型
浇注料 | 最大颗粒尺寸 <15mm | B或C或D | A | |
直接试验 | ✓ | |||
其他试验 | ✓ | |||
最大颗粒尺寸 >15mm | 直接试验b | ✓a | ||
其他试验 | ✓ | |||
捣打料 | ✓ | |||
可塑料 | ✓ | |||
a B、C或D形试样可用A形试样切取。 b 没有尺寸限制可直接得出结果的试验项目包括抗折强度、常温耐压强度、加热永久线变化和几何体积密度等。 | ||||
4 设备
4.1 缩样器
与产品的最大颗粒尺寸相适应的缩分器或者是四分法铲子。缩分器尺寸至少为最大颗粒的2.5倍。
4.2 搅拌机
4.2.1 搅拌锅
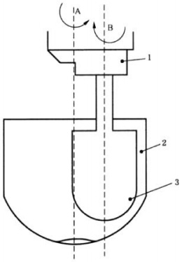
搅拌锅示意图见图1,该锅应关于A轴对称,根据所制样品的数量多少选择合适容积的锅。锅和搅拌叶片应是不与试验材料反应的金属材料。

说明:
1——驱动装置;
2——锅:
3——搅拌叶片。
图1 搅拌机示意图
4.2.2 搅拌叶片
搅拌叶片的形状应与锅的内部尺寸相适应,叶片和锅壁的距离及叶片和锅底的距离应不小于材料的最大颗粒尺寸。对于最大颗粒尺寸不大于6mm的产品,叶片与锅壁的距离应为6mm。对于大颗粒尺寸(达到25mm)的产品,叶片与锅壁的距离通常为25mm。
搅拌叶片应绕A轴(搅拌锅的对称轴)以40r/min~65r/min的速度旋转,叶片同时绕B轴(叶片的对称轴)以120r/min~145r/min的速度按相反方向转动。
隔热浇注料采用低强度机械搅拌,搅拌叶片应绕A轴(搅拌锅的对称轴)以15r/min~25r/min的速度旋转,叶片同时绕B轴(叶片的对称轴)以50r/min~80 r/min的速度按相反方向转动。
4.3 振动台
振动台应是一个沿垂直方向以50 Hz振动的水平台。该振动台具有0.50mm振幅,精度为0.05mm,整个过程振幅的精确度为±0.05mm。
4.4 气锤
压缩空气锤,应有一个适合模具宽度、表面光滑平整的锤头,例如对B形试样锤头底面为52mm×25mm,对于C形试样锤头底面为62mm×25mm。
选择合适的锤头的质量和捣打频率以获得规定的湿坯体积密度,湿坯体积密度应在试验报告中注明。
4.5 砂捣锤
砂捣锤结构为:一个内径50mm,长140mm的模具,一个安装在竖轴上6.67kg±50g的重锤,重锤距安装在轴上的环之间有50mm的滑动行程,轴的底部有一捣棒,其直径比模具内径小约0.3mm(见图2和图3)。
注:详见GB/T 4513.3对该装置的描述。

图2 成型捣打料试样的砂捣锤示意图
以上为标准部分内容,如需看标准全文,请到相关授权网站购买标准正版。
- 2023-08-22欧宝网页版登录入口维修保养记录
- 2023-08-22欧宝网页版登录入口设施维修维护
- 2023-08-19欧宝网页版登录入口水池维修
- 2023-08-19欧宝网页版登录入口水炮维修
- 2023-08-19欧宝网页版登录入口线路维修
- 2023-08-19欧宝网页版登录入口维保服务系统
- 2023-08-19欧宝网页版登录入口主机维修维保大全
- 2023-08-19欧宝网页版登录入口维保作用
- 2023-08-18欧宝网页版登录入口维保工作联系单
- 2023-08-18欧宝网页版登录入口维保每年都要做吗
- 2023-08-18 欧宝网页版登录入口维保技术服务
- 2023-08-18欧宝网页版登录入口主板维修
- 2023-08-18欧宝网页版登录入口维保软件
- 2023-08-18欧宝网页版登录入口维保规章制度
- 2023-08-17欧宝网页版登录入口检测和维保
- 2023-08-17欧宝网页版登录入口维保检查
-
IG541混合气体灭火系统
IG541混合气体灭火系统:IG-541灭火系统采用的IG-541混合气体灭火剂是由大气层中的氮气(N2)、氩气(Ar)和二氧化碳(CO2)三种气体分别以52%、40%、8%的比例混合而成的一种灭火剂 -
二氧化碳气体灭火系统
二氧化碳气体灭火系统:二氧化碳气体灭火系统由瓶架、灭火剂瓶组、泄漏检测装置、容器阀、金属软管、单向阀(灭火剂管)、集流管、安全泄漏装置、选择阀、信号反馈装置、灭火剂输送管、喷嘴、驱动气体瓶组、电磁驱动 -
七氟丙烷灭火系统
七氟丙烷(HFC—227ea)灭火系统是一种高效能的灭火设备,其灭火剂HFC—ea是一种无色、无味、低毒性、绝缘性好、无二次污染的气体,对大气臭氧层的耗损潜能值(ODP)为零,是卤代烷1211、130 -
手提式干粉灭火器
手提式干粉灭火器适灭火时,可手提或肩扛灭火器快速奔赴火场,在距燃烧处5米左右,放下灭火器。如在室外,应选择在上风方向喷射。使用的干粉灭火器若是外挂式储压式的,操作者应一手紧握喷枪、另一手提起储气瓶上的


