GB/T 9978.7-2008 建筑构件耐火试验方法 第7部分:柱的特殊要求
- 发表时间:2022-12-01
- 来源:共立欧宝网页版登录入口
- 人气:
1 范围
GB/T 9978的本部分规定了确定柱构件耐火性能的试验程序。
柱在进行耐火试验时所有轴向侧面均受火,当实际受火面少于四个时,应重新确定相应的试验条件。
当未经试验建筑构件的结构符合本部分给出的直接应用范围规定的条件时,已按本部分规定进行耐火试验的构件耐火性能结果可应用于未经试验的同类建筑构件。
附录A提供了该试验方法的一般性指导。
2 规范性引用文件
下列文件中的条款通过GB/T 9978的本部分的引用而成为本部分的条款。凡是注日期的引用文件,其随后所有的修改单(不包括勘误的内容)或修订版均不适用于本部分。然而,鼓励根据本部分达成协议的各方研究是否可使用这些文件的最新版本。凡是不注日期的引用文件,其最新版本适用于本部分。
GB/T 5907 欧宝网页版登录入口基本术语 第一部分
GB/T 9978.1 建筑构件耐火试验方法 第1部分:通用要求(GB/T 9978.1-2008,ISO 834-1:1999,MOD)
3 术语和定义
GB/T 5907和GB/T 9978.1确立的以及下列术语和定义适用于本部分。
3.1
柱 column
用于垂直承重的非分隔性建筑构件。
3.2
偏心距 controlled eccentricity
从柱的垂直中心轴到承载点的距离。
3.3
承载法兰盘 loading platens
用于加载装置和柱的末端之间,保证正确施加荷载的平板。
4 符号和缩略语
GB/T 9978.1规定的符号和缩略语适用于本部分。
5 试验装置
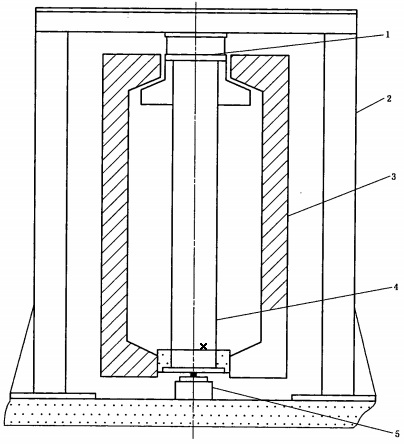
本部分所采用的试验装置与GB/T 9978.1中的相关规定相同,其中包括试验炉、加载装置、约束部件和支撑框架。柱加载试验装置的示意见图1。

1——承载法兰盘;
2——加载框架;
3——炉体;
4——耐火试验的柱;
5——液压缸。
图1 柱加载试验布置的示意图
6 试验条件
6.1 总则
试验过程中的炉内升温条件、炉内压力和加载条件均应符合GB/T 9978.1中的相关规定和本部分的要求。
6.2 约束和边界条件
约束和边界条件应符合GB/T 9978.1中的相关规定和本部分的要求。
6.3 加载条件
6.3.1 柱的试验加载值应按照GB/T 9978.1中6.3a)、b)或c)的规定进行计算,并与委托方协商以使设计出的结构能被接受。用于柱荷载计算的材料特性应由委托方详细提供并指明来源。
6.3.2 当试件的高度过大,试验炉无法安装时,应按照承重试件的高细比调整荷载,因此委托方应提供该试件尺寸调整后的设计荷载值。
6.3.3 应对试件的末端进行设计,使荷载能够按照要求的稳定度和偏心率从承载法兰盘传递到试件。顶端和底端承载面应相互平行并与柱的轴线垂直,以避免产生偏心位移。
6.3.4 为避免加载装置受热,应对试件两端的接触轴环进行防护。采取的防护措施应方便试验柱的定位、为试验炉内表面提供充分密封、要有适当的接触和支撑,确保在整个加热过程中加载装置的位置不受影响。
密封方法应当允许试件在炉内移动,且不影响荷载从承载法兰盘传递到试件上以及试件末端的约束条件。
6.3.5 加载系统的压缩位移量应满足试件最大变形的要求。
7 试件准备
7.1 试件设计
当实际应用中的耐火层有接缝时,在试件的中部高度至少应设计有一个典型的接缝。
当柱使用中空包覆层时,包覆层的约束位置应能代表其在实际应用中的安装与约束条件。顶部的缝隙 、包覆层与柱之间的缝隙应按与实际使用相同的条件填充。
当试验柱包覆耐火层后,应采取措施防止因承载而使耐火层受到附加的影响力。
7.2 试件尺寸
试件的尺寸应为其实际尺寸。当试件的高度超过3m时,试件受火部分的尺寸不应小于3m。试件受火高度的每一端最多加高不能大于300mm,这段超出的高度用于将试件固定在加载装置上,同时也起到分隔加载装置与炉内环境的作用。超出的高度应尽可能小,以减少热传导损失。
7.3 试件数量
试件数量应符合GB/T 9978.1和本部分中的规定。
7.4 试件养护
在试验过程中,试件包括其填充和连接材料的强度和含水量应与在正常使用情况的条件相符,GB/T 9978.1给出了试件养护的指南。当达到平衡时,应测定并记录试件的含水量和养护状态。包括框架护衬的任何支撑结构不受上述要求的约束。
7.5 试件安装和约束
7.5.1 试件的两端的约束应模拟实际使用条件采用刚性连接方式或铰接方式。但是,在一种约束方式条件下得到的数据不能直接转换为在另一种约束方式条件下的数据。当需要全面的结果时,应在不同的约束条件下进行相应试验。当试件的一端或两端采用铰接时,应确保没有摩擦阻力。
7.5.2 当使用铰接时,可通过在柱和加载装置之间使用球状连接、柱状辊轮或者刃状连接来代表。当使用柱状辊轮时,其轴线应平行于柱截面的短轴。
7.5.3 铰接件应安置在两个承载板之间(一端与加载装置固定,另一端与柱接触)以改进在柱截面上的荷载分布。
7.5.4 应准确选择铰接件与柱中心轴的相对位置,以控制荷载的偏心距不超过L/500(L为柱的计算长度)或7mm。应尽量减小铰接件的摩擦阻力。
7.5.5 当采用固端连接时,应确保承载法兰盘和柱的端面接触。
8 仪器使用
8.1 炉内热电偶
试验炉内的温度应使用热电偶测量,热电偶应均匀分布以测量试件区域的真实温度。热电偶的组成和位置按GB/T 9978.1中的规定。
在试验炉内,与试件相对的位置至少安置6支热电偶,两两相对分别位于试件受火长度的1/4、1/2和3/4处。
以上为标准部分内容,如需看标准全文,请到相关授权网站购买标准正版。
- 2023-08-22欧宝网页版登录入口维修保养记录
- 2023-08-22欧宝网页版登录入口设施维修维护
- 2023-08-19欧宝网页版登录入口水池维修
- 2023-08-19欧宝网页版登录入口水炮维修
- 2023-08-19欧宝网页版登录入口线路维修
- 2023-08-19欧宝网页版登录入口维保服务系统
- 2023-08-19欧宝网页版登录入口主机维修维保大全
- 2023-08-19欧宝网页版登录入口维保作用
- 2023-08-18欧宝网页版登录入口维保工作联系单
- 2023-08-18欧宝网页版登录入口维保每年都要做吗
- 2023-08-18 欧宝网页版登录入口维保技术服务
- 2023-08-18欧宝网页版登录入口主板维修
- 2023-08-18欧宝网页版登录入口维保软件
- 2023-08-18欧宝网页版登录入口维保规章制度
- 2023-08-17欧宝网页版登录入口检测和维保
- 2023-08-17欧宝网页版登录入口维保检查
-
IG541混合气体灭火系统
IG541混合气体灭火系统:IG-541灭火系统采用的IG-541混合气体灭火剂是由大气层中的氮气(N2)、氩气(Ar)和二氧化碳(CO2)三种气体分别以52%、40%、8%的比例混合而成的一种灭火剂 -
二氧化碳气体灭火系统
二氧化碳气体灭火系统:二氧化碳气体灭火系统由瓶架、灭火剂瓶组、泄漏检测装置、容器阀、金属软管、单向阀(灭火剂管)、集流管、安全泄漏装置、选择阀、信号反馈装置、灭火剂输送管、喷嘴、驱动气体瓶组、电磁驱动 -
七氟丙烷灭火系统
七氟丙烷(HFC—227ea)灭火系统是一种高效能的灭火设备,其灭火剂HFC—ea是一种无色、无味、低毒性、绝缘性好、无二次污染的气体,对大气臭氧层的耗损潜能值(ODP)为零,是卤代烷1211、130 -
手提式干粉灭火器
手提式干粉灭火器适灭火时,可手提或肩扛灭火器快速奔赴火场,在距燃烧处5米左右,放下灭火器。如在室外,应选择在上风方向喷射。使用的干粉灭火器若是外挂式储压式的,操作者应一手紧握喷枪、另一手提起储气瓶上的


