GB/T 22459.1-2022 耐火泥浆 第1部分:稠度试验方法(锥入度法)
- 发表时间:2022-11-27
- 来源:共立欧宝网页版登录入口
- 人气:
1 范围
本文件规定了耐火泥浆稠度试验方法(锥入度法)的原理、仪器设备、取样、试验程序、结果计算和试验报告。
本文件适用于耐火泥浆稠度(锥入度法)的测定。
2 规范性引用文件
下列文件中的内容通过文中的规范性引用而构成本文件必不可少的条款。其中,注日期的引用文件,仅该日期对应的版本适用于本文件;不注日期的引用文件,其最新版本(包括所有的修改单)适用于本文件。
GB/T 4513.2 不定形耐火材料 第2部分:取样(GB/T 4513.2-2017,ISO 1927-2:2012,IDT)
GB/T 8170 数值修约规则与极限数值的表示和判定
GB/T 18930 耐火材料术语(GB/T 18930-2020,ISO 836:2001,MOD)
3 术语和定义
GB/T 18930界定的以及下列术语和定义适用于本文件。
3.1
耐火泥浆的稠度 consistency of refractory mortars
耐火泥浆在应用状态下的黏度。
4 原理
用一个特定的圆锥体沉入试样的深度来测定耐火泥浆的稠度。
5 仪器设备
5.1 锥入度仪
5.1.1 概述
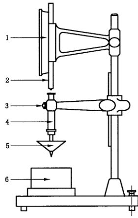
锥入度仪结构示意图见图1,由读数仪表、测量杆、释放按钮、撞杆、圆锥体和试样盒组成。
5.1.2 圆锥体和撞杆
圆锥体和撞杆通过螺丝紧固在一起,总质量150g±0.25g。圆锥体的形状尺寸如图2所示,质量为100g±3g。锥尖为不锈钢材质,其他部分为铜质或耐腐蚀钢质。锥尖与锥体之间应紧密结合,接口处无错台。锥面应经抛磨处理,表面光滑。
5.1.3 试样盒
试样盒为尺寸内径100mm、深50mm的圆柱体盒子。
5.2 搅拌机
5.2.1 概述
搅拌机由搅拌锅与搅拌叶片组成,示意图见图3。搅拌锅与搅拌叶片之间的间隙可以调整,通常为3mm±1mm。应定期检查搅拌锅和搅拌叶片之间的间隙,超过范围时及时调整。
搅拌锅与搅拌叶片应是不与试验材料反应的金属材料。

标引序号说明:
1——读数仪表;
2——测量杆;
3——释放按钮;
4——撞杆;
5——圆锥体;
6——试样盒。
注:启动释放按钮时,撞杆和圆锥体下沉;松开释放按钮时撞杆和圆锥体被锁紧在机架上。
图1 锥入度仪结构示意图
5.2.2 搅拌锅
在搅拌过程中,搅拌锅安全地固定在搅拌机机架上。如图3所示,搅拌锅关于A轴对称,根据所制样品的数量多少选择合适容器的锅,宜为要搅拌试样干体积的3~5倍。
5.2.3 搅拌叶片
如图3所示,搅拌叶片关于B轴对称。搅拌叶片由转速可控的电动机驱动,在绕自身轴(B轴)旋转的同时,绕搅拌锅的轴(A轴)作行星运动。两个旋转的方向应相反,并且两个转速之间的比率不应为整数。
5.3 天平
最小分度值不大于1g。
5.4 量筒
最小分度值不大于5mL。
5.5 温度计
最小分度值不大于1℃。
单位为毫米

标引序号说明:
1——用于连接撞杆的圆棒;
2——锥尖;
3——锥面。
图2 锥入度仪圆锥体的形状和尺寸
以上为标准部分内容,如需看标准全文,请到相关授权网站购买标准正版。
- 2023-08-22欧宝网页版登录入口维修保养记录
- 2023-08-22欧宝网页版登录入口设施维修维护
- 2023-08-19欧宝网页版登录入口水池维修
- 2023-08-19欧宝网页版登录入口水炮维修
- 2023-08-19欧宝网页版登录入口线路维修
- 2023-08-19欧宝网页版登录入口维保服务系统
- 2023-08-19欧宝网页版登录入口主机维修维保大全
- 2023-08-19欧宝网页版登录入口维保作用
- 2023-08-18欧宝网页版登录入口维保工作联系单
- 2023-08-18欧宝网页版登录入口维保每年都要做吗
- 2023-08-18 欧宝网页版登录入口维保技术服务
- 2023-08-18欧宝网页版登录入口主板维修
- 2023-08-18欧宝网页版登录入口维保软件
- 2023-08-18欧宝网页版登录入口维保规章制度
- 2023-08-17欧宝网页版登录入口检测和维保
- 2023-08-17欧宝网页版登录入口维保检查
-
IG541混合气体灭火系统
IG541混合气体灭火系统:IG-541灭火系统采用的IG-541混合气体灭火剂是由大气层中的氮气(N2)、氩气(Ar)和二氧化碳(CO2)三种气体分别以52%、40%、8%的比例混合而成的一种灭火剂 -
二氧化碳气体灭火系统
二氧化碳气体灭火系统:二氧化碳气体灭火系统由瓶架、灭火剂瓶组、泄漏检测装置、容器阀、金属软管、单向阀(灭火剂管)、集流管、安全泄漏装置、选择阀、信号反馈装置、灭火剂输送管、喷嘴、驱动气体瓶组、电磁驱动 -
七氟丙烷灭火系统
七氟丙烷(HFC—227ea)灭火系统是一种高效能的灭火设备,其灭火剂HFC—ea是一种无色、无味、低毒性、绝缘性好、无二次污染的气体,对大气臭氧层的耗损潜能值(ODP)为零,是卤代烷1211、130 -
手提式干粉灭火器
手提式干粉灭火器适灭火时,可手提或肩扛灭火器快速奔赴火场,在距燃烧处5米左右,放下灭火器。如在室外,应选择在上风方向喷射。使用的干粉灭火器若是外挂式储压式的,操作者应一手紧握喷枪、另一手提起储气瓶上的


