GB/T 18257-2021 回转窑用耐火砖热面标记
- 发表时间:2022-11-25
- 来源:共立欧宝网页版登录入口
- 人气:
1 范围
本文件规定了回转窑用耐火砖热面的标记方法。
本文件适用于回转窑用耐火砖的热面标记设计及选用。
2 规范性引用文件
本文件没有规范性引用文件。
3 术语和定义
本文件没有需要界定的术语和定义。
4 技术要求
4.1 总则
回转窑用耐火砖热面标记通常采用沟槽法。根据需要可采用色标法作为补充标记。注:是否需要色标由供需双方商定。
4.2 沟槽法
4.2.1 沟槽类型
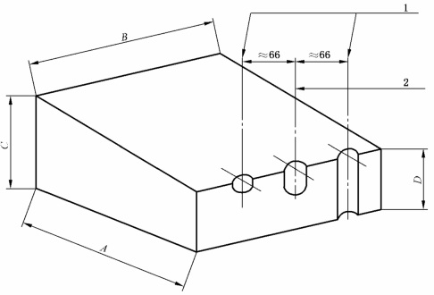
为了便于辨认,每种沟槽的形状应不同,并深入砖体。所有槽口周边应呈弧形。图1给出了三种沟槽形状,可任选其中一种。沟槽的尺寸不做规定。
4.2.2 标记位置
沟槽应位于耐火砖热面中心线上或距该中心线约66mm的直线上,如图1所示。
单位为毫米

标引序号说明:
1——沟槽标记中心线;
2——砖的中心线和标记中心线;
A——大小端距离;
B——砖宽;
C——大端尺寸:
D——小端尺寸。
图1 沟槽类型和位置
4.2.3 沟槽辨认标记组合
图2给出了四种沟槽组合,每种砖型可任选其中一种,同一环中的不同砖型应选择不同形式的沟槽组合以便于区分。
单位为毫米

标引序号说明:
1——砖的中心线和标记中心线。
图2 沟槽辨认标记组合
4.3 色标法
采用色标法是对4.2沟槽法的补充。色彩标记应在发运之前涂在耐火砖的热面上,标记颜色可从白色、黄色、红色、绿色、蓝色中选择,所选颜色应与耐火砖本体颜色形成较大的对比,使其能够清晰地被辨认。
以上为标准部分内容,如需看标准全文,请到相关授权网站购买标准正版。
- 2023-08-22欧宝网页版登录入口维修保养记录
- 2023-08-22欧宝网页版登录入口设施维修维护
- 2023-08-19欧宝网页版登录入口水池维修
- 2023-08-19欧宝网页版登录入口水炮维修
- 2023-08-19欧宝网页版登录入口线路维修
- 2023-08-19欧宝网页版登录入口维保服务系统
- 2023-08-19欧宝网页版登录入口主机维修维保大全
- 2023-08-19欧宝网页版登录入口维保作用
- 2023-08-18欧宝网页版登录入口维保工作联系单
- 2023-08-18欧宝网页版登录入口维保每年都要做吗
- 2023-08-18 欧宝网页版登录入口维保技术服务
- 2023-08-18欧宝网页版登录入口主板维修
- 2023-08-18欧宝网页版登录入口维保软件
- 2023-08-18欧宝网页版登录入口维保规章制度
- 2023-08-17欧宝网页版登录入口检测和维保
- 2023-08-17欧宝网页版登录入口维保检查
-
IG541混合气体灭火系统
IG541混合气体灭火系统:IG-541灭火系统采用的IG-541混合气体灭火剂是由大气层中的氮气(N2)、氩气(Ar)和二氧化碳(CO2)三种气体分别以52%、40%、8%的比例混合而成的一种灭火剂 -
二氧化碳气体灭火系统
二氧化碳气体灭火系统:二氧化碳气体灭火系统由瓶架、灭火剂瓶组、泄漏检测装置、容器阀、金属软管、单向阀(灭火剂管)、集流管、安全泄漏装置、选择阀、信号反馈装置、灭火剂输送管、喷嘴、驱动气体瓶组、电磁驱动 -
七氟丙烷灭火系统
七氟丙烷(HFC—227ea)灭火系统是一种高效能的灭火设备,其灭火剂HFC—ea是一种无色、无味、低毒性、绝缘性好、无二次污染的气体,对大气臭氧层的耗损潜能值(ODP)为零,是卤代烷1211、130 -
手提式干粉灭火器
手提式干粉灭火器适灭火时,可手提或肩扛灭火器快速奔赴火场,在距燃烧处5米左右,放下灭火器。如在室外,应选择在上风方向喷射。使用的干粉灭火器若是外挂式储压式的,操作者应一手紧握喷枪、另一手提起储气瓶上的


