GB/T 9343-2008 塑料燃烧性能试验方法 闪燃温度和自燃温度的测定
- 发表时间:2022-11-24
- 来源:共立欧宝网页版登录入口
- 人气:
1 范围
本标准规定了用热空气炉测定塑料的闪燃温度和自燃温度的方法。
本标准适用于塑料的闪燃温度和自燃温度的测定。
本标准的试验结果可比较不同材料在试验条件下的着火特性,可描述在试验条件下材料着火的最低周围空气温度;在实际使用条件中,本标准试验结果可以作为材料着火敏感性等级划分的依据。
本标准并不直接测量塑料的燃烧性能、燃烧速度或其安全使用的上限温度,本标准也不能单独描述或评定实际火灾状况下的材料、产品或组合件的火灾危险性。尽管如此,试验的结果可作为火灾危险性评价因素之一。
2 规范性引用文件
下列文件中的条款通过本标准的引用而成为本标准的条款。凡是注日期的引用文件,其随后所有的修改单(不包括勘误的内容)或修订版均不适用于本标准,然而,鼓励根据本标准达成协议的各方研究是否可使用这些文件的最新版本。凡是不注日期的引用文件,其最新版本适用于本标准。
GB 2918-1998 塑料试样状态调节和试验的标准环境(idt ISO 291:1997)
3 术语和定义
下列术语和定义适用于本标准。
3.1
闪燃温度(FIT)flash-ignition temperature
在特定的试验条件下,材料释放出的可燃气体能够被火焰点着,这时试样周围空气的最低温度叫作该材料的闪燃温度。
3.2
灼热燃烧 glowing combustion
由材料慢慢分解和碳化引起的,材料的固相中无火焰,燃烧区域伴有发光现象的燃烧。
3.3
自燃温度(SIT) self-ignition temperature
在特定的试验条件下,无任何火源的情况下发生燃烧或灼热燃烧,这时周围空气的最低温度叫作该材料的自燃温度。
4 试验仪器
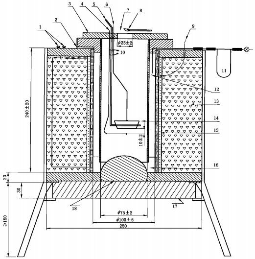
4.1 热空气炉 图1所示,主要由一套电加热装置和试样盘组成。
4.2 炉管 用金刚砂制成。内径100mm±5mm,长度240mm±20mm,耐温不低于750℃。炉管垂直放置在清理渣滓塞子的上方。
4.3 内管 用耐火材料制成。内径75mm±2mm,长度240mm±20mm,壁厚3mm,耐温不低于750℃。内管放置在炉管内,用三个耐火的小垫块垫起,高于炉底20mm±2mm。顶部有一用耐火材料制作的顶盖,顶盖中间有一直径为25mm±2mm的开口,用于观测并可让烟雾和气体通过。
注1:顶部耐火材料可以是硅玻璃或不锈钢材料。
4.4 空气源 过滤后的空气,通过一根铜管以稳定、可控制的速度流过炉管与内管之间的靠近顶部的环状空间内。空气在两个管子间加热、流通,最后在底部进入内管。空气流量用转子流量计或其他适宜的装置测定。
4.5 电加热装置 用1.3mm±0.1mm金属合金加热丝均匀缠绕在炉管上50圈,外包耐火材料制成的夹套。
注2:其他结构(如:细加热线圈熔铸在陶瓷纤维中)也是可行。
4.6 隔热层 用矿物纤维绒填充夹套和炉壳之间,填充厚度约60mm。
4.7 点火器 用内径1.8mm±0.3mm的铜管制成,水平放置在圆形顶盖开口中心上方5mm士1mm处。火焰长度20mm±2mm。燃气为含量不低于94%的丙烷。
4.8 试样盘 用0.5mm厚的不锈钢板制作。直径40mm±2mm,深度15mm±2mm;圆形底被直径大约2mm的不锈钢焊条环绕,环上焊接一根相同材质的杆,延伸到炉子的盖顶,如图1所示。试样盘的底部定位于引燃点火器边缘的下方185mm±2mm处。
4.9 热电偶 用直径0.5mm铬-镍基热电偶合金(K型)或铁-铜镍合金(J型)连接着一个误差不超过士2℃校准过的记录仪进行温度测量。
4.10 控温装置 由一个合适的可变变压器或自动控制装置连接加热装置。
4.11 计时器 精确至秒。
5 热电偶的位置
5.1 热电偶TC1(如图1所示)测量样品的温度T1。位置尽可能的靠近试样上表面的中心部位,热电偶金属丝缚在样品载体棒上。
5.2 热电偶TC2(如图1所示)测量经过试样的空气温度T2。它位于样品盘下方10mm±2mm处。热电偶金属丝缚在样品载体棒上。
注1:热电偶TC2也可以安装在试样盘的下方的钻孔中。
5.3 热电偶TC3(如图1所示)测试加热线圈的温度T3。放置于炉子加热圈附近。
注2:热电偶TC3也可以是直径为1.6mm±0.1mm金属铠裝的热电偶。
6 试样
6.1 材料可以是任何形式,包括复合材料。但它的形式的本质必须在试验报告中充分描述。注1:无机填料含量较高的样品是难评估的。注2:相同的材料在不同状态下测试,结果可能不同。
6.2 密度大于100kg/m3的试样质量为3.0g±0.2g。粒状或粉末状材料,通常要加工成型。片状材料切割成正方形,最大尺寸为(20mm±2mm)×(20mm±2mm),堆积起来达到试样的质量要求。薄膜材料,卷起一条20mm±2mm宽的带,长度达到试样的质量要求。
6.3 密度小于100kg/m3的泡沫状试样,切除外皮,试样制成(20mm±2mm)×(20mm±2mm)×(50mm±5mm)的块状。
如果由于试样体积大、质量轻,易受炉中的气流影响而从试样盘中滑落,试样要用一根细的金属丝束缚起来。
6.4 试样材料量至少能满足两次测试的要求。
6.5 试样状态调节 试样按GB/T 2918-1998中的规定,试验前在环境温度23℃±2℃、相对湿度50%±5%的条件下放置不少于40h。
试样的状态调节亦可按供需双方商定的条件进行,有争议时必须执行本标准的规定。
单位为毫米

1——加热终端;
2——垫圈;
3——圆形耐火隔板;
4——热电偶TC2;
5——支杆;
6——热电偶TC1;
7——空气供应器;
8——引燃火焰;
9——热电偶TC3;
10——金属纽扣;
11——空气流动仪表(不属于炉装置);
12——气流相切缸;
13——隔热层;
14——试样盘;
15——加热金属丝;
16——耐火垫块;
17——热绝缘(可移动式);
18——检查塞(可移动式)。
图1 热空气试验炉
7 试验步骤
7.1 闪燃温度(FIT)
7.1.1 调整通过内管(4.3)的全断面的空气流量Qv(L/min),Qv值利用式(1)计算,空气流量控制在计算值的±10%内,调节空气的流速至25mm/s。
Qv=6.62×293/T ………………………………………… (1)
以上为标准部分内容,如需看标准全文,请到相关授权网站购买标准正版。
- 2023-08-22欧宝网页版登录入口维修保养记录
- 2023-08-22欧宝网页版登录入口设施维修维护
- 2023-08-19欧宝网页版登录入口水池维修
- 2023-08-19欧宝网页版登录入口水炮维修
- 2023-08-19欧宝网页版登录入口线路维修
- 2023-08-19欧宝网页版登录入口维保服务系统
- 2023-08-19欧宝网页版登录入口主机维修维保大全
- 2023-08-19欧宝网页版登录入口维保作用
- 2023-08-18欧宝网页版登录入口维保工作联系单
- 2023-08-18欧宝网页版登录入口维保每年都要做吗
- 2023-08-18 欧宝网页版登录入口维保技术服务
- 2023-08-18欧宝网页版登录入口主板维修
- 2023-08-18欧宝网页版登录入口维保软件
- 2023-08-18欧宝网页版登录入口维保规章制度
- 2023-08-17欧宝网页版登录入口检测和维保
- 2023-08-17欧宝网页版登录入口维保检查
-
IG541混合气体灭火系统
IG541混合气体灭火系统:IG-541灭火系统采用的IG-541混合气体灭火剂是由大气层中的氮气(N2)、氩气(Ar)和二氧化碳(CO2)三种气体分别以52%、40%、8%的比例混合而成的一种灭火剂 -
二氧化碳气体灭火系统
二氧化碳气体灭火系统:二氧化碳气体灭火系统由瓶架、灭火剂瓶组、泄漏检测装置、容器阀、金属软管、单向阀(灭火剂管)、集流管、安全泄漏装置、选择阀、信号反馈装置、灭火剂输送管、喷嘴、驱动气体瓶组、电磁驱动 -
七氟丙烷灭火系统
七氟丙烷(HFC—227ea)灭火系统是一种高效能的灭火设备,其灭火剂HFC—ea是一种无色、无味、低毒性、绝缘性好、无二次污染的气体,对大气臭氧层的耗损潜能值(ODP)为零,是卤代烷1211、130 -
手提式干粉灭火器
手提式干粉灭火器适灭火时,可手提或肩扛灭火器快速奔赴火场,在距燃烧处5米左右,放下灭火器。如在室外,应选择在上风方向喷射。使用的干粉灭火器若是外挂式储压式的,操作者应一手紧握喷枪、另一手提起储气瓶上的


