GB/T 17651.1-2021 电缆或光缆在特定条件下燃烧的烟密度测定 第1部分:试验装置
- 发表时间:2022-11-20
- 来源:共立欧宝网页版登录入口
- 人气:
1 范围
本文件描述了测定电缆或光缆在特定条件下燃烧(例如一些电缆或光缆被水平燃烧时)释出的烟所使用的试验装置的细节。在有焰燃烧或无焰燃烧条件下,透光率(I,)能用来作为比较不同电缆或判断是否符合特定要求的手段。
注:本文件中“电缆”是指用来传输电能或信号的所有绝缘金属导体电缆。
2 规范性引用文件
下列文件中的内容通过文中的规范性引用而构成本文件必不可少的条款。其中,注日期的引用文件,仅该日期对应的版本适用于本文件;不注日期的引用文件,其最新版本(包括所有的修改单)适用于本文件。
IEC 60695-4 电工电子产品着火危险试验 第4部分:着火试验术语(Fire hazard testing-Part 4:Terminology concerning fire tests for electrotechnical products)
ISO/IEC 13943:2000 欧宝网页版登录入口安全 词汇(Fire safety-Vocabulary)
3 术语和定义
IEC 60695-4和ISO/IEC 13943:2000界定的术语和定义适用于本文件。
4 试验箱
试验箱应包括一个用合适材料固定在角钢支架上而构成的立方体,其内部尺寸应为3000mm±30mm。立方体的一面应有一扇带有玻璃观察窗的门。两侧相对的墙上应各设一扇透明密封窗(最小尺寸为100mmx100mm)以让水平光测装置的光束透过。这些密封窗的中心距离地面的高度应为2 150mm±100mm(见图1)。
为了穿电缆或光缆等原因,以及使试验箱内部处于大气压下,试验箱的墙壁在地平面上应开若干通气孔(通气孔距离试验箱内地板不超过100mm)。
任何通气孔都不应直接在火源后面或者在同一面墙上。试验期间应最少打开两个通气孔而且打开的通气孔的总面积应为50cm2±10cm2。
注1:两个通气孔,每个通气孔面积为25cm2±5cm2,两个通气孔的位置在相对的两面墙上,一个在光源下方,一个在接受器下方是较合适的。
试验箱外面的环境温度应为20℃±10℃,而且试验箱不应直接暴露在阳光下或极端气候条件下。
注2:通常每次试验后通过带有阀门的管道尽可能将烟从试验箱内排出,试验时阀门宜关闭,管道可以装设一只排风扇以提高排烟速度,宜打开试验箱的门以加速排烟过程。
挡风屏宽1500mm±50mm,高1000mm±50mm,应在试验箱内的位置如图1所示。挡风屏应紧靠后墙(最大间隙10mm)且与侧面墙距离为750mm±25mm,挡风屏应弯曲与试验箱的中心线相交,交点与后墙相交处距离为1400mm±25mm。
单位为毫米

标引序号说明:
1——光源;
2——挡风屏(高1000±50);
3——风扇鼓风的方向;
4——电缆支架;
5——酒精盘;
6——光程高度2150±100;
7——风扇(风量7m3/min~15m3/min);
8——光电池;
9——门。
图1 试验箱平面图
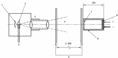
5 光测装置
5.1 光测装置如图2所示。光源和接受器应放在试验箱两个相对的墙上的密封窗外面的居中位置,如图1和图2所示。光束应通过两个墙上的玻璃窗穿过试验箱。
5.2 光源应是一只具有钨丝和透明石英灯泡的卤素灯,具有下述特性:
标称功率:100 W;
标称电压:直流12V;
标称光通量:2 000 lm~~3 000 lm;
标称色温:2 800 K~3 200 K。
灯泡应由电压12.0 V±0.1 V(平均值)供电。试验期间的电压应稳定在±0.01 V的范围内[见A.2c)的补充说明]。灯泡应安装在一个罩子里面,并由镜头系统来调节光束,使在对面墙壁的内表面上产生一个直径为1.5m±0.1m的被均匀照明的圆面。
5.3 接受器光电池应为硒光电池或硅光电池,其光谱响应与国际照明委员会(CIE)的测光仪(相当于人眼)相匹配。光电池应安装在长度为150mm±10mm的管子一端,另一端为防尘窗。管子内表面应为无光泽黑色,以防反射。光电池应与电位记录仪相连以产生线性输出。光电池应加负载电阻使其运行在线性范围内,记录仪的输入阻抗至少应比光电池的负载电阻大10倍,光电池的负载电阻不应超过100Ω。
单位为毫米

标引序号说明:
1——反射镜;
2——供电电压12.0 V±0.1 V(稳压范围±0.01V);
3——石英/卤素灯泡;
4——镜头系统;
5——光束;
6——试验箱密封窗;
7——防尘窗;
8——内表面无光泽管子;
9——光电池。
光源和光电池应与试验箱的墙壁分离开。
从光源发射到对面墙上的光锥直径约为1.5m。
图2 光测装置
5.4 光测装置在空白测试之前应通电。当达到稳定后,应调节记录仪的零刻度和满刻度读数与检测器上的透光率为0%(无光线透过)和100%相对应。
注1:光电池的性能宜定期进行验证,例如在系列试验开始之前进行验证。方法是将标准中性密度滤光片置于光束中,重要的是将这些滤光片覆盖住光电池的整个光线进口,此时用光电池测得的透光率给出的吸收系数Am值(定义见10.5)在滤光片校准值±5%的范围内,同时也宜用滤光片来鉴定检测器的线性响应,在使用范围内,它宜与透光率成正比。
注2:大部分中性密度滤光片是根据吸光度的吸收系数指定的,吸光度与10.5中吸收系数Am定义相同,可用于转换测量的透光率。
以上为标准部分内容,如需看标准全文,请到相关授权网站购买标准正版。
- 2023-08-22欧宝网页版登录入口维修保养记录
- 2023-08-22欧宝网页版登录入口设施维修维护
- 2023-08-19欧宝网页版登录入口水池维修
- 2023-08-19欧宝网页版登录入口水炮维修
- 2023-08-19欧宝网页版登录入口线路维修
- 2023-08-19欧宝网页版登录入口维保服务系统
- 2023-08-19欧宝网页版登录入口主机维修维保大全
- 2023-08-19欧宝网页版登录入口维保作用
- 2023-08-18欧宝网页版登录入口维保工作联系单
- 2023-08-18欧宝网页版登录入口维保每年都要做吗
- 2023-08-18 欧宝网页版登录入口维保技术服务
- 2023-08-18欧宝网页版登录入口主板维修
- 2023-08-18欧宝网页版登录入口维保软件
- 2023-08-18欧宝网页版登录入口维保规章制度
- 2023-08-17欧宝网页版登录入口检测和维保
- 2023-08-17欧宝网页版登录入口维保检查
-
IG541混合气体灭火系统
IG541混合气体灭火系统:IG-541灭火系统采用的IG-541混合气体灭火剂是由大气层中的氮气(N2)、氩气(Ar)和二氧化碳(CO2)三种气体分别以52%、40%、8%的比例混合而成的一种灭火剂 -
二氧化碳气体灭火系统
二氧化碳气体灭火系统:二氧化碳气体灭火系统由瓶架、灭火剂瓶组、泄漏检测装置、容器阀、金属软管、单向阀(灭火剂管)、集流管、安全泄漏装置、选择阀、信号反馈装置、灭火剂输送管、喷嘴、驱动气体瓶组、电磁驱动 -
七氟丙烷灭火系统
七氟丙烷(HFC—227ea)灭火系统是一种高效能的灭火设备,其灭火剂HFC—ea是一种无色、无味、低毒性、绝缘性好、无二次污染的气体,对大气臭氧层的耗损潜能值(ODP)为零,是卤代烷1211、130 -
手提式干粉灭火器
手提式干粉灭火器适灭火时,可手提或肩扛灭火器快速奔赴火场,在距燃烧处5米左右,放下灭火器。如在室外,应选择在上风方向喷射。使用的干粉灭火器若是外挂式储压式的,操作者应一手紧握喷枪、另一手提起储气瓶上的


