GB/T 35497-2017 胶鞋 胶鞋用材料阻燃性能试验方法
- 发表时间:2022-11-17
- 来源:共立欧宝网页版登录入口
- 人气:
警示-使用本标准的人员应有正规实验室工作的实践经验。本标准并未指出所有可能的安全问题,使用者有责任采取适当的安全和健康措施,并保证符合国家有关法规规定的条件。
1 范围
本标准规定了胶鞋用材料阻燃性能的试验方法。
本标准规定了A法和B法两种试验方法,A法为垂直燃烧法,B法为水平燃烧法。
本标准适用于胶鞋用材料及其制品。
本标准不适用于评定胶鞋用材料及其制品实际使用条件下其着火危险性。
2 规范性引用文件
下列文件对于本文件的应用是必不可少的。凡是注日期的引用文件,仅注日期的版本适用于本文件。凡是不注日期的引用文件,其最新版本(包括所有的修改单)适用于本文件。
GB/T 2941 橡胶物理试验方法试样制备和调节通用程序
GB/T 6529 纺织品 调湿和试验用标准大气
3 术语和定义
下列术语和定义适用于本文件。
3.1
续燃时间 afterflame time
在规定的试验条件下,移开引燃源后,材料持续有焰燃烧的时间。
注:单位为秒(s)。
3.2
阴燃时间 afterglow time
在规定的试验条件下,移开引燃源,当有焰燃烧终止后或本为无焰燃烧者,材料将持续无焰燃烧的时间。
注:单位为秒(s)。
3.3
损毁长度 damaged length
在规定的试验条件下,在规定的方向上材料损毁部分的最大长度。
注:单位为毫米(mm)。
3.4
火焰蔓延时间 flame spread time
在规定的试验条件下,火焰在燃烧着的材料上蔓延规定距离所需要的时间。
注:单位为秒(s)。
3.5
火焰蔓延速率 flame spread rate
在规定的试验条件下,单位时间内火焰蔓延的距离。
注:单位为毫米每分钟(mm/min)。
4 原理和方法
4.1 原理
用规定的点火器对试样进行一定时间的点火,然后移去引燃源,测量试样的续燃时间、阴燃时间及损毁长度或者火焰在试样上的蔓延距离和蔓延此距离所用的时间的阻燃性能。
4.2 方法
4.2.1 A法(垂直燃烧法)
将试样固定在垂直夹具上,试样处于垂直位置,规定的点火器对垂直方向的试样的底边中心位置处点火,在一定的点火时间后,移开引燃源,对试样的阻燃性能进行测定。本方法适用于火焰移去后试样的续燃时间、阴燃时间及损毁长度的测定,本方法适用于鞋帮面材料和鞋底材料。
4.2.2 B法(水平燃烧法)
将试样固定在水平夹具上,试样处于水平位置,规定的点火器对其中一端中心位置处点火,在一定的点火时间后,移开引燃源,对试样的阻燃性能进行测定。本方法适用于火焰移去后试样的火焰蔓延时间和距离的测定,并计算火焰传播速率,本方法适用于鞋帮面材料。
注:试验方法A法和B法所获得的结果可能不一致。
5 设备和材料
5.1 A法(垂直燃烧法)的装置
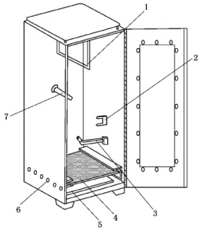
5.1.1 垂直燃烧试验箱(见图1):
a)垂直燃烧试验箱:由耐热及耐烟雾侵蚀的材料制成,箱内尺寸为(330±2)mm×(330±2)mm×(770±2)mm;
b) 箱的前部设有由耐热耐烟雾侵蚀的透明材料制作的观察口,箱顶有均匀排列的16个内径为12.5mm的排气孔;
c) 为防止箱外气流的影响,距箱顶外30mm加装顶板一块,箱两侧下部各开有6个内径为12.5mm的通风孔。箱顶有支架可承挂试样夹,试样夹侧面被试样夹固定装置固定,使试样夹与前门垂直并位于试验箱的中心;
d) 试验夹底部位于点火器管口之上,箱底铺有耐热及耐腐蚀材料制成的板,长宽较箱底各小25mm,厚度约3mm;
e) 试验箱中央放一块可以承受滴溶或其他碎片的丝网板,其最小尺寸为152mm×152mm×1.5mm;
f) 垂直燃烧试验箱,应放置在排气性能良好的通风橱内。
5.1.2 试样夹(用于面料)(见图2):由两块厚2mm,长422mm宽89mm的U型不锈钢板构成,其内框尺寸为356mm×51mm,试样固定于两板中间,两边用夹子夹紧。
5.1.3 点火器(见图3):管口内径为(9.5±0.5)mm,管头与垂线成25°角,点火器入口气体压力为(17.2±1.7)kPa,可控制点火时间精确到0.05s。点火器管口顶端,离试样夹底端距离(17±1)mm。
5.1.4 气体:选用液化石油气。
5.1.5 医用脱脂棉。
5.1.6 直尺:最小刻度值为1mm。
5.1.7 测厚仪:量程10mm,精度为0.01mm。
5.1.8 密封容器。
5.1.9 干燥器。
5.1.10 计时器:最小分度值(或精密度)为0.1s。

说明:
1-试样支架:
2-焰高指示器:
3-点火器;
4-丝网板;
5-耐热及耐腐蚀板:
6-通风孔;
7-试验夹固定装置。
图1 垂直燃烧试验箱

单位为毫米
图2 垂直燃烧试样夹
以上为标准部分内容,如需看标准全文,请到相关授权网站购买标准正版。
- 2023-08-22欧宝网页版登录入口维修保养记录
- 2023-08-22欧宝网页版登录入口设施维修维护
- 2023-08-19欧宝网页版登录入口水池维修
- 2023-08-19欧宝网页版登录入口水炮维修
- 2023-08-19欧宝网页版登录入口线路维修
- 2023-08-19欧宝网页版登录入口维保服务系统
- 2023-08-19欧宝网页版登录入口主机维修维保大全
- 2023-08-19欧宝网页版登录入口维保作用
- 2023-08-18欧宝网页版登录入口维保工作联系单
- 2023-08-18欧宝网页版登录入口维保每年都要做吗
- 2023-08-18 欧宝网页版登录入口维保技术服务
- 2023-08-18欧宝网页版登录入口主板维修
- 2023-08-18欧宝网页版登录入口维保软件
- 2023-08-18欧宝网页版登录入口维保规章制度
- 2023-08-17欧宝网页版登录入口检测和维保
- 2023-08-17欧宝网页版登录入口维保检查
-
IG541混合气体灭火系统
IG541混合气体灭火系统:IG-541灭火系统采用的IG-541混合气体灭火剂是由大气层中的氮气(N2)、氩气(Ar)和二氧化碳(CO2)三种气体分别以52%、40%、8%的比例混合而成的一种灭火剂 -
二氧化碳气体灭火系统
二氧化碳气体灭火系统:二氧化碳气体灭火系统由瓶架、灭火剂瓶组、泄漏检测装置、容器阀、金属软管、单向阀(灭火剂管)、集流管、安全泄漏装置、选择阀、信号反馈装置、灭火剂输送管、喷嘴、驱动气体瓶组、电磁驱动 -
七氟丙烷灭火系统
七氟丙烷(HFC—227ea)灭火系统是一种高效能的灭火设备,其灭火剂HFC—ea是一种无色、无味、低毒性、绝缘性好、无二次污染的气体,对大气臭氧层的耗损潜能值(ODP)为零,是卤代烷1211、130 -
手提式干粉灭火器
手提式干粉灭火器适灭火时,可手提或肩扛灭火器快速奔赴火场,在距燃烧处5米左右,放下灭火器。如在室外,应选择在上风方向喷射。使用的干粉灭火器若是外挂式储压式的,操作者应一手紧握喷枪、另一手提起储气瓶上的


