MT/T 1060-2008 矿用混凝土强度检测仪
- 发表时间:2022-10-20
- 来源:共立欧宝网页版登录入口
- 人气:
1 范围
本标准规定了煤矿用混凝土强度检测仪(以下简称检测仪)的型号、基本参数、技术要求、试验方法、检验规则、标志、包装、运输及贮存。
本标准适用于煤矿用后装拔出法混凝土强度检测仪,其它矿山用混凝土强度检测仪也可参照使用。
2 规范性引用文件
下列文件中的条款通过本标准的引用而成为本标准的条款。凡是注日期的引用文件,其随后所有的修改单(不包括勘误的内容)或修订版均不适用于本标准,然而,鼓励根据本标准达成协议的各方研究是否可使用这些文件的最新版本。凡是不注日期的引用文件,其最新版本适用于本标准。
GB 3836.1 爆炸性气体环境用电气设备 第 1 部分:通用要求(GB 3836.1-2000, eqv IEC 60079-0:1998)
GB 3836.4 爆炸性气体环境用电气设备 第 4 部分:本质安全型 “i” (GB 3836.4-2000, eqv IEC 60079-11:1999)
GB/T 10111 利用随机数骰子进行随机抽样的方法
GB/T 13813 煤矿用金属材料摩擦火花安全性试验方法和判定规则
JJG 621-2005 液压千斤顶检定规程
CECS 69:94 后装拔出法检测混凝土强度技术规程
3 产品构成与基本参数
3.1 产品构成
检测仪由主机、打孔机、磨槽机和锚固件等部分构成。
3.2 型号
检测仪型号编制方法如下:

示例:一套拔出力 30kN 的采用后装拔出法混凝土强度检测仪,其型号标记为 HB30。
3.3 基本参数
检测仪的基本参数包括拔出力(kN)、活塞行程(mm)、示值误差及检测仪重量(kg)。
4 技术要求
4.1 检测仪应符合本标准并按规定程序批准的图样及技术文件制造。
4.2 检测仪主机应使用数字显示表,分辨率不大于 0.1kN,并有峰值保持功能。数字显示表防爆性能应符合 GB 3836.1、GB 3836.4 的规定。
4.3 传感器接头应有防磕碰保护措施及防尘盖。
4.4 检测仪操作应灵活、可靠。空载运行时,液压缸活塞运行平稳,无卡滞现象。空载运行压力应不大于产品额定压力的 5%。
4.5 检测仪在额定压力下液压缸推力应不小于设计值。
4.6 在额定压力的 1.25 倍下,保压 3min,检测仪各部分不应出现外渗漏和破损等异常。
4.7 检测仪示值应以力值为单位,精确至 0.1kN,检测出的力值与混凝土之间的强度换算应按 CECS69: 94 中所规定的方法进行。检测仪示值误差应不大于±2% F·S。
4.8 产品外观应无锈蚀等缺陷,紧固件不应有松动和损伤,密封处无渗油现象,铭牌齐全且固定牢靠。
4.9 检测仪中的气动钻孔机应能在混凝土中钻取直径φ16mm±0.5mm,深度不小于45mm±1mm 的直孔。钻孔机宜带有控制垂直度及深度的装置。气动磨槽机上的磨槽轮直径 φ16mm±0.3mm,厚 10mm±0.3mm,轮轴直径 φ9mm±0.2mm。锚固件由胀簧和拉杆组成。
5 试验方法
5.1 试验条件
检测仪试验条件如下:
a) 温度:15℃ ~ 35℃;
b) 相对湿度:45% ~ 75%。
5.2 检测仪防爆性能试验
数字显示表电气防爆性能应按 GB 3836.1、GB 3836.4 规定进行试验。
5.3 空载性能试验
检测仪在空载状况下,往复运行三次后,测量空载运行压力并观测操作运行状况。
5.4 满载性能试验
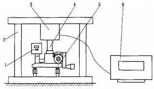
将检测仪与标准测力传感器垂直放置在机架上,使活塞伸出不小于行程的三分之二后,使检测仪在额定压力下工作,测量液压缸推力值(见图 1)。测力计的精度应不低于 1%。
5.5 超载性能试验
将检测仪垂直放置在试验台架上,当活塞伸出不小于行程的三分之二后,使压力值达到额定压力的1.25 倍,保压 3min 观察检测仪各部分的超载性能。
5.6 示值误差性能试验
5.6.1 按 JJG 621-2005 第 6 章的方法,将检测仪连续加压,使活塞伸出行程二分之一,与测力传感器同轴垂直地放置在机架上(见图 1)。

1.数显指示表; 2.机架; 3.传感器;4.接杆;5.检测仪;6.力负荷基准测量仪表
图 1 试验装置
5.6.2 检测仪液压缸对测力传感器施加负荷,加荷等级可按在全量程内取 5 个均匀分布的标定点,从初始负荷开始,按递增顺序施加负荷,直至达到额定负荷。读完额定负荷下的指示表读数后,将负荷退回到初始负荷。以上步骤测定三次。
5.6.3 根据上述检定结果,按公式(1)、(2)求出示值误差。

式中:
i-测定点序,i=1,2,……,n ;
j-测定次序,j=1,2,3;
Pij-与基准力Pi对应的第i点第j次的拉力显示值,单位为千牛(kN);
Pi —与基准力Pi对应的拉力值,单位为千牛(kN);
Pj一第i点的基准力,单位为千牛(kN);
Pe—额定拉力,单位为千牛(kN);
δi—测定第i点时的示值偏差。
5 个检定点中最大的δi 值,即为检测仪示值误差。
5.7 检测仪外观检测
5.7.1 钻头和磨轮直径用(0~150)mm 游标卡尺测量(精度±0.02mm)。
5.7.2 检测仪外观采用目测。
6 检验规则
6.1 出厂检验
6.1.1 检测仪出厂检验项目按表 1 规定进行。
6.1.2 检测仪按所规定的出厂检验项目逐台进行检验。若有一项检验项目不合格时,即判定该台检测仪为不合格品;只有在所规定的出厂检验项目全部合格后,才能判定为合格品。合格品应附有合格证才能出厂。
6.2 型式检验
6.2.1 在下列之一情况下应进行型式检验:
a)新产品或老产品转厂生产时;
b)产品结构、材料、工艺有较大改变,可能影响产品性能时;
c)正常生产的产品每隔五年时;
d)停产一年恢复生产时;
e)出厂检验结果与上次型式检验有较大差异时;
f)国家质量监督机构提出要求时。
6.2.2 型式检验项目按表 1 规定进行。
6.2.3 型式检验样品不少于1台,从抽样基数不少于10台的出厂检验合格品中,按GB/T 10111的规定抽取。
6.2.4 在型式检验样机中,对A类项目,所有检验项目应合格,有一项不合格则判定为不合格。对B 类项目,如有一项检验不合格需对合格项加倍复检,两项不合格则判定为不合格。复检仍有不合格者则判该批产品不合格。
以上为标准部分内容,如需看标准全文,请到相关授权网站购买标准正版。
- 2023-08-22欧宝网页版登录入口维修保养记录
- 2023-08-22欧宝网页版登录入口设施维修维护
- 2023-08-19欧宝网页版登录入口水池维修
- 2023-08-19欧宝网页版登录入口水炮维修
- 2023-08-19欧宝网页版登录入口线路维修
- 2023-08-19欧宝网页版登录入口维保服务系统
- 2023-08-19欧宝网页版登录入口主机维修维保大全
- 2023-08-19欧宝网页版登录入口维保作用
- 2023-08-18欧宝网页版登录入口维保工作联系单
- 2023-08-18欧宝网页版登录入口维保每年都要做吗
- 2023-08-18 欧宝网页版登录入口维保技术服务
- 2023-08-18欧宝网页版登录入口主板维修
- 2023-08-18欧宝网页版登录入口维保软件
- 2023-08-18欧宝网页版登录入口维保规章制度
- 2023-08-17欧宝网页版登录入口检测和维保
- 2023-08-17欧宝网页版登录入口维保检查
-
IG541混合气体灭火系统
IG541混合气体灭火系统:IG-541灭火系统采用的IG-541混合气体灭火剂是由大气层中的氮气(N2)、氩气(Ar)和二氧化碳(CO2)三种气体分别以52%、40%、8%的比例混合而成的一种灭火剂 -
二氧化碳气体灭火系统
二氧化碳气体灭火系统:二氧化碳气体灭火系统由瓶架、灭火剂瓶组、泄漏检测装置、容器阀、金属软管、单向阀(灭火剂管)、集流管、安全泄漏装置、选择阀、信号反馈装置、灭火剂输送管、喷嘴、驱动气体瓶组、电磁驱动 -
七氟丙烷灭火系统
七氟丙烷(HFC—227ea)灭火系统是一种高效能的灭火设备,其灭火剂HFC—ea是一种无色、无味、低毒性、绝缘性好、无二次污染的气体,对大气臭氧层的耗损潜能值(ODP)为零,是卤代烷1211、130 -
手提式干粉灭火器
手提式干粉灭火器适灭火时,可手提或肩扛灭火器快速奔赴火场,在距燃烧处5米左右,放下灭火器。如在室外,应选择在上风方向喷射。使用的干粉灭火器若是外挂式储压式的,操作者应一手紧握喷枪、另一手提起储气瓶上的


