MT/T 785-2011 金刚石复合片取心钻头
- 发表时间:2022-10-07
- 来源:共立欧宝网页版登录入口
- 人气:
1 范围
本标准规定了金刚石复合片取心钻头(以下简称钻头)的型式、型号与参数、技术要求、试验方法、检验规则、标志、包装和贮存。
本标准适用于煤田地质、煤矿井下瓦斯抽放、注水与排水等钻孔的回转钻进用金刚石复合片取心钻头。
2 规范性引用文件
下列文件中的条款通过本标准的引用而成为本标准的条款。凡是注日期的引用文件,其随后所有的修改单(不包括勘误的内容)或修订版均不适用于本标准,然而,鼓励根据本标准达成协议的各方研究是否可使用这些文件的最新版本。凡是不注日期的引用文件,其最新版本适用于本标准。
GB/T 228-2002 金属材料 室温拉伸试验方法(ISO 6892:1998(E),EQV)
GB/T 13264 不合格品百分数的小批计数抽样检验程序及抽样表
JB/T 3235-1999 人造金刚石烧结体磨耗比测定方法
JB/T 10041 超硬材料 金刚石或立方氮化硼/硬质合金复合片品种、尺寸
3 型式、型号与参数
3.1 型式
钻头型式按冠部形状分为平底形和阶梯形,结构见图1。
3.2 型号
钻头型号表示方法如下:

示例:FDP113/89 为金刚石复合片单管平底形普通取心钻头,外径113 mm,内径89 mm。

图1 钻头冠部形状
3.3 参数
3.3.1 普通双管钻头
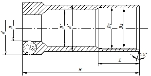
普通双管钻头参数应符合图2和表1的规定。

图2 普通双管钻头
表1 普通双管钻头参数
3.3.2 普通单管钻头
普通单管钻头参数应符合图3和表2的规定。

图3 普通单管钻头
表2 普通单管钻头参数
3.3.3 绳索取心钻头
绳索取心钻头参数应符合图4和表3的规定。

图4 绳索取心钻头
以上为标准部分内容,如需看标准全文,请到相关授权网站购买标准正版。
- 2023-08-22欧宝网页版登录入口维修保养记录
- 2023-08-22欧宝网页版登录入口设施维修维护
- 2023-08-19欧宝网页版登录入口水池维修
- 2023-08-19欧宝网页版登录入口水炮维修
- 2023-08-19欧宝网页版登录入口线路维修
- 2023-08-19欧宝网页版登录入口维保服务系统
- 2023-08-19欧宝网页版登录入口主机维修维保大全
- 2023-08-19欧宝网页版登录入口维保作用
- 2023-08-18欧宝网页版登录入口维保工作联系单
- 2023-08-18欧宝网页版登录入口维保每年都要做吗
- 2023-08-18 欧宝网页版登录入口维保技术服务
- 2023-08-18欧宝网页版登录入口主板维修
- 2023-08-18欧宝网页版登录入口维保软件
- 2023-08-18欧宝网页版登录入口维保规章制度
- 2023-08-17欧宝网页版登录入口检测和维保
- 2023-08-17欧宝网页版登录入口维保检查
-
IG541混合气体灭火系统
IG541混合气体灭火系统:IG-541灭火系统采用的IG-541混合气体灭火剂是由大气层中的氮气(N2)、氩气(Ar)和二氧化碳(CO2)三种气体分别以52%、40%、8%的比例混合而成的一种灭火剂 -
二氧化碳气体灭火系统
二氧化碳气体灭火系统:二氧化碳气体灭火系统由瓶架、灭火剂瓶组、泄漏检测装置、容器阀、金属软管、单向阀(灭火剂管)、集流管、安全泄漏装置、选择阀、信号反馈装置、灭火剂输送管、喷嘴、驱动气体瓶组、电磁驱动 -
七氟丙烷灭火系统
七氟丙烷(HFC—227ea)灭火系统是一种高效能的灭火设备,其灭火剂HFC—ea是一种无色、无味、低毒性、绝缘性好、无二次污染的气体,对大气臭氧层的耗损潜能值(ODP)为零,是卤代烷1211、130 -
手提式干粉灭火器
手提式干粉灭火器适灭火时,可手提或肩扛灭火器快速奔赴火场,在距燃烧处5米左右,放下灭火器。如在室外,应选择在上风方向喷射。使用的干粉灭火器若是外挂式储压式的,操作者应一手紧握喷枪、另一手提起储气瓶上的


