MT 146.2-2011 树脂锚杆 第2部分:金属杆体及其附件
- 发表时间:2022-10-06
- 来源:共立欧宝网页版登录入口
- 人气:
1 范围
MT 146的本部分规定了树脂锚杆金属杆体及其附件的产品分类、技术要求、试验方法、检验规则、标志、包装、运输和贮存。
本部分适用于矿山井巷支护用的树脂锚杆金属杆体及其附件。
2 规范性引用文件
下列文件中的条款通过MT 146的本部分的引用而成为本部分的条款。凡是注日期的引用文件,其随后所有的修改单(不包括勘误的内容)或修订版均不适用于本部分,然而,鼓励根据本部分达成协议的各方研究是否可使用这些文件的最新版本。凡是不注日期的引用文件,其最新版本适用于本部分。
GB/T 228 金属材料 室温拉伸试验方法(GB/T228-2002,ISO6892:1998(E),EQV)
GB 1499.1 钢筋混凝土用钢 第1部分:热轧光圆钢筋 (GB1499.1-2008,ISO6935-1:1991,NEQ)
GB 1499.2 钢筋混凝土用钢 第2部分:热轧带肋钢筋(GB1499.2-2007,ISO6935-2:1991,NEQ)
GB/T 2828.2-2008 计数抽样检验程序 第2部分:按极限质量LQ检索的孤立批检验抽样方案
GB/T 2829-2002 周期检验计数抽样程序及表(适用于对过程稳定性的检验)
GB/T 3098.2 紧固件机械性能 螺母 粗牙螺纹(GB/T3098.2-2000,ISO898-2:1992,IDT)
GB /T 6170 1型六角螺母(GB/T6170-2000,ISO4302:1999,EQV)
GB/T 10111 随机数的产生及其在产品质量抽样检验中的应用程序
MT 146.1 树脂锚杆 第1部分:锚固剂
MT/T154.1 煤矿机电产品型号编制方法 第1部分:导则
3 术语和定义
MT 146.1中确立的以及下列术语和定义适用于MT 146的本部分。
3.1
麻花式树脂锚杆金属杆体 headed twist bar
在金属杆体端部加工成一定规格的左旋麻花形锚头,尾部加工成可上螺母的螺纹。
3.2
无纵肋螺纹钢式树脂锚杆金属杆体 ribbed bars with non-longitudinal ribs
杆体由无纵肋左旋螺纹钢制成, 尾部加工成可上螺母的螺纹。
3.3
等强螺纹钢式树脂锚杆金属杆体 fully ribbed bars
由右(或左)旋精轧螺纹钢制成,螺纹连续,全长可上螺母。
3.4
螺母组装件承载效率系数 efficiency tactor of bar threaded or ribbed end
尾部螺纹、螺母组装件承载力与杆体母材最大力实测平均值之比。
4 产品分类
4.1 分类
4.1.1 总则
产品按杆体材料和结构形式进行分类。
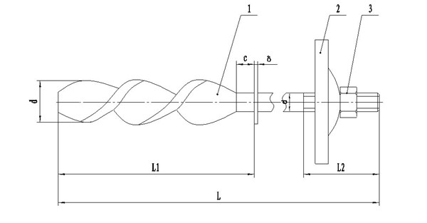
4.1.2 麻花式树脂锚杆金属杆体
麻花式树脂锚杆金属杆体及附件,如图1所示。

1—杆体;2—托盘;3—螺母
图1 麻花式树脂锚杆金属杆体及附件
4.1.3 螺纹钢式树脂锚杆金属杆体
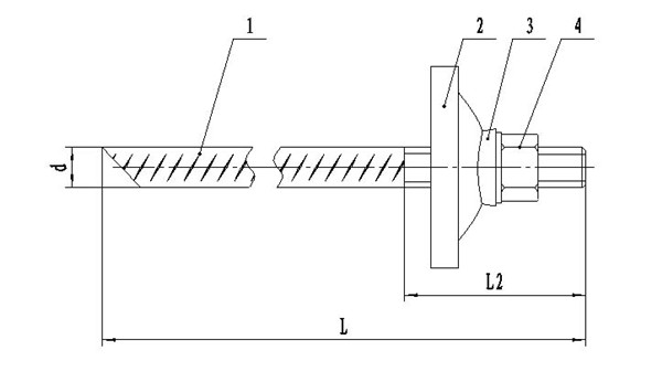
4.1.3.1 无纵肋螺纹钢式树脂锚杆金属杆体及附件,如图2所示。

1—杆体;2—托盘;3—球垫;4—螺母
图2 无纵肋螺纹钢式树脂锚杆金属杆体及附件
4.1.3.2 等强螺纹钢式树脂锚杆金属杆体及附件,如图3所示。

1—杆体;2—托盘;3—螺母
图3 等强螺纹钢式树脂锚杆金属杆体及附件
4.2 规格
产品规格应符合表1规定。
表1 产品规格 单位为毫米
杆体公称直径d | 杆体长度L | ||||||
1400 | 1600 | 1800 | 2000 | 2200 | 2400 | 2600 | |
16 | — | + | + | + | — | — | — |
18 | — | + | + | + | + | — | — |
20 | — | — | + | + | + | + | — |
22 | — | — | — | + | + | + | + |
25 | — | — | — | — | + | + | + |
注1:+号表示优先选用长度。 注2:用户特殊需要时,可生产其他规格的树脂锚杆金属杆体。 | |||||||
注1:+号表示优先选用长度。
注2:用户特殊需要时,可生产其他规格的树脂锚杆金属杆体。
4.3 型号
金属杆体的型号编制依据MT/T154.1
4.3.1 麻花式树脂锚杆金属杆体型号表示方法如下:

4.3.2 螺纹钢式树脂锚杆金属杆体型号表示方法如下:

示例:公称直径20 mm,长度2000 mm,屈服强度335 MPa的无纵肋螺纹钢式树脂锚杆金属杆体,可表示为MSGLW-335 / 20×2000。
5 技术要求
5.1 杆体
5.1.1 外观
应无严重锈蚀,锚固段无油污。
5.1.2 杆体材料力学性能
螺纹钢式杆体优先选用屈服强度不小于335 MPa的左旋无纵肋螺纹钢筋,根据需要也可选用精轧右旋(或左旋)全螺纹钢筋;麻花式树脂锚杆金属杆体选用屈服强度不小于235 MPa的普通热轧圆钢,也可选用屈服强度不小于335 MPa的螺纹钢筋。
钢筋混凝土用热轧光圆钢筋尺寸、屈服强度、抗拉强度应符合GB 1499.1的规定;左旋无纵肋钢筋和精轧右旋(或左旋)全螺纹钢筋屈服强度、抗拉强度应符合GB 1499.2的规定,但企业应对外观尺寸做出要求。
杆体材料断后伸长率应不小于15%。
以上为标准部分内容,如需看标准全文,请到相关授权网站购买标准正版。
- 2023-08-22欧宝网页版登录入口维修保养记录
- 2023-08-22欧宝网页版登录入口设施维修维护
- 2023-08-19欧宝网页版登录入口水池维修
- 2023-08-19欧宝网页版登录入口水炮维修
- 2023-08-19欧宝网页版登录入口线路维修
- 2023-08-19欧宝网页版登录入口维保服务系统
- 2023-08-19欧宝网页版登录入口主机维修维保大全
- 2023-08-19欧宝网页版登录入口维保作用
- 2023-08-18欧宝网页版登录入口维保工作联系单
- 2023-08-18欧宝网页版登录入口维保每年都要做吗
- 2023-08-18 欧宝网页版登录入口维保技术服务
- 2023-08-18欧宝网页版登录入口主板维修
- 2023-08-18欧宝网页版登录入口维保软件
- 2023-08-18欧宝网页版登录入口维保规章制度
- 2023-08-17欧宝网页版登录入口检测和维保
- 2023-08-17欧宝网页版登录入口维保检查
-
IG541混合气体灭火系统
IG541混合气体灭火系统:IG-541灭火系统采用的IG-541混合气体灭火剂是由大气层中的氮气(N2)、氩气(Ar)和二氧化碳(CO2)三种气体分别以52%、40%、8%的比例混合而成的一种灭火剂 -
二氧化碳气体灭火系统
二氧化碳气体灭火系统:二氧化碳气体灭火系统由瓶架、灭火剂瓶组、泄漏检测装置、容器阀、金属软管、单向阀(灭火剂管)、集流管、安全泄漏装置、选择阀、信号反馈装置、灭火剂输送管、喷嘴、驱动气体瓶组、电磁驱动 -
七氟丙烷灭火系统
七氟丙烷(HFC—227ea)灭火系统是一种高效能的灭火设备,其灭火剂HFC—ea是一种无色、无味、低毒性、绝缘性好、无二次污染的气体,对大气臭氧层的耗损潜能值(ODP)为零,是卤代烷1211、130 -
手提式干粉灭火器
手提式干粉灭火器适灭火时,可手提或肩扛灭火器快速奔赴火场,在距燃烧处5米左右,放下灭火器。如在室外,应选择在上风方向喷射。使用的干粉灭火器若是外挂式储压式的,操作者应一手紧握喷枪、另一手提起储气瓶上的


