MT/T 593.5-2011 人工冻土物理力学性能试验 第5部分:人工冻土三轴剪切强度试验方法
- 发表时间:2022-10-05
- 来源:共立欧宝网页版登录入口
- 人气:
1 范围
MT/T 593的本部分规定了人工冻土多试样和单试样三轴压缩试验用仪器、设备,试样,基本要求,试验步骤和计算、制图。
本部分适用于对冻结原状土及冻结重塑土三轴压缩强度参数测试和计算。
2 规范性引用文件
下列文件中的条款通过MT/T593的本部分的引用而成为本部分的条款。凡是注日期的引用文件,其随后所有的修改单(不包括勘误的内容)或修订版均不适用于本部分,然而,鼓励根据本部分达成协议的各方研究是否可使用这些文件的最新版本。凡是不注日期的引用文件,其最新版本适用于本部分。
MT/T 593.1 人工冻土物理力学性能试验 第1部分:人工冻土试验取样及试样制备方法
MT/T 593.3 人工冻土物理力学性能试验 第3部分:人工冻土静水压力下固结试验方法
MT/T 593.4 人工冻土物理力学性能试验 第4部分:人工冻土单轴抗压强度试验方法
3 术语和定义
下列术语和定义适用于本标准。
3.1
三轴剪切试验 tri-axial shear test
在不同的恒定围压(即小主应力)下施加轴向压应力(主应力差)进行剪切直至破坏过程。
4 试验用仪器、设备
4.1 三轴压缩试验仪(如图1所示):变速率可调,最大轴向荷载200 kN,围压6 MPa(适用于土层埋深小于300 m)、12 MPa(适用于土层埋深小于700 m)或20 MPa(适用于土层埋深小于1200 m),波动度不超过10 kPa。
4.2 应力及变形测试元件:压力传感器(量程0 kN~200 kN,精度1%);位移传感器(轴向量程0 mm~50 mm,精度1%);数据自动采集系统等。
4.3 温度传感器:量程 -40℃~+40℃,精度0.2℃。
4.4 冷却及温控设备。
4.5 试验用含水率、密度测试装置。

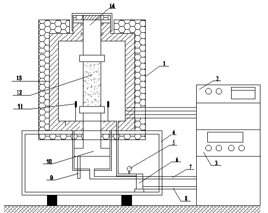
1-油缸 2-制冷系统 3-液压系统 4-支座 5-围压量测装置 6-体变量测装置 7-轴压加载油路8-围压加载油路 9-轴向位移传感器 10-轴向加载活塞 11-温度传感器 12-试样 13-保温层 14-轴向压力传感器
图1 低温三轴压缩试验仪
5 试样
5.1 采用冻结原状土试样和冻结重塑土试样,其制备方法按MT/T 593.1中6.2.2和6.2.3的规定进行。
5.2 试验规格应与MT/T 593.4所采用的试样规格一致。
5.3 试样数量:1个(单试样分级加载)或3~4个(多试样加载)。
6 基本要求
6.1 试验应在规定的试验温度中进行。
6.2 温度波动度小于等于±0.2℃。
6.3 只有一种试验温度时,应选择-10℃;若有多种试验温度时,其中应有-10℃;如果有特殊要求,可另选试验温度。
6.4 试验前各试验用仪器、设备应校正合格。
7 试验步骤
7.1 多试样三轴压缩试验
7.1.1 核实试样的来源、编号、密度、含水率,并填入附录A表内。
7.1.2 根据试样所处层位的静水压力0.013 H,其中H为试验土层深度(单位m),确定出三级围压值:(0.013 H-1)MPa、(0.013H)MPa和(0.013H+1)MPa,或(0.013H)MPa、(0.013H+1)MPa和(0.013H+2)MPa(当深度小于120m时)。
7.1.3 按MT/T593.3中7.1~7.7步骤进行试样固结。
7.1.4 轴向应变速率取1%/min。
7.1.5 启动三轴试验仪,测读体变测量仪的数值,试验过程中围压波动度不大于±10kPa。
7.1.6 试验开始阶段,试样应变每增加0.3%~0.4%测读轴向荷载及变形各一次,当应变达3%以后,每增加0.6%~0.7%各测读一次,体积变化由体变测量仪随时记录。如果试样特别硬脆或软弱,可增加或减少测读的次数。
7.1.7 当轴向应力不再增加时,继续加载到轴向应变增加3%~5%,若压力传感器读数无明显变化,试验直至轴向应变达到20%为止,记录荷载及变形终值。
7.1.8 试验结束后卸去轴向荷载和围压,描述试样破坏后形状,测定试验后试样的含水率和密度。
7.1.9 对其余几个试样,在不同围压下按7.1.1~7.1.8规定的步骤进行。
7.2 单试样分级加载三轴剪切试验
7.2.1 按7.1.1~7.1.6规定的步骤进行。
7.2.2 当荷载值接近稳定(主应力差小于5kPa)或轴向应变达到弹性极限后刚出现屈服时,停止加载。记录荷载及轴向变形。
7.2.3 卸去轴向荷载,施加第二级围压,固结稳定之后按7.1.4~7.1.6和7.2.2规定的步骤进行。
7.2.4 卸去轴向荷载,施加第三级围压,固结稳定之后按7.1.4~7.1.6和7.2.2规定的步骤进行,最后一级围压下的剪切直至试样破坏为止。
7.2.5 按7.1.8的规定进行。
8 计算、制图
8.1 试样固结后高度、面积及剪切时的轴向应变、面积计算
8.1.1 多试样三轴剪切试验
a)固结后的试样高度及面积:
hc = h0 - Δhc ………………………………………………………(1)
Ac = (V0 - ΔVc)/hc……………………………… …………………(2)
式中:
hc——固结后试样高度,单位为毫米(mm);
h0——固结前试样高度,单位为毫米(mm);
Δhc——固结后试样高度的变化量,单位为毫米(mm);
Ac——固结后试样截面积,单位为平方毫米(mm2);
V0——固结前试样体积,单位为立方毫米(mm3);
ΔVc——固结后试样体积变化量,单位为立方毫米(mm3)。
b)剪切时的试样应变及面积:
ε1 = Δh/hc ……………………………………………………………(3)
ε3 = ΔD/D0 ……………………………………………………………(4)
Aa = Ac/(1-ε1)…………………………………………………………(5)
式中:
ε1——轴向应变;
Δh——剪切过程中试样轴向变形,单位为毫米(mm);
ε3——试样平均径向应变;
以上为标准部分内容,如需看标准全文,请到相关授权网站购买标准正版。
- 2023-08-22欧宝网页版登录入口维修保养记录
- 2023-08-22欧宝网页版登录入口设施维修维护
- 2023-08-19欧宝网页版登录入口水池维修
- 2023-08-19欧宝网页版登录入口水炮维修
- 2023-08-19欧宝网页版登录入口线路维修
- 2023-08-19欧宝网页版登录入口维保服务系统
- 2023-08-19欧宝网页版登录入口主机维修维保大全
- 2023-08-19欧宝网页版登录入口维保作用
- 2023-08-18欧宝网页版登录入口维保工作联系单
- 2023-08-18欧宝网页版登录入口维保每年都要做吗
- 2023-08-18 欧宝网页版登录入口维保技术服务
- 2023-08-18欧宝网页版登录入口主板维修
- 2023-08-18欧宝网页版登录入口维保软件
- 2023-08-18欧宝网页版登录入口维保规章制度
- 2023-08-17欧宝网页版登录入口检测和维保
- 2023-08-17欧宝网页版登录入口维保检查
-
IG541混合气体灭火系统
IG541混合气体灭火系统:IG-541灭火系统采用的IG-541混合气体灭火剂是由大气层中的氮气(N2)、氩气(Ar)和二氧化碳(CO2)三种气体分别以52%、40%、8%的比例混合而成的一种灭火剂 -
二氧化碳气体灭火系统
二氧化碳气体灭火系统:二氧化碳气体灭火系统由瓶架、灭火剂瓶组、泄漏检测装置、容器阀、金属软管、单向阀(灭火剂管)、集流管、安全泄漏装置、选择阀、信号反馈装置、灭火剂输送管、喷嘴、驱动气体瓶组、电磁驱动 -
七氟丙烷灭火系统
七氟丙烷(HFC—227ea)灭火系统是一种高效能的灭火设备,其灭火剂HFC—ea是一种无色、无味、低毒性、绝缘性好、无二次污染的气体,对大气臭氧层的耗损潜能值(ODP)为零,是卤代烷1211、130 -
手提式干粉灭火器
手提式干粉灭火器适灭火时,可手提或肩扛灭火器快速奔赴火场,在距燃烧处5米左右,放下灭火器。如在室外,应选择在上风方向喷射。使用的干粉灭火器若是外挂式储压式的,操作者应一手紧握喷枪、另一手提起储气瓶上的


