MT/T 741-2011 煤系高岭岩三氧化二铝浸出率测定方法
- 发表时间:2022-09-30
- 来源:共立欧宝网页版登录入口
- 人气:
1 范围
本标准规定了测定煤系高岭岩三氧化二铝浸出率的试剂、仪器设备、试样制备、测定步骤、结果计算、精密度及试验报告。
本标准适用于煤系高岭岩。
2 规范性引用文件
下列文件对于本文件的应用是必不可少的。凡是注日期的引用文件,仅所注日期的版本适用于本文件。凡是不注日期的引用文件,其最新版本(包括所有的修改单)适用于本文件。
GB 474 煤样的制备方法(GB 474-2008,ISO 18283:2006, Hard coal and coke—Manual sampling, MOD)
GB/T 14563-2008 高岭土及其试验方法
3 方法提要
将煤系高岭岩破碎、研磨至规定粒度,在一定温度下灼烧,先测定试样中三氧化二铝质量分数,再测定硫酸浸出三氧化二铝质量分数。根据试样中三氧化二铝质量分数与硫酸浸出三氧化二铝质量分数,计算煤系高岭岩三氧化二铝浸出率。
4 试剂
4.1 氨水:密度0.9 g/cm3。
4.2 盐酸:密度1.19 g/cm3。
4.3 硫酸:密度1.84 g/cm3。
4.4 氨水溶液 (1+1):将氨水与等体积水混合。
4.5 盐酸溶液 (1+1): 将盐酸与等体积水混合。
4.6 硫酸溶液 (1+1):将硫酸在不断搅拌下缓慢倒入等体积水中。
4.7 硫酸溶液 (1+5): 将1份硫酸在不断搅拌下缓慢倒入5份水中。
4.8 乙酸—乙酸铵缓冲溶液:将77.00 g乙酸铵溶于500 mL水中,加入58.9 mL冰乙酸,再用水稀释至1 000 mL。此溶液pH值为4.5。
4.9 乙酸—乙酸钠缓冲溶液:将136.00 g乙酸钠(NaAc·3H2O)溶于适量水中,加入3.3 mL冰乙酸,再用水稀释至1 000 mL。此溶液pH值为6.0。
4.10 硫酸铜溶液[c(CuSO4)= 0.035 mol/L]:将8.738 8 g硫酸铜(CuSO4·5H2O)溶于已加入5滴硫酸溶液(4.6)的200 mL水中,再用水稀释至1 000 mL。
准确吸取EDTA标准溶液20 mL于 250 mL 烧杯中,用水稀释至100mL,加乙酸—乙酸铵缓冲溶液20 mL及亚硝基红盐指示剂2 mL,用硫酸铜溶液滴定,溶液由黄色经翠绿色突变为草绿色为终点。
每毫升硫酸铜溶液相当于EDTA标准溶液的体积K 按式(1)计算:
K = VEDTA/V …………………………………………………( 1 )
式中:
VEDTA——吸取EDTA标准溶液体积,单位为毫升(mL);
V——滴定时消耗硫酸铜溶液体积,单位为毫升(mL)。
4.11 EDTA标准溶液[c(EDTA)=0.035 mol/L]:
将13.00 g 乙二胺四乙酸二钠溶于 300 mL水中,再用水稀释至 1 000 mL。
标定:准确吸取氧化锌标准溶液20 mL于 250 mL烧杯中,用水稀释至 100 mL,加乙酸—乙酸钠缓冲溶液20 mL及二甲酚橙指示剂3滴,用EDTA标准溶液滴定,溶液由红色变为黄色为终点。
EDTA 标准溶液的浓度c( mol/L)按式(2)计算:
c = cZnO × VZnO / VEDTA ……………………………………………( 2 )
式中:
cZnO——氧化锌标准溶液的浓度,单位为摩尔每升(mol/L);
VZnO——吸取氧化锌标准溶液体积,单位为毫升(mL);
VEDTA——滴定时消耗EDTA标准溶液体积,单位为毫升(mL)。
EDTA 标准溶液对三氧化二铝的滴定度T(mg/mL)按式(3)计算:
T=c×50.98………………………………………………( 3 )
式中:
c——EDTA标准溶液浓度,单位为摩尔每升(mol/L);
50.98——与1.00 mL EDTA标准溶液[c(EDTA)=1.00 mol/L]相当的三氧化二铝的质量,单位为克每摩尔(g/moL)。
4.12 氧化锌标准溶液[c(ZnO)=0.01 mol/L]:
称取经900℃灼烧过的基准氧化锌0.813 8 g于250mL烧杯中,用20 mL盐酸溶液溶解,移入1 000 mL容量瓶中,用水稀释至刻度,摇匀。
4.13 甲基橙指示剂:1g/L,0.1g甲基橙溶于100 mL水中。
4.14 亚硝基红盐指示剂:2 g/L,0.2g亚硝基红盐溶于100mL水中。
4.15 二甲酚橙指示剂:2 g/L,0.2g二甲酚橙溶于100mL水中。
4.16 其它试剂同GB/T 14563-2008 规定。
5 仪器设备
5.1 马弗炉:带有控温装置,能保持温度为(750±10)℃。
5.2 水浴锅:能自动控温,保持温度为(98±2)℃。
5.3 电动搅拌器,转速可调。
5.4 真空泵,抽气速率≥0.5 L/s,真空度>80kPa。
5.5 瓷舟:6cm×12cm。
5.6 圆底烧瓶:500mL。
5.7 具支锥形瓶:1000mL。
5.8 布氏漏斗:直径125mm。
5.9 广口瓶:500mL。
5.10 其它仪器设备同GB/T 14563-2008 规定。
6 试样制备
6.1 参照GB 474规定,将煤系高岭岩破碎、缩分、研磨至小于0.15mm。
6.2 称取50g样品于瓷舟中,铺平,放入马弗炉内,从室温升至(750±10)℃,在此温度下灼烧60min,取出,放入干燥器内。
7 测定步骤
7.1 试样三氧化二铝的测定
按照 GB/T 14563-2008 规定测定。
7.2 试样浸出三氧化二铝的测定
7.2.1 测定溶液的制备
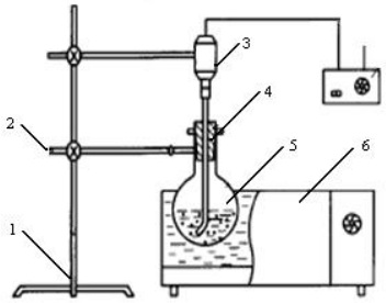
称取25g(准确至0.02g)试样,置于500mL圆底烧瓶中,加入硫酸溶液(4.7)150 mL,按图1所示安装好仪器。通电升温至水浴温度为 (98±2)℃时,开动搅拌器,在此温度下浸取80min。

1——铁支架;
2——铁夹;
3——电动搅拌器;
4——带孔橡皮塞;
5——圆底烧瓶;
6——水浴锅。
图1 浸取反应装置图
按图2所示,安装好减压抽气过滤装置,趁热过滤,用热蒸馏水(约300 mL)冲洗滤渣(4~5)次。
以上为标准部分内容,如需看标准全文,请到相关授权网站购买标准正版。
- 2023-08-22欧宝网页版登录入口维修保养记录
- 2023-08-22欧宝网页版登录入口设施维修维护
- 2023-08-19欧宝网页版登录入口水池维修
- 2023-08-19欧宝网页版登录入口水炮维修
- 2023-08-19欧宝网页版登录入口线路维修
- 2023-08-19欧宝网页版登录入口维保服务系统
- 2023-08-19欧宝网页版登录入口主机维修维保大全
- 2023-08-19欧宝网页版登录入口维保作用
- 2023-08-18欧宝网页版登录入口维保工作联系单
- 2023-08-18欧宝网页版登录入口维保每年都要做吗
- 2023-08-18 欧宝网页版登录入口维保技术服务
- 2023-08-18欧宝网页版登录入口主板维修
- 2023-08-18欧宝网页版登录入口维保软件
- 2023-08-18欧宝网页版登录入口维保规章制度
- 2023-08-17欧宝网页版登录入口检测和维保
- 2023-08-17欧宝网页版登录入口维保检查
-
IG541混合气体灭火系统
IG541混合气体灭火系统:IG-541灭火系统采用的IG-541混合气体灭火剂是由大气层中的氮气(N2)、氩气(Ar)和二氧化碳(CO2)三种气体分别以52%、40%、8%的比例混合而成的一种灭火剂 -
二氧化碳气体灭火系统
二氧化碳气体灭火系统:二氧化碳气体灭火系统由瓶架、灭火剂瓶组、泄漏检测装置、容器阀、金属软管、单向阀(灭火剂管)、集流管、安全泄漏装置、选择阀、信号反馈装置、灭火剂输送管、喷嘴、驱动气体瓶组、电磁驱动 -
七氟丙烷灭火系统
七氟丙烷(HFC—227ea)灭火系统是一种高效能的灭火设备,其灭火剂HFC—ea是一种无色、无味、低毒性、绝缘性好、无二次污染的气体,对大气臭氧层的耗损潜能值(ODP)为零,是卤代烷1211、130 -
手提式干粉灭火器
手提式干粉灭火器适灭火时,可手提或肩扛灭火器快速奔赴火场,在距燃烧处5米左右,放下灭火器。如在室外,应选择在上风方向喷射。使用的干粉灭火器若是外挂式储压式的,操作者应一手紧握喷枪、另一手提起储气瓶上的


