AQ/T 1068-2008 煤自燃倾向性的氧化动力学测定方法
- 发表时间:2022-09-29
- 来源:共立欧宝网页版登录入口
- 人气:
1 范围
本标准规定了煤自燃倾向性的氧化动力学测定方法的测试系统、测试条件、测试步骤、分类与分类指标,并界定了相关的术语和定义。
本标准适用于煤自燃倾向性的鉴定。
2 规范性引用文件
下列文件中的条款通过本标准的引用而成为本标准的条款。凡是注日期的引用文件,其随后所有 的修改单(不包括勘误的内容)或修订版均不适用于本标准,然而,鼓励根据本标准达成协议的各方研究 是否可使用这些文件的最新版本。凡是不注日期的引用文件,其最新版本适用于本标准。
GB 474-1996 煤样的制备方法
GB 482-1995 煤层煤样采取方法
GB/T 19222-2003 煤岩样品采取方法
GB/T 20104-2006 煤自燃倾向性色谱吸氧鉴定法
JJG 700-1999 气相色谱仪检定规程
3 术语和定义
下列术语和定义适用于本标准。
3.1
煤自燃倾向性 propensity of coal to spontaneous combustion
煤在常温下氧化能力的内在属性。
3.2
氧化动力学 oxidation kinetics
从化学动力学角度研究煤氧化反应过程的方法。
3.3
程序升温 programmed-temperature heating
煤样所在控温箱的温度按预先设定的升温速率进行升温。
3.4
交叉点温度 crossing point temperature
在程序升温条件下,煤样几何中心温度与控温箱温度相等时的温度即为交叉点温度,记作Tcpi。
3.5
标准气样 calibration gas
标准气样是一种高度均匀、稳定性良好和量值准确的气体,本标准指氧气浓度为20.96%的干空气。
3.6
判定指数 classification index
综合反映煤自燃倾向性的鉴定指标。
4 方法提要
本标准通过测试在程序升温条件下煤样温度达70 ℃时煤样罐出气口氧气浓度和之后的交叉点温度,得出煤自燃倾向性的判定指数,根据该指数对煤自燃倾向性的分类作出鉴定。
5 测试系统与辅助器材
5.1 测试系统
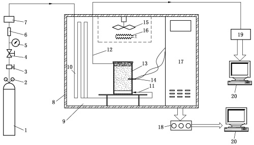
本标准的测试系统由干空气瓶、气体预热铜管、煤样罐、控温箱、气体采集及分析系统和数据采集系 统等部分组成(图1)。

1--干空气瓶;
2--减压阀;
3--稳压阀;
4--稳流阀;
5--压力表;
6--气阻;
7--流量传感器;
8--隔热层;
9--控温箱;
10--气体预热铜管;
11--进气管;
12--出气管;
13--煤样罐;
14--箱电阻温度传感器;
15--风扇;
16--加热器;
17--控制器及显示键盘;
18--数据采集系统;
19--气相色谱仪;
20--计算机。
图1 煤自燃倾向性鉴定系统
5.1.1 干空气瓶
总压力满足气瓶使用规定,减压阀出口压力稳定在0.5 MPa。
5.1.2 气体预热铜管
气体预热管路为纯铜材质管路,长50 m、外径怩mm、内径1 mm。
5.1.3 控温箱
控温箱内壁为不锈钢材质,内壁和外壳之间装设有石棉保温层,能够实现恒温、程序升温两种运行方式,其可控温度范围为室温〜350 ℃,控温精度为±0.5 ℃。可通过设定参数,对气体流量、控温方式 及控温箱温度等条件进行控制。
5.1.4 气体采集与分析系统
通过外径公mm、内径M mm的不锈钢管将煤样温度达70 ℃时的煤样罐出气口气样送入气相色谱仪进行分析。
5.1.5 数据采集系统
数据采集系统对煤样几何中心的温度和煤样罐所处控温箱的内部温度进行实时采集。
5.1.6 煤样罐
煤样罐为黄铜材质圆柱体,结构见附录A。
5.2 辅助器材
a)煤样粉碎机。
b)标准分析筛。
c) 天平(精度:0.1g)。
6 测试步骤
6.1 测试准备
6.1.1 煤样的采取
按GB 482-1995,GB/T 19222-2003的规定采取煤样,同时应遵照附录B的规定。
6.1.2 煤样的制备
按GB 474-1996制备煤样,同时符合以下规定:
a)用堆锥四分法缩分至500 g〜600 g,用于制备分析煤样,其余煤样密封后存封,以备存查。
b)将煤样粉碎后筛分0.18 mm〜0.38 mm粒度范围,并按GB 474-1996空气干燥方法制成 40 ℃空气干燥煤样作为待测煤样。
c)待测煤样在广口瓶中密封保存,并于7天内完成相关参数的测定。
d)原始煤样及分析煤样在鉴定报告完成后继续封存6个月。
6.1.3 仪器检查与装样
a)检查仪器的气密性。
b)检查铝电阻温度传感器、数据采集系统的运行状态,并对存在的问题进行调试。
c) 对气相色谱仪进行调试,热导检测器TCD除满足JJG 700-1999的规定外还须达到以下条 件:柱箱控温精度为±0.1% ;基线噪声≤30 μV(峰对峰),基线漂移≤150 MV /30 mm;灵敏度 S≥3 000 mVg ml/mg。
d)确认气密性良好、各种相关仪器运行正常后,装入(50±0.1)g待测煤样,煤样上方均匀覆盖一 层厚度为2 mm〜3 mm的石棉,对气流进行过滤防止堵塞气路。
e)装样完毕后应再次检查仪器气密性。
6.1.4 气相色谱仪的校准
气相色谱仪的校准应满足以下条件:连续两次标准气样的分析结果之间的差值在±0.02%以内。
6.2 氧气浓度和交叉点温度的测定
a)以96 ml/mm的稳定流量向煤样罐通入干空气(氧气浓度为20.96% ),同时控温箱设定为 40℃恒温运行。
b)煤样温度达到35 ℃时,将通入煤样罐的干空气流量调为8 ml/mm并保持稳定,控温箱仍然 40℃恒温运行。
以上为标准部分内容,如需看标准全文,请到相关授权网站购买标准正版。
- 2023-08-22欧宝网页版登录入口维修保养记录
- 2023-08-22欧宝网页版登录入口设施维修维护
- 2023-08-19欧宝网页版登录入口水池维修
- 2023-08-19欧宝网页版登录入口水炮维修
- 2023-08-19欧宝网页版登录入口线路维修
- 2023-08-19欧宝网页版登录入口维保服务系统
- 2023-08-19欧宝网页版登录入口主机维修维保大全
- 2023-08-19欧宝网页版登录入口维保作用
- 2023-08-18欧宝网页版登录入口维保工作联系单
- 2023-08-18欧宝网页版登录入口维保每年都要做吗
- 2023-08-18 欧宝网页版登录入口维保技术服务
- 2023-08-18欧宝网页版登录入口主板维修
- 2023-08-18欧宝网页版登录入口维保软件
- 2023-08-18欧宝网页版登录入口维保规章制度
- 2023-08-17欧宝网页版登录入口检测和维保
- 2023-08-17欧宝网页版登录入口维保检查
-
IG541混合气体灭火系统
IG541混合气体灭火系统:IG-541灭火系统采用的IG-541混合气体灭火剂是由大气层中的氮气(N2)、氩气(Ar)和二氧化碳(CO2)三种气体分别以52%、40%、8%的比例混合而成的一种灭火剂 -
二氧化碳气体灭火系统
二氧化碳气体灭火系统:二氧化碳气体灭火系统由瓶架、灭火剂瓶组、泄漏检测装置、容器阀、金属软管、单向阀(灭火剂管)、集流管、安全泄漏装置、选择阀、信号反馈装置、灭火剂输送管、喷嘴、驱动气体瓶组、电磁驱动 -
七氟丙烷灭火系统
七氟丙烷(HFC—227ea)灭火系统是一种高效能的灭火设备,其灭火剂HFC—ea是一种无色、无味、低毒性、绝缘性好、无二次污染的气体,对大气臭氧层的耗损潜能值(ODP)为零,是卤代烷1211、130 -
手提式干粉灭火器
手提式干粉灭火器适灭火时,可手提或肩扛灭火器快速奔赴火场,在距燃烧处5米左右,放下灭火器。如在室外,应选择在上风方向喷射。使用的干粉灭火器若是外挂式储压式的,操作者应一手紧握喷枪、另一手提起储气瓶上的


