AQ 4204-2008 呼吸性粉尘个体采样器
- 发表时间:2022-09-25
- 来源:共立欧宝网页版登录入口
- 人气:
1 范围
本标准规定了呼吸性粉尘个体采样器的术语、技术要求、试验方法、检验规则、标识、包装和贮存。
本标准适用于个人佩带,能够连续8 h采集呼吸性粉尘的采样器。
2 规范性引用文件
下列文件中的条款通过本标准的引用而成为本标准的条款。凡是注日期的引用文件,其随后所有 的修改单(不包括勘误的内容)或修订版均不适用于本标准,然而,鼓励根据本标准达成协议的各方研究 是否可使用这些文件的最新版本。凡是不注日期的引用文件,其最新版本适用于本标准。
GB/T 2423.1 电工电子产品基本环境试验规程 试验A:低温试验方法
GB/T 2423.2 电工电子产品基本环境试验规程 试验B:高温试验方法
GB/T 2423.4 电工电子产品基本环境试验规程 试验Db:交变湿热试验方法
GB/T 2423.5 电工电子产品环境试验 第2部分:试验方法 试验Ea和导则:冲击
GB/T 2423.8 电工电子产品环境试验 第2部分:试验方法 试验Ed:自由跌落
GB/T 2423.10 电工电子产品环境试验 第2部分:试验方法 试验Fc和导则:振动(正弦)
GB 3836.1 爆炸性气体环境用电气设备 第1部分:通用要求
GB 3836.2 爆炸性气体环境用电气设备 第2部分:隔爆型“d”
GB 3836.4 爆炸性气体环境用电气设备 第4部分:本质安全型“I”
GB 4208 外壳防护等级
GBZ 2.1 工作场所有害因素职业接触限值 化学有害因素
3 术语和定义
3.1
呼吸性粉尘respirable dust
按呼吸性粉尘标准测定方法所采集的可进入肺泡的粉尘粒子,其空气动力学直径均在7.07 gm以下,空气动力学直径5 gm粉尘粒子的采样效率为50%,简称“呼尘”。
[GBZ 2.1-2007,定义 3.8]
3.2
呼吸性粉尘个体采样器(简称个体采样器)personal sampler for respirable dust
适用于个人佩带的采集呼吸性粉尘的装置。主要由采样泵和呼吸性粉尘采样头组成。
3.3
呼吸性粉尘采样头 collector for respirabk dust
由两级组成。第一级为预分离器,分离性能符合BMRC曲线要求;第二级为滤膜采集器,采集呼吸 性粉尘。
3.4
呼吸性粉尘透过率 penetration of respirable dust
呼吸性粉尘透过预分离器的百分率。
3.5
额定流量 design flow
采样器的设计流量。
3.6
负载能力 capacity of load
在规定的采样流量下,采样器克服气路和采样头采尘过程增加阻力的能力。
4 技术要求
4.1 设计要求
个体采样器应配备气流脉动阻尼装置、流量稳定装置、计时器和佩戴装置;个体采样器主机与采样 头的连接需用强度高、抗破裂、柔性好的优质橡胶管,胶管内径为(7±1)mm,壁厚为1.5 mm;可不带流 量计,若带有流量计,其精度不应低于2.5%,分度值为0.1L/mm。个体采样器在不影响其技术性能的 条件下应尽量轻便,使用方便安全,不影响工作,质量应小于1 kg。
4.2 表观检查
目测检查个体采样器各旋钮应无松动和破损,各零部件连结可靠,不应有锈蚀及损伤。连续工作 8 h以上时,个体采样器各部件应无烧损或其他异常现象。选用的滤膜应有质量检验合格证或由有资 质的质量检验机构出具的检验合格报告。
4.3 流量
4.3.1 按5.2.1方法进行流量稳定性试验,采样流量变化应在±5%范围内。
4.3.2 按5.2.2方法进行负载能力试验,采样流量相对额定流量变化应在±5%范围内。
4.4 气密性
按5.3方法试验,负压从2.5 kPa下降到0.04 kPa的时间应大于5 mm。
4.5 测尘误差
按5.4方法试验,个体采样器的测尘误差应小于±10%。
4.6 绝缘电阻和绝缘强度
4.6.1 按5.5方法测量,各带电回路与外壳(或大地)之间绝缘电阻在常态下应不小于20 MΩ。
4.6.2 经5.7.3交变湿热试验后,再按5.5方法测量,各带电回路与外壳(或大地)之间绝缘电阻在常 态下应不小于1.5 MΩ。
4.6.3 按5.6方法测量,各带电回路与外壳(或大地)之间,按其工作电压不同,应能承受表1的绝缘强 度试验。
表1 绝缘强度试验电压值 单位为伏
额定工作电压 | 绝缘强度电压值 |
≤60 | 500 |
>60-125 | 1 000 |
>125 | 1 500 |
4.7 防爆
在有爆炸危险的环境中使用的个体采样器,应符合GB 3836.1、GB 3836.2和GB 3836.4的要求。
4.8 外壳防护性能
按GB 4208方法进行试验,外壳防护等级应不低于IP 54的要求。
4.9 计时器
计时器的工作时间应与流量计的工作时间同步,计时器的量程应大于8 h,计时误差应在±10 s/h 范围内。
4.10 环境适应性
按5.7方法试验,个体采样器分别经工作温度、贮存温度、交变湿热、冲击、自由跌落和振动试验后, 应无变形、机械损伤及零部件松动现象,并符合4.2、4.3、4.4要求。
4.11 对呼吸性粉尘采样头的要求
4.11.1 按5.8方法试验,呼吸性粉尘透过率与BMRC曲线对应值的标准差应小于±5%。
4.11.2 测尘滤膜的直径应与采样头滤膜夹直径相适合。
4.12 对采样泵的要求
4.12.1 采样泵的使用寿命在额定流量下应大于3 000 h。
4.12.2 按5.9方法测量,采样泵的声功率级在额定流量下应小于60 dB(A)。
4.12.3 按5.10方法测量,采样泵在额定流量下连续运行8 h时,温升不应超过10 ℃。
5 试验方法
5.1 试验环境条件
除非试验方法中另有说明,本章各项试验应在下述环境条件中进行。
a)温度:15 ℃ 〜35 ℃;
b)相对湿度:45%〜80% ;
c)大气压力:86 kPa〜106 kPa。
5.2 流量试验
5.2.1 流量稳定性试验
带流量计的个体采样器在正常运行状态下连续8 h带载运行,用分度值为0.1 s的计时器,每隔 10 min记录流量计的读数,计算流量变化。
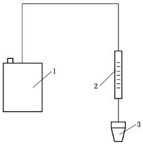
对不带流量计的个体采样器,用精度为2.5%,分度值为0.1 L/mm的流量计,按图1所示连接,再 按前述方法进行试验,应保证连接气密。

1--个体采样器主机;
2--流量计;
3--采样头。
图 1 不带流量计的个体采样器流量稳定性试验连接示意图
5.2.2 负载能力试验
5.2.2.1 仪器
5.2.2.1.1 流量计:精度为2.5%,分度值为0.1 L/mim。
5.2.2.1.2 压力计:量程为4 kPa,分度值为10Pa。
以上为标准部分内容,如需看标准全文,请到相关授权网站购买标准正版。
- 2023-08-22欧宝网页版登录入口维修保养记录
- 2023-08-22欧宝网页版登录入口设施维修维护
- 2023-08-19欧宝网页版登录入口水池维修
- 2023-08-19欧宝网页版登录入口水炮维修
- 2023-08-19欧宝网页版登录入口线路维修
- 2023-08-19欧宝网页版登录入口维保服务系统
- 2023-08-19欧宝网页版登录入口主机维修维保大全
- 2023-08-19欧宝网页版登录入口维保作用
- 2023-08-18欧宝网页版登录入口维保工作联系单
- 2023-08-18欧宝网页版登录入口维保每年都要做吗
- 2023-08-18 欧宝网页版登录入口维保技术服务
- 2023-08-18欧宝网页版登录入口主板维修
- 2023-08-18欧宝网页版登录入口维保软件
- 2023-08-18欧宝网页版登录入口维保规章制度
- 2023-08-17欧宝网页版登录入口检测和维保
- 2023-08-17欧宝网页版登录入口维保检查
-
IG541混合气体灭火系统
IG541混合气体灭火系统:IG-541灭火系统采用的IG-541混合气体灭火剂是由大气层中的氮气(N2)、氩气(Ar)和二氧化碳(CO2)三种气体分别以52%、40%、8%的比例混合而成的一种灭火剂 -
二氧化碳气体灭火系统
二氧化碳气体灭火系统:二氧化碳气体灭火系统由瓶架、灭火剂瓶组、泄漏检测装置、容器阀、金属软管、单向阀(灭火剂管)、集流管、安全泄漏装置、选择阀、信号反馈装置、灭火剂输送管、喷嘴、驱动气体瓶组、电磁驱动 -
七氟丙烷灭火系统
七氟丙烷(HFC—227ea)灭火系统是一种高效能的灭火设备,其灭火剂HFC—ea是一种无色、无味、低毒性、绝缘性好、无二次污染的气体,对大气臭氧层的耗损潜能值(ODP)为零,是卤代烷1211、130 -
手提式干粉灭火器
手提式干粉灭火器适灭火时,可手提或肩扛灭火器快速奔赴火场,在距燃烧处5米左右,放下灭火器。如在室外,应选择在上风方向喷射。使用的干粉灭火器若是外挂式储压式的,操作者应一手紧握喷枪、另一手提起储气瓶上的


