AQ 1101-2014 煤矿用炸药抗爆燃性测定方法和判定规则
- 发表时间:2022-09-11
- 来源:共立欧宝网页版登录入口
- 人气:
1 范围
本标准规定了炸药抗爆燃性测定装置和器材、试验条件、测定准备、测定步骤和测定结果的判定等。
本标准适用于煤矿用炸药。
2 规范性引用文件
下列文件对于本文件的应用是必不可少的。凡是注日期的引用文件,仅所注日期的版本适用于本文件。凡是不注日期的引用文件,其最新版本(包括所有的修改单)适用于本文件。
GB/T 1468 描图纸
GB 8031 工业电雷管
GB 18450-2001 民用黑火药
3 术语和定义
下列术语和定义适用于本文件。
3.1
抗爆燃性:anti-deflagration property
炸药本身所具备的、对其产生爆燃现象的抵抗能力。
3.2
全燃:full deflagration
指受测炸药药卷完全烧尽,只残留一片烧熔的盐饼。
4 方法提要
将受测炸药药卷置于密封的钢制臼炮炮孔中,经受人为制造的高温、高压环境,观察受测炸药药卷的燃烧状态,并以此来判定炸药的抗爆燃性。
5 测定装置和器材
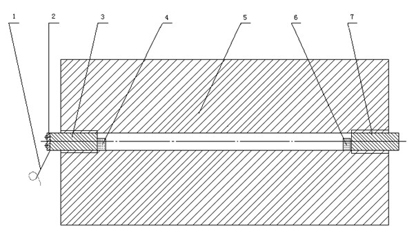
5.1 爆燃臼炮
钢制爆燃臼炮的外径为560mm±1mm ;炮孔直径为57mm±0.5mm、长为820mm±1mm。炮孔的前、后两端均以带螺纹的密封塞封闭。前端的密封塞中间有雷管脚线孔,以一块用螺钉拧紧的盖板密封脚线孔(见图1)。
5.2 密封胶圈
由5mm±0.2mm厚胶板,按密封塞直径制作。
5.3 卷制主爆药卷和受测药卷纸筒的模具
直径35mm±0.1mm,中心有透气孔。
5.4 描图纸
符合GB/T 1468规定的描图纸。
5.5 黑火药
黑火药应符合GB 18450-2001中规定的3号。
5.6 电引火头
符合GB 8031的规定。
5.7 架盘天平
感量0.5g。

1-脚线;
2-盖板;
3-前端密封塞;
4-主爆药卷;
5-臼炮体;
6-受测药卷;
7-后端密封塞。
图1 爆燃臼炮示意图
6 试验条件
6.1 一级、二级煤矿许用炸药主爆药为黑火药且药量为20.0g±0.1g;三级煤矿许用炸药主爆药为黑火药且药量为35.0g±0.1g;
6.2 受测药量为30.0g±0.1g;
6.3 试验时环境温度为10℃~30℃。
7 测定准备
7.1 主爆药卷的制备
将按规定尺寸(230mm×200mm)裁好的描图纸,用5.3中规定的模具卷制成一带底的、高为165mm的双层纸筒。将称量好的黑火药倒入纸筒,再将电引火头插入黑火药,并用脚线将电引火头与药卷固定待用。
7.2 受测药卷的制备
7.2.1 测定粉状炸药
将按规定尺寸(230mm×100mm)裁好的描图纸,用5.3中规定的模具卷制成一带底的、高为65mm的双层纸筒。将称量好的30g受测炸药倒入纸筒,用模具轻轻压实至规定的密度,并将开口端窝好待用。
7.2.2 测定含水炸药
将称量好的30g受测炸药,用规定尺寸(230mm×100mm)裁好的描图纸装药待用。
8 测定步骤
8.1 将臼炮炮孔内壁以及前、后密封塞擦拭干净。
8.2 在臼炮炮孔后端口内垫好密封胶圈,然后将后端密封塞固定好,并用搬手拧紧。
8.3 将受测药卷由前端臼炮口轻轻推入炮孔后端。
8.4 将主爆药卷置于臼炮孔前端孔内,垫好密封胶圈。
8.5 将二根脚线穿过前端密封塞的中心孔,并将前端密封塞固定的前端炮孔上,用搬手拧紧。
8.6 将盖板用螺钉固定在前端密封塞的端面上。
8.7 将二根脚线分别与发爆器的两个输出端连接。
8.8 在安全地点拧动发爆器开关,向雷管送电起爆。起爆时前后密封塞不应有漏气现象,否则该次测定无效。
8.9 起爆后首先取下发爆器开关,并断开一个接线端。等2min后,拧开前端密封塞上的盖板,再将前、后两端密封塞拧开。观察受测药卷是否全燃,并作记录。
9 测定结果的判定
试验采用二次抽样方案(10,10/0,2;1,2),即第一次试验的全燃频数=0/10时,判为合格,全燃频数≥2/10时,判为不合格;当全燃频数=1/10时,进行第二次试验,二次试验总全燃频数=1/20时,仍判为合格,否则判为不合格。
以上为标准部分内容,如需看标准全文,请到相关授权网站购买标准正版。
- 2023-08-22欧宝网页版登录入口维修保养记录
- 2023-08-22欧宝网页版登录入口设施维修维护
- 2023-08-19欧宝网页版登录入口水池维修
- 2023-08-19欧宝网页版登录入口水炮维修
- 2023-08-19欧宝网页版登录入口线路维修
- 2023-08-19欧宝网页版登录入口维保服务系统
- 2023-08-19欧宝网页版登录入口主机维修维保大全
- 2023-08-19欧宝网页版登录入口维保作用
- 2023-08-18欧宝网页版登录入口维保工作联系单
- 2023-08-18欧宝网页版登录入口维保每年都要做吗
- 2023-08-18 欧宝网页版登录入口维保技术服务
- 2023-08-18欧宝网页版登录入口主板维修
- 2023-08-18欧宝网页版登录入口维保软件
- 2023-08-18欧宝网页版登录入口维保规章制度
- 2023-08-17欧宝网页版登录入口检测和维保
- 2023-08-17欧宝网页版登录入口维保检查
-
IG541混合气体灭火系统
IG541混合气体灭火系统:IG-541灭火系统采用的IG-541混合气体灭火剂是由大气层中的氮气(N2)、氩气(Ar)和二氧化碳(CO2)三种气体分别以52%、40%、8%的比例混合而成的一种灭火剂 -
二氧化碳气体灭火系统
二氧化碳气体灭火系统:二氧化碳气体灭火系统由瓶架、灭火剂瓶组、泄漏检测装置、容器阀、金属软管、单向阀(灭火剂管)、集流管、安全泄漏装置、选择阀、信号反馈装置、灭火剂输送管、喷嘴、驱动气体瓶组、电磁驱动 -
七氟丙烷灭火系统
七氟丙烷(HFC—227ea)灭火系统是一种高效能的灭火设备,其灭火剂HFC—ea是一种无色、无味、低毒性、绝缘性好、无二次污染的气体,对大气臭氧层的耗损潜能值(ODP)为零,是卤代烷1211、130 -
手提式干粉灭火器
手提式干粉灭火器适灭火时,可手提或肩扛灭火器快速奔赴火场,在距燃烧处5米左右,放下灭火器。如在室外,应选择在上风方向喷射。使用的干粉灭火器若是外挂式储压式的,操作者应一手紧握喷枪、另一手提起储气瓶上的


