MT 153-1987 中心单链刮板输送机蛙形链接头
- 发表时间:2022-08-31
- 来源:共立欧宝网页版登录入口
- 人气:
本标准适用于煤矿井下中心单链刮板输送机及转载机中连接矿用高强度圆环链的蛙形链接头(以下简称链接头)。
1 名词定义
1.1 规格:本标准中链接头的规格指与其相配合的圆环链的棒料直径和节距。
1.2 破断负荷:在拉伸试验中,链接头试件能承受的最大负荷。
2 产品规格及尺寸参数
2.1 本标准包括 10 mm×40 mm、14 mm×50 mm、26 mm×92 mm、30 mm×108 mm 四种规格的链接头,其几何形状及主要尺寸应符合图1、表1的规定。

图1 蛙形链接头
表1 mm
尺寸 规格 | A | b | R | d |
10×40 | 46 + 0. 5 | 11 | 5. 5 | 11 |
14×50 | 62 + 0. 75 | 15 | 7. 5 | 13. 5 |
26×92 | 110 + 1 | 36 | 14. 5 | 22 |
30×108 | 130 + 1 | 55 | 17. 5 | 26 |
2.2 标记示例
规格为26 mm×92 mm链接头的标记为:
链接头 26×92 MT 153—87
3 技术要求
3.1 链接头应符合本标准的要求,并按照经规定程序批准的图样和技术文件制造。
3.2 链接头应采取符合国家标准或部标准、锻造性能良好的镇静钢制造。在保证链接头机械性能符合本标准规定的情况下,钢材牌号可由制造厂选择。
3.3 链接头表面不得有裂纹、分层、结疤、剥落或类似缺陷,并在影响使用和强度的部位不得有缺肉现象。
3.4 本标准规定的链接头加工后,须进行热处理,保证硬度HRC 35以上。
3.5 链接头静拉伸试验须符合表2规定,卸载后检查,不得有目视裂纹。
表 2
链接头规格,mm | 破断负荷,kN |
10X40 | ≥130 |
14X50 | ≥250 |
26X92 | ≥850 |
30X108 | ≥1 130 |
注:适用于低于C级的圆环链(包括C级)。 | |
3.6 链接头表面应涂防锈保护层。
4 试验方法
试验项目为静拉伸试验。
4.1 试验条件
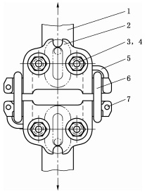
4.1.1 链接头试件为两个活接头(包括链接头、挡环、链环、开口销、U型螺栓、螺母)装配在一起,见图2。

1—夹具;2—链接头;3—U型螺栓;4一螺母;
5—挡环;6一链环;7—开口销
图 2
4.1.2 对试验机的要求:静拉伸试验机的加载范围应能满足链接头做拉伸试验所需加载的范围要求, 其精度应符合有关国家标准。试验机应具有自动记录机构,并应定期进行校验。
4.1.3 对试验用夹具的要求:试验用夹具、U型螺栓、螺母、试验用链环与链接头之间接触表面的形状 和尺寸应符合实际承载时的形状和尺寸,并应具有足够的刚性。
4.2 试验方法
试件装配好,在试验机上拉紧后,以9.8N/(mm2▪s)的速度加载到表2规定的破断负荷数值为止 (断面积按同一公称尺寸的圆环链总截面计算)。
5 检验规则
5.1 每批产品须经制造厂技术检验部门检验合格后方准出厂。
5.2 试件应在成品链接头中任意抽取,试件不得有任何掩饰缺陷的涂层。
5.3 出厂检验包括尺寸检验、表面质量检验和静拉伸试验。
5.3.1 尺寸及表面质量检验
成批生产的链接头以500件为一组,不足500件时仍视为一组,抽检数量每组中不得少于5件,对试 件的尺寸和表面质量按图样、技术文件和本标准表1及3.3条进行检验。如有一件一项不合格,应在同 一组其余的件数中抽取加倍数量的试件再进行检验,检验结果仍不合格时,则应对该组产品逐件检验。
5.3.2 静拉伸试验
经尺寸检验合格的链接头以1 000件为一组,不足1 000件的仍视为一组,每组中抽取4件进行试 验,其结果应符合表2的规定,如不合格须从同组其余的链接头中再加倍数量抽取试件进行试验,其结 果应符合表2的规定,否则该组产品为不合格品。试验用挡环、链环破坏使链接头未达要求者除外,并 另行取样补做试验。
6 标志、包装
6.1 各制造厂应将本厂厂标打印或锻制在链接头的明显部位。
6.2 链接头作为单独产品出厂时应捆扎牢固或采用箱装。在运输过程中不应散开,并须附有产品质量 合格证。合格证内容应包括规格、数量、检验日期及检验人员代号。
6.3 链接头随主机出厂时按MT 150-87《刮板输送机和转载机包装通用技术条件》标准执行。
附加说明:
本标准由煤炭工业部技术发展司提出。
本标准由西北煤矿机械总厂一厂负责起草。
本标准主要起草人岳淑秋。
本标准委托煤炭科学研究院太原分院负责解释。
以上为标准部分内容,如需看标准全文,请到相关授权网站购买标准正版。
- 2023-08-22欧宝网页版登录入口维修保养记录
- 2023-08-22欧宝网页版登录入口设施维修维护
- 2023-08-19欧宝网页版登录入口水池维修
- 2023-08-19欧宝网页版登录入口水炮维修
- 2023-08-19欧宝网页版登录入口线路维修
- 2023-08-19欧宝网页版登录入口维保服务系统
- 2023-08-19欧宝网页版登录入口主机维修维保大全
- 2023-08-19欧宝网页版登录入口维保作用
- 2023-08-18欧宝网页版登录入口维保工作联系单
- 2023-08-18欧宝网页版登录入口维保每年都要做吗
- 2023-08-18 欧宝网页版登录入口维保技术服务
- 2023-08-18欧宝网页版登录入口主板维修
- 2023-08-18欧宝网页版登录入口维保软件
- 2023-08-18欧宝网页版登录入口维保规章制度
- 2023-08-17欧宝网页版登录入口检测和维保
- 2023-08-17欧宝网页版登录入口维保检查
-
IG541混合气体灭火系统
IG541混合气体灭火系统:IG-541灭火系统采用的IG-541混合气体灭火剂是由大气层中的氮气(N2)、氩气(Ar)和二氧化碳(CO2)三种气体分别以52%、40%、8%的比例混合而成的一种灭火剂 -
二氧化碳气体灭火系统
二氧化碳气体灭火系统:二氧化碳气体灭火系统由瓶架、灭火剂瓶组、泄漏检测装置、容器阀、金属软管、单向阀(灭火剂管)、集流管、安全泄漏装置、选择阀、信号反馈装置、灭火剂输送管、喷嘴、驱动气体瓶组、电磁驱动 -
七氟丙烷灭火系统
七氟丙烷(HFC—227ea)灭火系统是一种高效能的灭火设备,其灭火剂HFC—ea是一种无色、无味、低毒性、绝缘性好、无二次污染的气体,对大气臭氧层的耗损潜能值(ODP)为零,是卤代烷1211、130 -
手提式干粉灭火器
手提式干粉灭火器适灭火时,可手提或肩扛灭火器快速奔赴火场,在距燃烧处5米左右,放下灭火器。如在室外,应选择在上风方向喷射。使用的干粉灭火器若是外挂式储压式的,操作者应一手紧握喷枪、另一手提起储气瓶上的


