GB/T 37474-2019 汽车安全气囊系统误作用试验的方法和要求
- 发表时间:2023-03-24
- 来源:共立欧宝网页版登录入口
- 人气:
1 范围
本标准规定了汽车安全气囊系统误作用试验方法和要求。
本标准适用于安装了安全气囊系统且在行车质量状态下最小离地间隙大于100mm的M1类汽车。
2 规范性引用文件
下列文件对于本文件的应用是必不可少的。凡是注日期的引用文件,仅注日期的版本适用于本文件。凡是不注日期的引用文件,其最新版本(包括所有的修改单)适用于本文件。
GB/T 19949.1 道路车辆 安全气囊部件 第1部分:术语
JC/T 899 混凝土路缘石
3 术语和定义
GB/T 19949.1界定的以及下列术语和定义适用于本文件。
3.1
安全气囊系统 airbag system
由一个或多个传感器、安全气囊控制器和安全气囊模块组成的系统。
3.2
安全气囊控制器 airbag control unit
控制安全气囊系统的车载控制单元。
3.3
展开 deployment
对气袋进行充气。
3.4
误作用 abuse
非乘员保护作用而发生的安全气囊展开。
3.5
行车质量 mass in running order
整车整备质量加75kg。
3.6
门盖系统 door and lid or bonnet
由前后车门、发动机罩、后行李箱盖等组成的系统。
4 要求
在完成5.2、5.3、5.4规定的各项试验后,车辆所装备的安全气囊均不应展开。
5 试验方法
5.1 车辆准备
5.1.1 试验车辆应能反映出该系列产品的特征,应包括正常安装的所有装备,并应处于能够正常运行状态。
5.1.2 每次试验前,确保试验车辆的传动系统、悬架系统(包括轮胎)、转向和制动系统等处于汽车制造商规定的状态,汽车发动机处于启动状态或使点火开关处于“ON”的位置。
5.1.3 试验车辆的质量应是行车质量。
5.2 静态试验
5.2.1 门盖试验
车门玻璃处于最下面的位置,不借助工具,以锁体位置不小于4m/s的速度(车门关闭瞬间的速度)分别逐一关闭车辆各个门盖系统。试验时,其他非试验车辆门盖系统均处于关闭状态。
由于门盖系统的特殊设计导致在关门瞬间,锁体的速度达不到4m/s的,试验时则以车辆能达到的最高关门速度进行相应门盖系统的关闭试验。
5.2.2 移动前排外侧座椅试验
试验人员坐在前排外侧座椅上,前后移动座椅(若是电动座椅,则以座椅设计速度移动)。向前是从座椅移动行程的最后端移至最前端,向后是从座椅移动行程的最前端移至最后端。
5.2.3 敲击试验
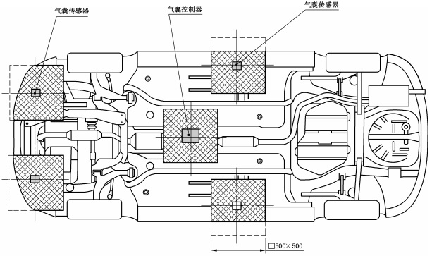
保持车身与行驶状态一致,在气囊传感器以及安全气囊控制器所对应车辆底部确定500mmx500 mm的投影区域(如图1所示)内,在每个投影区域内任选5个点,试验人员使用1kg的橡胶锤在垂直于选定点的方向,每个点连续敲击不少于3次,每次间隔时间不大于5s,每次敲击载荷不小于20 N。
单位为毫米

图1 车辆底部敲击试验区域示意图
5.2.4 篮球撞击试验
试验车辆静止停放在水平地面上,车门玻璃处于最下面的位置,用标准篮球(质量0.616kg~0.65kg圆周长750mm~780mm,相对气压60 kPa )以60km/ 1km/h的速度垂直撞击试验车辆,球心与侧碰撞传感器中心位于同一条车辆纵向中垂面的法线上,偏差为半径为25mm的圆周内(如图2所示)。若车身结构对称,仅进行单侧试验。
单位为毫米

图2 撞击试验位置示意图
以上为标准部分内容,如需看标准全文,请到相关授权网站购买标准正版。
- 2023-08-22欧宝网页版登录入口维修保养记录
- 2023-08-22欧宝网页版登录入口设施维修维护
- 2023-08-19欧宝网页版登录入口水池维修
- 2023-08-19欧宝网页版登录入口水炮维修
- 2023-08-19欧宝网页版登录入口线路维修
- 2023-08-19欧宝网页版登录入口维保服务系统
- 2023-08-19欧宝网页版登录入口主机维修维保大全
- 2023-08-19欧宝网页版登录入口维保作用
- 2023-08-18欧宝网页版登录入口维保工作联系单
- 2023-08-18欧宝网页版登录入口维保每年都要做吗
- 2023-08-18 欧宝网页版登录入口维保技术服务
- 2023-08-18欧宝网页版登录入口主板维修
- 2023-08-18欧宝网页版登录入口维保软件
- 2023-08-18欧宝网页版登录入口维保规章制度
- 2023-08-17欧宝网页版登录入口检测和维保
- 2023-08-17欧宝网页版登录入口维保检查
-
IG541混合气体灭火系统
IG541混合气体灭火系统:IG-541灭火系统采用的IG-541混合气体灭火剂是由大气层中的氮气(N2)、氩气(Ar)和二氧化碳(CO2)三种气体分别以52%、40%、8%的比例混合而成的一种灭火剂 -
二氧化碳气体灭火系统
二氧化碳气体灭火系统:二氧化碳气体灭火系统由瓶架、灭火剂瓶组、泄漏检测装置、容器阀、金属软管、单向阀(灭火剂管)、集流管、安全泄漏装置、选择阀、信号反馈装置、灭火剂输送管、喷嘴、驱动气体瓶组、电磁驱动 -
七氟丙烷灭火系统
七氟丙烷(HFC—227ea)灭火系统是一种高效能的灭火设备,其灭火剂HFC—ea是一种无色、无味、低毒性、绝缘性好、无二次污染的气体,对大气臭氧层的耗损潜能值(ODP)为零,是卤代烷1211、130 -
手提式干粉灭火器
手提式干粉灭火器适灭火时,可手提或肩扛灭火器快速奔赴火场,在距燃烧处5米左右,放下灭火器。如在室外,应选择在上风方向喷射。使用的干粉灭火器若是外挂式储压式的,操作者应一手紧握喷枪、另一手提起储气瓶上的


