GB/T 37645-2019 电动自行车用电池盒尺寸系列及安全要求
- 发表时间:2023-03-24
- 来源:共立欧宝网页版登录入口
- 人气:
1 范围
本标准规定了电动自行车用电池盒的术语和定义、尺寸与构造、要求、试验方法和检验规则。
本标准适用于电动自行车用蓄电池电池盒尺寸系列及安全要求。其他类型电池盒可参照执行。
2 规范性引用文件
下列文件对于本文件的应用是必不可少的。凡是注日期的引用文件,仅注日期的版本适用于本文件。凡是不注日期的引用文件,其最新版本(包括所有的修改单)适用于本文件。
GB/T 1633-2000 热塑性塑料维卡软化温度(VST)的测定
GB/T 2828.1-2012 计数抽样检验程序 第1部分:按接收质量限(AQL)检索的逐批检验抽样计划
GB/T 2829-2002 周期检验计数抽样程序及表(适用于对过程稳定性的检验)
GB/T 5169.11-2006 电工电子产品着火危险试验 第11部分:灼热丝/热丝基本试验方法 成品的灼热丝可燃性试验方法
GB/T 7141-2008 塑料热老化试验方法
GB/T 14152-2001 热塑性塑料管材耐外冲击性能试验方法 时针旋转法
QB/T 4428 电动自行车用锂离子电池产品规格尺寸
3 术语和定义
下列术语和定义适用于本文件。
3.1
电池盒 battery box
专门用于放置电池、电池保护装置的整体封闭容器。
3.2
提把 hander
专门用于提拎电池盒的构件。
4 尺寸与构造
4.1 铅酸电池盒尺寸
4.1.1 前置式铅酸电池盒尺寸
前置式铅酸电池盒尺寸如图1所示。
单位为毫米

图1 前置式铅酸电池盒示意图
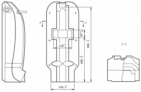
4.1.2 后置式铅酸电池盒尺寸
A型后置式铅酸电池盒尺寸如图2所示。
单位为毫米

注:未标注尺寸公差的均为±2mm。
图2 A型后置式铅酸电池盒示意图
B型后置式铅酸电池盒尺寸如图3所示。
单位为毫米

图3 B型后置式铅酸电池盒示意图
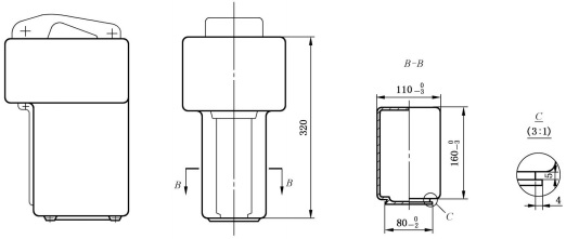
4.1.3 卧置式铅酸电池盒尺寸
卧置式铅酸电池盒尺寸如图4所示。
单位为毫米

图4 卧置式铅酸电池盒示意图
4.2 电池盒构造
电池盒应有以下的基本构造(见图5):
a)电池盒上部应有透气孔,可顺畅排出电池充电或工作状态下产生的气体;
b)电池盒内部应有电池固定装置和布线槽,可定位和固定电池与线缆;
c)电池盒外部应有与车架连接固定装置;
d)电池盒有安装电气短路保护装置。
以上为标准部分内容,如需看标准全文,请到相关授权网站购买标准正版。
- 2023-08-22欧宝网页版登录入口维修保养记录
- 2023-08-22欧宝网页版登录入口设施维修维护
- 2023-08-19欧宝网页版登录入口水池维修
- 2023-08-19欧宝网页版登录入口水炮维修
- 2023-08-19欧宝网页版登录入口线路维修
- 2023-08-19欧宝网页版登录入口维保服务系统
- 2023-08-19欧宝网页版登录入口主机维修维保大全
- 2023-08-19欧宝网页版登录入口维保作用
- 2023-08-18欧宝网页版登录入口维保工作联系单
- 2023-08-18欧宝网页版登录入口维保每年都要做吗
- 2023-08-18 欧宝网页版登录入口维保技术服务
- 2023-08-18欧宝网页版登录入口主板维修
- 2023-08-18欧宝网页版登录入口维保软件
- 2023-08-18欧宝网页版登录入口维保规章制度
- 2023-08-17欧宝网页版登录入口检测和维保
- 2023-08-17欧宝网页版登录入口维保检查
-
IG541混合气体灭火系统
IG541混合气体灭火系统:IG-541灭火系统采用的IG-541混合气体灭火剂是由大气层中的氮气(N2)、氩气(Ar)和二氧化碳(CO2)三种气体分别以52%、40%、8%的比例混合而成的一种灭火剂 -
二氧化碳气体灭火系统
二氧化碳气体灭火系统:二氧化碳气体灭火系统由瓶架、灭火剂瓶组、泄漏检测装置、容器阀、金属软管、单向阀(灭火剂管)、集流管、安全泄漏装置、选择阀、信号反馈装置、灭火剂输送管、喷嘴、驱动气体瓶组、电磁驱动 -
七氟丙烷灭火系统
七氟丙烷(HFC—227ea)灭火系统是一种高效能的灭火设备,其灭火剂HFC—ea是一种无色、无味、低毒性、绝缘性好、无二次污染的气体,对大气臭氧层的耗损潜能值(ODP)为零,是卤代烷1211、130 -
手提式干粉灭火器
手提式干粉灭火器适灭火时,可手提或肩扛灭火器快速奔赴火场,在距燃烧处5米左右,放下灭火器。如在室外,应选择在上风方向喷射。使用的干粉灭火器若是外挂式储压式的,操作者应一手紧握喷枪、另一手提起储气瓶上的


