GB/T 38181-2019 土方机械 快速连接装置 安全
- 发表时间:2023-03-21
- 来源:共立欧宝网页版登录入口
- 人气:
1 范围
本标准规定了ISO 6165中定义的土方机械用快速连接装置的安全要求。
2 规范性引用文件
下列文件对于本文件的应用是必不可少的。凡是注日期的引用文件,仅注日期的版本适用于本文件。凡是不注日期的引用文件,其最新版本(包括所有的修改单)适用于本文件。
ISO 6165 土方机械 基本类型 识别、术语和定义(Earth-moving machinery-Basic types-Identification and terms and definitions)
ISO 6750 土方机械 司机手册 内容和格式(Earth-moving machinery-Operator's manual-Content and format)
ISO 9244 土方机械 机器安全标签 通则(Earth-moving machinery-Machine safety labels-General principles)
ISO 10968 土方机械 司机的操纵装置(Earth-moving machinery-Operator's controls)
ISO 12100 机械安全 设计通则 风险评估与风险减小(Safety of machinery-Generalprinciples for design-Risk assessment and risk reduction)
ISO 20474-1:2008 土方机械 安全 第1部分:通用要求(Earth-moving machinery-Safety-Part 1:General requirements)
3 术语和定义
下列术语和定义适用于本文件。
3.1
快速连接装置 quick coupler
安装在土方机械上,用于快速更换附属装置的装置。
注:快速连接装置通常有不同的名称,包括“快速连接”和“连接支架”。在本标准中,仅使用术语“快速连接装置”。
3.1.1
动力快速连接装置 powered quick coupler
啮合和锁定系统中至少有一个部分的动作采用动力驱动的快速连接装置。
示例:液压系统或电机。
3.1.2
手动快速连接装置 manual quick coupler
啮合和锁定系统的动作由人力作用在快速连接装置上驱动的快速连接装置。
3.1.3
混合型快速连接装置 mixed quick coupler
快速连接装置的连接和锁止可在司机室内完成,但是松开需要人力在快速连接装置上操作
3.2
啮合系统 engagement system
与附属装置啮合并将附属装置保持在工作位置的机械系统。
3.2.1
形锁啮合系统 form-locked engagement system
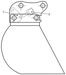
通过至少两个部件将附属装置保持在正常工作位置的啮合系统,这两个部件彼此啮合垂直于工作力以确保工作力不能导致附属装置脱离(见图1)。

说明:
1——啮合系统处于接合位置;
2——啮合系统处于脱离位置。
图1 形锁啮合系统示例
3.2.2
力锁啮合系统 force-locked engagement system
因工作力沿脱离的方向作用,通过连续施加啮合力保持啮合的啮合系统(见图2)。

说明:
1——啮合系统;
2——啮合力装置。
图2 力锁啮合系统示例
3.2.3
摩擦啮合系统 friction system
仅依靠摩擦力进行啮合的系统(见图3)。

说明:
1——啮合系统;
2——啮合力装置。
图3 摩擦啮合系统示例
以上为标准部分内容,如需看标准全文,请到相关授权网站购买标准正版。
- 2023-08-22欧宝网页版登录入口维修保养记录
- 2023-08-22欧宝网页版登录入口设施维修维护
- 2023-08-19欧宝网页版登录入口水池维修
- 2023-08-19欧宝网页版登录入口水炮维修
- 2023-08-19欧宝网页版登录入口线路维修
- 2023-08-19欧宝网页版登录入口维保服务系统
- 2023-08-19欧宝网页版登录入口主机维修维保大全
- 2023-08-19欧宝网页版登录入口维保作用
- 2023-08-18欧宝网页版登录入口维保工作联系单
- 2023-08-18欧宝网页版登录入口维保每年都要做吗
- 2023-08-18 欧宝网页版登录入口维保技术服务
- 2023-08-18欧宝网页版登录入口主板维修
- 2023-08-18欧宝网页版登录入口维保软件
- 2023-08-18欧宝网页版登录入口维保规章制度
- 2023-08-17欧宝网页版登录入口检测和维保
- 2023-08-17欧宝网页版登录入口维保检查
-
IG541混合气体灭火系统
IG541混合气体灭火系统:IG-541灭火系统采用的IG-541混合气体灭火剂是由大气层中的氮气(N2)、氩气(Ar)和二氧化碳(CO2)三种气体分别以52%、40%、8%的比例混合而成的一种灭火剂 -
二氧化碳气体灭火系统
二氧化碳气体灭火系统:二氧化碳气体灭火系统由瓶架、灭火剂瓶组、泄漏检测装置、容器阀、金属软管、单向阀(灭火剂管)、集流管、安全泄漏装置、选择阀、信号反馈装置、灭火剂输送管、喷嘴、驱动气体瓶组、电磁驱动 -
七氟丙烷灭火系统
七氟丙烷(HFC—227ea)灭火系统是一种高效能的灭火设备,其灭火剂HFC—ea是一种无色、无味、低毒性、绝缘性好、无二次污染的气体,对大气臭氧层的耗损潜能值(ODP)为零,是卤代烷1211、130 -
手提式干粉灭火器
手提式干粉灭火器适灭火时,可手提或肩扛灭火器快速奔赴火场,在距燃烧处5米左右,放下灭火器。如在室外,应选择在上风方向喷射。使用的干粉灭火器若是外挂式储压式的,操作者应一手紧握喷枪、另一手提起储气瓶上的


