GB/T 20888.2-2020 林业机械 杆式动力修枝锯安全要求和试验 第2部分:背负式动力修枝锯
- 发表时间:2023-03-14
- 来源:共立欧宝网页版登录入口
- 人气:
1 范围
GB/T 20888的本部分规定了具有背负式动力装置且动力源经传动轴传递动力至切割部件的杆式背负式动力修枝锯(以下简称“背负式修枝锯”)的设计和结构方面的安全要求及其试验方法。本部分中切割部件是指锯链及做往复运动或旋转运动的锯片。本部分提出了消除或减少使用背负式修枝锯所产生的各种危害的方法,规定了由生产厂家提供的有关安全操作方面的资料要求。
本部分和GB/T 20888的第1部分的相关章节涉及了与背负式修枝锯相关的,正常使用时以及合理的、可预见误用时的所有的严重危害,但没有涉及接触架空电缆引起的电击危害(使用说明书中包含的警告和建议除外)和背负式动力装置引起的全身振动危害。
注1:目前还没有测量背负式动力装置引起全身振动的标准试验程序。
注2:严重危害一览表参见附录A。
本部分适用于在其实施后生产的产品。
2 规范性引用文件
下列文件对于本文件的应用是必不可少的。凡是注日期的引用文件,仅注日期的版本适用于本文件。凡是不注日期的引用文件,其最新版本(包括所有的修改单)适用于本文件。
GB/T 20888.1-2020 林业机械 杆式动力修枝锯安全要求和试验 第1部分:侧挂式动力修枝锯(ISO 11680-1:2011,IDT)
GB/T 23821-2009 机械安全 防止上下肢触及危险区的安全距离(ISO 13857:2008,IDT)
ISO 4413 液压传动 系统及其部件的一般规则和安全要求(Hydraulic fluid power-Generalrules and safety requirements for systems and their components)
ISO 4414 气压传动 系统及其部件的一般规则和安全要求(Pneumatic fluid power-Generalrules and safety requirements for systems and their components)
ISO 12100:2010 机械安全 设计通则 风险评估与风险减小(Safety of machinery-Generalprinciples for design-Risk assessment and risk reduction)
3 术语和定义
GB/T 20888.1-2020和ISO 12100界定的以及下列术语和定义适用于本文件。
3.1
器具 appliance
安装有驱动轴套管、切割附件、链轮护罩及手把的装置。
3.2
整机 machine
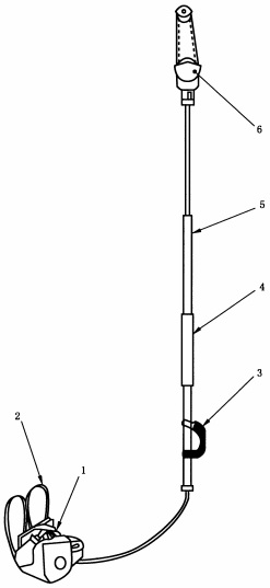
包括动力源和器具的杆式动力修枝锯,用于切割树干上枝桠的机器。
注:示例见图1。

说明:
1——动力装置;
2——背带;
3——后手把;
4——前手把;
5——轴套管;
6——切割附件。
图1 带有锯链切割附件的背负式修枝锯示例
4 安全要求和/或保护措施
4.1 总则
背负式修枝锯应遵守本章中的安全要求和防护措施。另外,背负式修枝锯的设计应满足ISO 12100中给出的本部分未涉及的相关非严重危害的准则。
背负式修枝锯应符合GB/T 20888.1-2020中第4章除4.3外的所有要求。
安全使用背负式修枝锯取决于与使用个人防护设备(如手套、护腿、工作靴及眼睛和耳朵的防护用品等)相关的安全环境,以及安全工作程序(见GB/T 20888.1-2020中的5.1)。
除非本部分中另行规定,否则安全距离应满足GB/T 23821-2009中4.2.4.1与4.2.4.3的要求。
4.2 手把
4.2.1 要求
背负式修枝锯应有手把,手把可为轴套管的一部分,且应保证操作者握持手把能对背负式动力装置进行操作和运输。
手把的设计应能满足以下要求:
——确保操作者戴上防护手套时能完全握住手把;
——手把的形状和表面能确保握持的可靠性;
——长度不小于100mm,弧形或环形手把握持区域长度可由直线或曲率半径大于100mm的多段曲线段组成,在握持区域表面的一端或两端的曲率半径不应小于10mm。
4.2.2 检验
通过观察、测量和功能性试验检验手把的设计。
4.3 背带
4.3.1 要求
背带应具有快速释放机构,快速释放机构位于动力源和背带之间,或位于背带和操作者之间。无论背带的设计还是快速释放结构的使用,都应确保在发生紧急事故时能使人与动力源迅速分离。
若安装有快速释放机构,则应保证即使在负载状态下,也能用一个手将其打开并且释放动力源。
4.3.2 检验
通过观察来检验背带的功能及其调整。在操作者背负背带并在吊挂点悬挂3倍于背负式修枝锯净重量的力的情况下对快速释放机构进行功能测试。
4.4 液压和气压管道及软管
4.4.1 要求
液压系统应符合ISO 4413的安全要求,气压系统应符合ISO4414的安全要求。
内部压强超过500kPa的液压和气压管道及软管应进行防护,以确保操作背负式修枝锯时万一管道破裂,液体不会直接射向操作者。
4.4.2 检验
目视检查管道和软管的防护。
5 使用信息
见ISO 12100:2010中的6.4。
以上为标准部分内容,如需看标准全文,请到相关授权网站购买标准正版。
- 2023-08-22欧宝网页版登录入口维修保养记录
- 2023-08-22欧宝网页版登录入口设施维修维护
- 2023-08-19欧宝网页版登录入口水池维修
- 2023-08-19欧宝网页版登录入口水炮维修
- 2023-08-19欧宝网页版登录入口线路维修
- 2023-08-19欧宝网页版登录入口维保服务系统
- 2023-08-19欧宝网页版登录入口主机维修维保大全
- 2023-08-19欧宝网页版登录入口维保作用
- 2023-08-18欧宝网页版登录入口维保工作联系单
- 2023-08-18欧宝网页版登录入口维保每年都要做吗
- 2023-08-18 欧宝网页版登录入口维保技术服务
- 2023-08-18欧宝网页版登录入口主板维修
- 2023-08-18欧宝网页版登录入口维保软件
- 2023-08-18欧宝网页版登录入口维保规章制度
- 2023-08-17欧宝网页版登录入口检测和维保
- 2023-08-17欧宝网页版登录入口维保检查
-
IG541混合气体灭火系统
IG541混合气体灭火系统:IG-541灭火系统采用的IG-541混合气体灭火剂是由大气层中的氮气(N2)、氩气(Ar)和二氧化碳(CO2)三种气体分别以52%、40%、8%的比例混合而成的一种灭火剂 -
二氧化碳气体灭火系统
二氧化碳气体灭火系统:二氧化碳气体灭火系统由瓶架、灭火剂瓶组、泄漏检测装置、容器阀、金属软管、单向阀(灭火剂管)、集流管、安全泄漏装置、选择阀、信号反馈装置、灭火剂输送管、喷嘴、驱动气体瓶组、电磁驱动 -
七氟丙烷灭火系统
七氟丙烷(HFC—227ea)灭火系统是一种高效能的灭火设备,其灭火剂HFC—ea是一种无色、无味、低毒性、绝缘性好、无二次污染的气体,对大气臭氧层的耗损潜能值(ODP)为零,是卤代烷1211、130 -
手提式干粉灭火器
手提式干粉灭火器适灭火时,可手提或肩扛灭火器快速奔赴火场,在距燃烧处5米左右,放下灭火器。如在室外,应选择在上风方向喷射。使用的干粉灭火器若是外挂式储压式的,操作者应一手紧握喷枪、另一手提起储气瓶上的


