GB/T 39932-2021 制鞋机械 裁断机与冲孔机 安全要求
- 发表时间:2023-03-10
- 来源:共立欧宝网页版登录入口
- 人气:
1 范围
本标准规定了液压裁断机与冲孔机(以下简称“机器”)的设计和操作的相关安全要求。
本标准适用于鞋类、皮革和人造革及其他柔性材料产品制造中所使用的液压裁断机和冲孔机。
本标准不适用于机械式裁断机、金属冷加工压力机(含冲床)、打孔机、铆钉机、修边机、折边机、折弯机、切纸机及类似于剪刀类工作的设备。同时也不适用于皮革行业使用的熨平机、片皮机。
2 规范性引用文件
下列文件对于本文件的应用是必不可少的。凡是注日期的引用文件,仅注日期的版本适用于本文件。凡是不注日期的引用文件,其最新版本(包括所有的修改单)适用于本文件。
GB/T 1251.3-2008 人类工效学 险情和信号的视听信号体系
GB/T 3766-2015 液压传动 系统及其元件的通用规则和安全要求
GB/T 4208-2017 外壳防护等级(IP代码)
GB/T 5226.1-2019 机械电气安全 机械电气设备 第1部分:通用技术条件
GB/T 7932-2017 气动 对系统及其元件的一般规则和安全要求
GB/T 8196-2018 机械安全 防护装置 固定式和活动式防护装置的设计与制造一般要求
GB/T 12265.3-1997 机械安全 避免人体各部位挤压的最小间距
GB/T 13441.1-2007 机械振动与冲击 人体暴露于全身振动的评价 第1部分:一般要求
GB/T 14048.4-2020 低压开关设备和控制设备 第4-1部分:接触器和电动机起动器 机电式接触器和电动机起动器(含电动机保护器)
GB/T 14048.5-2017 低压开关设备和控制设备 第5-1部分:控制电路电器和开关元件 机电式控制电路电器
GB/T 14048.10-2016 低压开关设备和控制设备 第5-2部分:控制电路电器和开关元件 接近开关
GB/T 15706-2012 机械安全 设计通则 风险评估与风险减少
GB/T 16754-2008 机械安全 急停 设计原则
GB/T 16855.1-2018 机械安全 控制系统安全相关部件 第1部分:设计通则
GB/T 17421.5-2015 机床检验通则 第5部分:噪声发射的确定
GB/T 17888.2-2020 机械安全 接近机械的固定设施 第2部分:工作平台与通道
GB/T 18153-2000 机械安全 可接触表面温度 确定热表面温度限值的工效学数据
GB/T 18209.2-2010 机械电气安全 指示、标志和操作 第2部分:标志要求
GB/T 18717.1-2002 用于机械安全的人类工效学设计 第1部分:全身进入机械的开口尺寸确定原则
GB/T 18717.2-2002 用于机械安全的人类工效学设计 第2部分:人体局部进入机械的开口尺寸确定原则
GB/T 18831-2017 机械安全 与防护装置相关的联锁装置 设计和选择原则
GB/T 19436.1-2013 机械电气安全 电敏保护设备 第1部分:一般要求和试验
GB/T 19436.2-2013 机械电气安全 电敏保护设备 第2部分:使用有源光电保护装置(AOPDs)设备的特殊要求
GB/T 19671-2005 机械安全 双手操纵装置 功能状况及设计原则
GB/T 19876-2012 机械安全 与人体部位接近速度相关的安全防护装置的定位
GB/T 23821-2009 机械安全 防止上下肢触及危险区的安全距离
GB/T 25078.1-2010 声学 低噪声机器和设备设计实施建议 第1部分:规划
GB/T 28780-2012 机械安全 机器的整体照明
ISO 9355-1:1999 显示和控制指示器设计的人类工效学要求 第1部分:显示和控制指示器人机交换(Ergonomic requirements for the design of displays and control actuators-Part 1:Human inter-actions with displays and control actuators)
ISO 9355-2:1999 显示和控制指示器设计的人类工效学要求 第2部分:显示(Ergonomic re-quirements for the design of displays and control actuators Part 2:Displays)
3 术语和定义
GB/T 15706-2012界定的以及下列术语和定义适用于本文件。
3.1
液压裁断机 hydraulic cutting press
通过液压系统将能量传递给刀模,实现对柔性物料进行冲裁、切断的机器。
3.2
摇臂式液压裁断机 hydraulic swing arm cutting press
工作台固定在下方,在工作台上方配有一个可做约180°水平圆弧运动的摇臂,液压系统将能量通过摇臂上的裁断面传递给刀模,实现对柔性物料进行冲裁、切断的机器。
注:该液压裁断机的播臂操作可分手动与机动,见图1、图2、图3。

说明:
1——控制装置;
2——摇臂;
3——裁断垫板;
4——裁断面。
图1 摇臂式液压裁断机

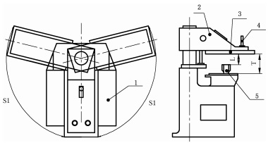
说明:
1——裁断垫板;
2——手动摇臂:
3——裁断面;
4——控制装置;
5——刀模。
图2 手动摇臂式液压裁断机的危险区域(L区、S1区、T区)

说明:
1——裁断垫板;
2——机动摇臂;
3——裁断面:
4——控制装置;
5——刀模;
6——基准点A;
7——基准点B;
8——电敏防护装置。
图3 机动摇臂式液压裁断机的危险区域(L区、S1区、S2区、T区)
3.3
压头移动式液压裁断机 hydraulic travelling head cutting press
工作台面固定于下方,在上横梁上装配可移动的裁断压头,可沿工作台面宽度内作左右水平移动而对柔性物料进行冲裁、切断的机器。
见图4。
以上为标准部分内容,如需看标准全文,请到相关授权网站购买标准正版。
- 2023-08-22欧宝网页版登录入口维修保养记录
- 2023-08-22欧宝网页版登录入口设施维修维护
- 2023-08-19欧宝网页版登录入口水池维修
- 2023-08-19欧宝网页版登录入口水炮维修
- 2023-08-19欧宝网页版登录入口线路维修
- 2023-08-19欧宝网页版登录入口维保服务系统
- 2023-08-19欧宝网页版登录入口主机维修维保大全
- 2023-08-19欧宝网页版登录入口维保作用
- 2023-08-18欧宝网页版登录入口维保工作联系单
- 2023-08-18欧宝网页版登录入口维保每年都要做吗
- 2023-08-18 欧宝网页版登录入口维保技术服务
- 2023-08-18欧宝网页版登录入口主板维修
- 2023-08-18欧宝网页版登录入口维保软件
- 2023-08-18欧宝网页版登录入口维保规章制度
- 2023-08-17欧宝网页版登录入口检测和维保
- 2023-08-17欧宝网页版登录入口维保检查
-
IG541混合气体灭火系统
IG541混合气体灭火系统:IG-541灭火系统采用的IG-541混合气体灭火剂是由大气层中的氮气(N2)、氩气(Ar)和二氧化碳(CO2)三种气体分别以52%、40%、8%的比例混合而成的一种灭火剂 -
二氧化碳气体灭火系统
二氧化碳气体灭火系统:二氧化碳气体灭火系统由瓶架、灭火剂瓶组、泄漏检测装置、容器阀、金属软管、单向阀(灭火剂管)、集流管、安全泄漏装置、选择阀、信号反馈装置、灭火剂输送管、喷嘴、驱动气体瓶组、电磁驱动 -
七氟丙烷灭火系统
七氟丙烷(HFC—227ea)灭火系统是一种高效能的灭火设备,其灭火剂HFC—ea是一种无色、无味、低毒性、绝缘性好、无二次污染的气体,对大气臭氧层的耗损潜能值(ODP)为零,是卤代烷1211、130 -
手提式干粉灭火器
手提式干粉灭火器适灭火时,可手提或肩扛灭火器快速奔赴火场,在距燃烧处5米左右,放下灭火器。如在室外,应选择在上风方向喷射。使用的干粉灭火器若是外挂式储压式的,操作者应一手紧握喷枪、另一手提起储气瓶上的


