GB/T 25281-2021 道路作业人员安全标志服
- 发表时间:2023-03-09
- 来源:共立欧宝网页版登录入口
- 人气:
1 范围
本文件规定了道路作业人员安全标志服的式样、技术要求、试验方法、检验规则,以及标志、包装、运输和贮存。
本文件适用于在道路上进行路政管理、养护、施工等作业的人员穿着的标志服。
2 规范性引用文件
下列文件中的内容通过文中的规范性引用而构成本文件必不可少的条款。其中,注日期的引用文件,仅该日期对应的版本适用于本文件;不注日期的引用文件,其最新版本(包括所有的修改单)适用于本文件。
GB/T 250 纺织品 色牢度试验 评定变色用灰色样卡
GB/T 251 纺织品 色牢度试验 评定沾色用灰色样卡
GB/T 1335.1 服装号型 男子
GB/T 1335.2 服装号型 女子
GB/T 3922 纺织品 色牢度试验 耐汗渍色牢度
GB/T 3923.1 纺织品 织物拉伸性能 第1部分:断裂强力和断裂伸长率的测定(条样法)
GB/T 3978 标准照明体和几何条件
GB/T 3979 物体色的测量方法
GB/T 4745 纺织品 防水性能的检测和评价 沾水法
GB/T 7742.1 纺织品 织物胀破性能 第1部分:胀破强力和胀破扩张度的测定 液压法
GB/T 8427 纺织品 色牢度试验 耐人造光色牢度:氙弧
GB/T 8629-2017 纺织品 试验用家庭洗涤和干燥程序
GB/T 12490 纺织品 色牢度试验 耐家庭和商业洗涤色牢度
GB/T 18833 道路交通反光膜
GA 732 警服材料 锦丝搭扣带
JTG E50 公路工程土工合成材料试验规程
3 术语和定义
本文件没有需要界定的术语和定义。
4 道路作业人员安全标志服式样
4.1 服装分类
道路作业人员安全标志服(以下简称标志服)分普通型和网格型两种。
4.2 普通型标志服
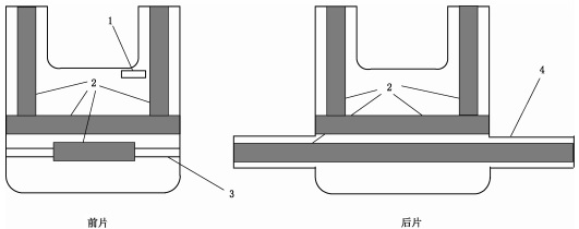
4.2.1 普通型标志服包括V字领的标志背心和标志帽,其典型式样分别见图1、图2。

标引序号说明:
1——行业标记;
2——反光材料;
3——锦丝搭扣带;
4——行业专用扣。
图1 普通型标志背心式样示意

标引序号说明:
1——行业标记;
2——反光材料;
3——松紧带或搭扣。
图2 普通型标志帽式样示意
4.2.2 普通型标志服V字领的标志背心由荧光橘红色的织物缝制而成,其左胸前可缝制行业标记(如可缝有如图3所示的白底红字的公路标记);其腰围一圈,水平缝有反光材料(如反光布或反光带)至少一条;两肩应各有一条反光材料从前到后连接水平反光材料。前后片在腋下,通过缝制锦丝搭扣带连接。正前方使用两颗金色行业专用扣。

图3 公路标记示意
4.2.3 标志帽为普通工作帽式样,正前方可印黑色行业标记,除黑色行业标记以外的帽身水平缝有反光材料一条,底边有松紧带或搭扣,调节帽围的大小。
4.2.4 其他服装式样也可参照GB20653。
4.3 网格型标志服
4.3.1 网格型标志服包括网格背心和标志帽,其式样分别见图4、图5。
4.3.2 网格背心由荧光橘红色的网眼布缝制而成。其左胸前可缝制行业标记;胸围一圈应水平缝有两条平行的反光材料;两肩应各有一条反光材料从前到后连接最上面一条水平反光材料。在前片左右下方和后片的搭襻上,缝有锦丝搭扣带,连接前后片,并可调节胸围和腰围的大小。
4.3.3 标志帽为普通工作帽,式样如图2或图5。可用荧光橘红色的网眼布制作,也可与普通标志帽相同。

标引序号说明:
1——行业标记:
2——反光材料:
3——锦丝搭扣带;
4——搭襻。
图4 网格背心式样示意

标引序号说明:
1——行业标记:
2——松紧带或搭扣。
图5 网格标志帽式样示意
5 技术要求
5.1 标志服的外观和尺寸
5.1.1 标志服的外观
5.1.1.1 标志服应缝制、熨烫平整,颜色均匀一致。
5.1.1.2 普通型标志服面料上不应有明显的色差、跳丝、破洞、污斑、油渍等缺陷;前、后片应整片裁剪,不应有拼接。
5.1.1.3 网格背心的网眼布上不应有花针、漏针、横路、拉毛、断头或颜色不均匀等疵点;网格背心的周边和拼接处,应使用颜色相近的织物滚边。
以上为标准部分内容,如需看标准全文,请到相关授权网站购买标准正版。
- 2023-08-22欧宝网页版登录入口维修保养记录
- 2023-08-22欧宝网页版登录入口设施维修维护
- 2023-08-19欧宝网页版登录入口水池维修
- 2023-08-19欧宝网页版登录入口水炮维修
- 2023-08-19欧宝网页版登录入口线路维修
- 2023-08-19欧宝网页版登录入口维保服务系统
- 2023-08-19欧宝网页版登录入口主机维修维保大全
- 2023-08-19欧宝网页版登录入口维保作用
- 2023-08-18欧宝网页版登录入口维保工作联系单
- 2023-08-18欧宝网页版登录入口维保每年都要做吗
- 2023-08-18 欧宝网页版登录入口维保技术服务
- 2023-08-18欧宝网页版登录入口主板维修
- 2023-08-18欧宝网页版登录入口维保软件
- 2023-08-18欧宝网页版登录入口维保规章制度
- 2023-08-17欧宝网页版登录入口检测和维保
- 2023-08-17欧宝网页版登录入口维保检查
-
IG541混合气体灭火系统
IG541混合气体灭火系统:IG-541灭火系统采用的IG-541混合气体灭火剂是由大气层中的氮气(N2)、氩气(Ar)和二氧化碳(CO2)三种气体分别以52%、40%、8%的比例混合而成的一种灭火剂 -
二氧化碳气体灭火系统
二氧化碳气体灭火系统:二氧化碳气体灭火系统由瓶架、灭火剂瓶组、泄漏检测装置、容器阀、金属软管、单向阀(灭火剂管)、集流管、安全泄漏装置、选择阀、信号反馈装置、灭火剂输送管、喷嘴、驱动气体瓶组、电磁驱动 -
七氟丙烷灭火系统
七氟丙烷(HFC—227ea)灭火系统是一种高效能的灭火设备,其灭火剂HFC—ea是一种无色、无味、低毒性、绝缘性好、无二次污染的气体,对大气臭氧层的耗损潜能值(ODP)为零,是卤代烷1211、130 -
手提式干粉灭火器
手提式干粉灭火器适灭火时,可手提或肩扛灭火器快速奔赴火场,在距燃烧处5米左右,放下灭火器。如在室外,应选择在上风方向喷射。使用的干粉灭火器若是外挂式储压式的,操作者应一手紧握喷枪、另一手提起储气瓶上的


