GB 40881-2021 煤矿低浓度瓦斯管道输送安全保障系统设计规范
- 发表时间:2023-02-02
- 来源:共立欧宝网页版登录入口
- 人气:
1 范围
本文件规定了煤矿低浓度瓦斯管道输送安全保障系统设计的基本要求、安全设施的安装要求等内容。
本文件适用于煤矿低浓度瓦斯管道输送的安全保障系统设计。
2 规范性引用文件
下列文件中的内容通过文中的规范性引用而构成本文件必不可少的条款。其中,注日期的引用文件,仅该日期对应的版本适用于本文件;不注日期的引用文件,其最新版本(包括所有的修改单)适用于本文件。
GB 50016 建筑设计防火规范
GB 50028 城镇燃气设计规范
GB 50057 建筑物防雷设计规范
GB 50471 煤矿瓦斯抽采工程设计标准
AQ 1072 瓦斯管道输送水封阻火泄爆装置技术条件
AQ 1073 瓦斯管道输送自动阻爆装置技术条件
AQ 1078 煤矿低浓度瓦斯与细水雾混合安全输送装置技术规范
AQ 1079 瓦斯管道输送自动喷粉抑爆装置通用技术条件
AQ/T 1104 煤矿低浓度瓦斯气水二相流安全输送装置技术规范
CJJ 33 城镇燃气输配工程施工及验收规范
MT 209 煤矿通信、检测、控制用电工电子产品通用技术要求
3 术语和定义
下列术语和定义适用于本文件。
3.1
煤矿低浓度瓦斯 low concentration gas of coal mine
甲烷体积浓度大于或等于3%且小于30%的煤矿瓦斯。
3.2
水封 water seal
利用一定高度的水将管道内一端的高温气体与另一端管道隔离、防止燃烧或爆炸继续传播的方式。
3.3
水封阻火泄爆装置 water sealing of fire barriering & explosion venting devices
采用水封消焰阻火、泄爆部件泄除爆炸压力,将管道内瓦斯爆炸控制在一定范围内的安全保障装置。
3.4
自动抑爆装置 automatic explosion suppression devices
通过对瓦斯管道燃烧或爆炸信息的探测,自动喷出灭火剂将燃烧或爆炸传播过程中的火焰扑灭,抑制燃烧或爆炸火焰传播的装置。
3.5
自动阻爆装置 automatic preventing explosion devices
通过对瓦斯管道燃烧或爆炸火焰、压力等信息的探测,自动控制阻爆阀门动作,阻断燃烧爆炸火焰传播的装置。
3.6
脱水器 dehydration device
将气体输送管路中水分分离出来的装置。
3.7
气水二相流输送抑爆装置 explosion suppression devices for two-phase-flow(gas-water)
用气水二相流管路输送煤矿瓦斯,使瓦斯在环形及端面水封的管路中形成间歇性柱塞气流的安全输送抑爆装置。
3.8
细水雾输送抑爆装置 explosion suppression devices for water mist transportation
煤矿瓦斯管道内瓦斯与细水雾全程连续混合,能起到抑制燃烧或爆炸火焰传播作用的装置。
4 基本要求
4.1 在煤矿低浓度瓦斯管道输送系统中靠近可能的火源点(发电机组进气侧、地面排空管口、自燃和容易自燃煤层采空区抽采瓦斯管入口等)管道上,应安设安全保障系统,确保管道输送安全。
4.2 系统设计应遵循“阻火泄爆、抑爆阻爆、多级防护、确保安全”的基本原则,安全保障系统应根据气体输送的不同用途从阻火泄爆、抑爆、阻爆、防逆流、安全监控控制以及防雷等安全设施中选择不同的组合构成方式。
4.3 正压输送管道系统中应安设防逆流装置,防止抽采泵突然停泵而出现回流。
4.4 低浓度瓦斯管道输送系统不应设置缓冲罐。
4.5 加压设备应选择湿式压缩机。
4.6 抽采设备应选择湿式抽采泵。
4.7 正压输送时,输送压力不应超过20kPa。
4.8 脱水器内应无机械运动零部件和电气部件。
4.9 在管道输送系统中应设置安全监测控制设施。安全监测控制设施除应符合MT209的有关规定外,还应具有以下功能:
a)瓦斯管道输送安全保障设施的状态参数监测与报警的功能;
b)在发生瓦斯燃烧或爆炸时,应能控制安全保障设备快速启动,将瓦斯燃烧或爆炸控制在一定范围内。
4.10 安全设施安设段管道及附件应能承受正压2.5 MPa的压力,其他管道及附件应能承受正压1.0 MPa、负压0.097 MPa的压力。安全设施安设段管道应选用金属管道。
5 安全设施
5.1 内燃机瓦斯发电用管道输送
5.1.1 瓦斯发电用低浓度瓦斯管道输送安全保障设施应安设阻火泄爆、抑爆、阻爆三种不同原理的阻
火防爆装置。阻火泄爆装置应优先选择水封阻火泄爆装置;抑爆装置应选择自动抑爆装置、细水雾输送抑爆装置和气水两相流输送抑爆装置中的一种;阻爆装置应选择自动阻爆装置。上述安全装置应分别符合AQ 1072、AQ 1073、AQ 1078、AQ 1079和AQ/T1104的要求。
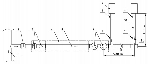
5.1.2 安全保障设施安设段为火焰传感器至自动阻爆装置之间的管道,安全保障设施的安装顺序为:第一级阻火泄爆装置,第二级抑爆装置,第三级阻爆装置,其安装位置详见图1。

标引序号说明:
1——主管:
2——防逆流装置;
3——阻爆装置;
4——抑爆装置安设段;
5——分管;
6——水封阻火泄爆装置;
7——压力传感器;
8—— 火焰传感器;
9——发电设备;
10——支管;
11——气流方向。
图1 瓦斯发电利用系统安全设施安装示意图
5.1.3 监控用火焰、压力传感器安装在支管上。火焰传感器距发电机组不大于3m,压力传感器距火焰传感器3m~5m。如支管上安装有脱水器,火焰传感器位于脱水器与发电机组之间,距离脱水器2m~3m;压力传感器位于脱水器与分管之间,距离脱水器1m~2m。
5.1.4 水封阻火泄爆装置的安设位置距最远端支管的距离(沿管道轴向)应小于30m。
5.1.5 水封阻火泄爆装置应能自动控制水位,使其保持有效阻火的水封高度。
5.1.6 抑爆装置选用自动抑爆装置时,其抑爆器安设位置距离最近的火焰传感器的距离(沿管道轴向)为40m~50m;选用细水雾输送抑爆装置或气水二相流输送抑爆装置时,其安装始端距水封阻火泄爆装置的距离不大于3m。
5.1.7 自动阻爆装置距抑爆装置的抑爆器末端距离不大于10m。
5.1.8 安全保障设施任一装置的运行参数不能满足安全要求时,应能实现自动报警,随后打开排空管,并在报警后3min内关停发电机组。
5.1.9 安全保障设施安设段管道公称内径应满足安全保障设施、设备规定的内径要求。
5.2 地面瓦斯排空用管道输送
5.2.1 抽采低浓度瓦斯的抽采系统,其地面瓦斯排空管路应安设阻火泄爆、抑爆两种阻火防爆装置。阻火泄爆装置应优先采用水封式阻火泄爆装置,抑爆装置应优先采用自动抑爆装置。安设位置见图2所示。
以上为标准部分内容,如需看标准全文,请到相关授权网站购买标准正版。
- 2023-08-22欧宝网页版登录入口维修保养记录
- 2023-08-22欧宝网页版登录入口设施维修维护
- 2023-08-19欧宝网页版登录入口水池维修
- 2023-08-19欧宝网页版登录入口水炮维修
- 2023-08-19欧宝网页版登录入口线路维修
- 2023-08-19欧宝网页版登录入口维保服务系统
- 2023-08-19欧宝网页版登录入口主机维修维保大全
- 2023-08-19欧宝网页版登录入口维保作用
- 2023-08-18欧宝网页版登录入口维保工作联系单
- 2023-08-18欧宝网页版登录入口维保每年都要做吗
- 2023-08-18 欧宝网页版登录入口维保技术服务
- 2023-08-18欧宝网页版登录入口主板维修
- 2023-08-18欧宝网页版登录入口维保软件
- 2023-08-18欧宝网页版登录入口维保规章制度
- 2023-08-17欧宝网页版登录入口检测和维保
- 2023-08-17欧宝网页版登录入口维保检查
-
IG541混合气体灭火系统
IG541混合气体灭火系统:IG-541灭火系统采用的IG-541混合气体灭火剂是由大气层中的氮气(N2)、氩气(Ar)和二氧化碳(CO2)三种气体分别以52%、40%、8%的比例混合而成的一种灭火剂 -
二氧化碳气体灭火系统
二氧化碳气体灭火系统:二氧化碳气体灭火系统由瓶架、灭火剂瓶组、泄漏检测装置、容器阀、金属软管、单向阀(灭火剂管)、集流管、安全泄漏装置、选择阀、信号反馈装置、灭火剂输送管、喷嘴、驱动气体瓶组、电磁驱动 -
七氟丙烷灭火系统
七氟丙烷(HFC—227ea)灭火系统是一种高效能的灭火设备,其灭火剂HFC—ea是一种无色、无味、低毒性、绝缘性好、无二次污染的气体,对大气臭氧层的耗损潜能值(ODP)为零,是卤代烷1211、130 -
手提式干粉灭火器
手提式干粉灭火器适灭火时,可手提或肩扛灭火器快速奔赴火场,在距燃烧处5米左右,放下灭火器。如在室外,应选择在上风方向喷射。使用的干粉灭火器若是外挂式储压式的,操作者应一手紧握喷枪、另一手提起储气瓶上的


