GB/Z 35850.3-2021 电梯、自动扶梯和自动人行道安全相关的可编程电子系统的应用 第3部分:PESSRAL和PESSRAE相关的可编程电子系统的生命周期指南
- 发表时间:2023-02-01
- 来源:共立欧宝网页版登录入口
- 人气:
1 范围
本文件提供了编制GB/T 35850.1(PESSRAL)和GB/T 35850.2(PESSRAE)所要求的供胜任的维护人员对可编程电子系统进行维护操作时使用的说明书的附加信息和程序。
本文件适用于应用了安全相关的可编程电子系统的电梯、自动扶梯和自动人行道。
2 规范性引用文件
下列文件中的内容通过文中的规范性引用而构成本文件必不可少的条款。其中,注日期的引用文件,仅该日期对应的版本适用于本文件;不注日期的引用文件,其最新版本(包括所有的修改单)适用于本文件。
GB/T 35850.1 电梯、自动扶梯和自动人行道安全相关的可编程电子系统的应用 第1部分:电梯(PESSRAL)(GB/T 35850.1-2018,ISO 22201-1:2017,MOD)
GB/T 35850.2 电梯、自动扶梯和自动人行道安全相关的可编程电子系统的应用 第2部分:自动扶梯和自动人行道(PESSRAE)(GB/T 35850.2-2019,ISO 8102-6:2019,MOD)
3 术语和定义
GB/T 35850.1和GB/T 35850.2界定的以及下列术语和定义适用于本文件。
3.1
胜任的维护人员 competent maintenance person
已经过适当的培训,通过知识和实践经验方面的认定,并能得到其所在维护组织(3.4)必要的指导和支持,以便能够安全进行所要求的维护操作的维护人员。
注:在维护组织(3.4)中,维护人员的技能是不断更新的。
3.2
设计等效 design equivalent
原设备制造单位或第三方的认证产品,其满足相同的SIL等级组件/子系统的设计规范,但是对PE系统的非SIL等级部分有着不同的规范。
3.3
功能等效 functional equivalent
产品具有与原认证产品不同的SIL等级组件/子系统设计规范,但满足相同的功能要求。
3.4
维护组织 maintenance organization
具备规定资格的,代表电梯设备的业主(3.7)并由胜任的维护人员(3.1)执行维护工作的法人或法人下属部门。
3.5
制造单位 manufacturer
负责电梯整机(电梯、自动扶梯和自动人行道)或安全部件的设计、制造和市场投放的法人。
[来源:GB/T 18775-2009,3.7,有修改]
3.6
维护 maintenance
设备安装后生命周期内的活动,包括预防、更换、修理和改造。
3.7
业主 owner
具有设备的所有权或处置权,并对其操作和使用负责的自然人或法人。
3.8
可编程电子 programmable electronic;PE
以计算机技术为基础,可以由硬件、软件及其输入和(或)输出单元构成。
注:本术语包括以一个或多个中央处理器(CPU)及相关的存储器等为基础的微电子装置。
示例:下列均是可编程电子装置。
——微处理器。
——微控制器。
——可编程控制器。
——现场可编程门阵列(FPGA)。
——专用集成电路(ASIC)。
——可编程逻辑控制器(PLC)。
——其他以计算机为基础的装置(如:智能传感器、智能变送器、智能执行器等)。
3.9
可编程电子系统 programmable electronic system
PE系统 PE system
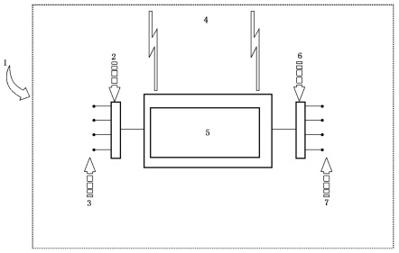
基于一个或多个可编程电子装置的控制、保护或监视的系统,包括系统中所有组件,如电源、传感器和其他输入装置、数据总线和其他通信路径、执行装置和其他输出装置。
注1:见图1。
注2:PE系统可执行满足SIL.要求或非SIL要求的功能。功能的SIL.分级只需考虑PE系统中执行SIL.相关功能要求的部分。
注3:图1中所示的可编程电子在中心位置,但是可以设置于PE系统的多个位置。

标引序号说明:
1——PE系统的范围;
2——输入接口(如:A/D转换器);
3——输入装置(如:传感器);
4——通信:
5——可编程电子(PE);
6——输出接口(如:D/A转换器);
7——输出装置/终端组件(如:执行装置)。
图1 基本的PE系统结构
3.10
产品等效 product equivalent
原设备制造单位或第三方的认证产品,可在设计、制造、型号和版本(按相同的生产图纸制造)上直接替代原认证产品。
4 说明书内容
4.1 概述
4.2~4.4提供了对GB/T 35850.1和GB/T 35850.2所述的PE系统说明书的编制过程和附加内容的特殊考虑。
4.2 安全预防措施
在编制说明书时,开发人员宜进行风险评价,从而识别和消除PE系统生命周期中此阶段可能存在的危险(见GB/T 20900)。
4.3 标记、标志、象形图和书面警示
根据国家相关要求,含有SIL等级装置的装配组件宜进行标记或者标出识别信息,并指出维护人员应参考说明书,以获得详细的操作指南和预防措施。
以上为标准部分内容,如需看标准全文,请到相关授权网站购买标准正版。
- 2023-08-22欧宝网页版登录入口维修保养记录
- 2023-08-22欧宝网页版登录入口设施维修维护
- 2023-08-19欧宝网页版登录入口水池维修
- 2023-08-19欧宝网页版登录入口水炮维修
- 2023-08-19欧宝网页版登录入口线路维修
- 2023-08-19欧宝网页版登录入口维保服务系统
- 2023-08-19欧宝网页版登录入口主机维修维保大全
- 2023-08-19欧宝网页版登录入口维保作用
- 2023-08-18欧宝网页版登录入口维保工作联系单
- 2023-08-18欧宝网页版登录入口维保每年都要做吗
- 2023-08-18 欧宝网页版登录入口维保技术服务
- 2023-08-18欧宝网页版登录入口主板维修
- 2023-08-18欧宝网页版登录入口维保软件
- 2023-08-18欧宝网页版登录入口维保规章制度
- 2023-08-17欧宝网页版登录入口检测和维保
- 2023-08-17欧宝网页版登录入口维保检查
-
IG541混合气体灭火系统
IG541混合气体灭火系统:IG-541灭火系统采用的IG-541混合气体灭火剂是由大气层中的氮气(N2)、氩气(Ar)和二氧化碳(CO2)三种气体分别以52%、40%、8%的比例混合而成的一种灭火剂 -
二氧化碳气体灭火系统
二氧化碳气体灭火系统:二氧化碳气体灭火系统由瓶架、灭火剂瓶组、泄漏检测装置、容器阀、金属软管、单向阀(灭火剂管)、集流管、安全泄漏装置、选择阀、信号反馈装置、灭火剂输送管、喷嘴、驱动气体瓶组、电磁驱动 -
七氟丙烷灭火系统
七氟丙烷(HFC—227ea)灭火系统是一种高效能的灭火设备,其灭火剂HFC—ea是一种无色、无味、低毒性、绝缘性好、无二次污染的气体,对大气臭氧层的耗损潜能值(ODP)为零,是卤代烷1211、130 -
手提式干粉灭火器
手提式干粉灭火器适灭火时,可手提或肩扛灭火器快速奔赴火场,在距燃烧处5米左右,放下灭火器。如在室外,应选择在上风方向喷射。使用的干粉灭火器若是外挂式储压式的,操作者应一手紧握喷枪、另一手提起储气瓶上的


