GB/T 41108.1-2021 机械安全 联锁装置的安全要求 第1部分:直接断开位置开关
- 发表时间:2023-01-31
- 来源:共立欧宝网页版登录入口
- 人气:
1 范围
本文件规定了直接断开位置开关的要求和使用信息。
本文件适用于标准负荷或微小负荷的直接断开位置开关。
2 规范性引用文件
下列文件中的内容通过文中的规范性引用而构成本文件必不可少的条款。其中,注日期的引用文件,仅该日期对应的版本适用于本文件;不注日期的引用文件,其最新版本(包括所有的修改单)适用于本文件。
GB/T 14048.5-2017 低压开关设备和控制设备 第5-1部分:控制电路电器和开关元件 机电式控制电路电器
GB/T 15706 机械安全 设计通则 风险评估与风险减小
GB/T 18831 机械安全 与防护装置相关的联锁装置 设计和选择原则
3 术语和定义
GB/T 15706和GB/T 18831界定的以及下列术语和定义适用于本文件。
3.1
直接断开位置开关 direct opening position switch
具有一个或多个用于实现安全功能的常闭触点元件,并通过非弹性部件直接实现触点分断的位置开关。
注:直接断开位置开关属于1型联锁装置或2型联锁装置,区别在于其操动件是否编码,见GB/T 18831-2017。
3.2
平均危险失效周期数 mean cycles to dangerous failure
B10D
直到10%的元件发生危险失效时的平均循环次数。
注:元件可以是机械元件、机电元件、气动元件或液压元件。
4 要求
4.1 一般要求
直接断开位置开关应满足GB/T 14048.5-2017中附录K的要求。
4.2 结构要求
直接断开位置开关中,执行直接机械动作使触点断开的部件应采用刚性结构。
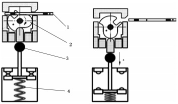
图1和图2分别给出了1型联锁装置和2型联锁装置的直接断断开位置开关的结构示例。

标引序号说明:
1——操动件(非编码,如防护装置);
2——刚性结构:
3——弹簧。
a防护装置运动方向。
b刚性结构运动方向。
图1 直接断开位置开关(1型联锁装置)的结构示例

标引序号说明:
1——操动件(编码,如卡舌);
2——旋转凸轮;
3——刚性结构:
4——弹簧。
a刚性结构运动方向。
图2 直接断开位置开关(2型联锁装置)的结构示例
4.3 安全性能要求
4.3.1 平均危险失效周期数
直接断开位置开关的B1op值应不少于2000000次。
注1:假如直接断开动作的故障排除是可能的。
制造商应在产品说明书中提供B10D和/或根据B1oD确定的性能等级(PL)。
注2:PL.的确定,见GB/T 16855.1。
4.3.2 直接断开功能
只要操动件位于断开位置,直接断开触点应可靠地断开并保持断开状态。
4.3.3 降低被旁路的可能性
直接断开位置开关应确保其安全防护功能无法通过简单的或常规的方式旁路。
对于1型直接断开位置开关,可在安装过程中采取措施以防止其功能失效。
对于2型直接断开位置开关,应确保触点断开的情况下,无法通过简单的机械开关、手或常规物体改变其状态(例如可通过编码来实现状态改变)。
注:防止旁路的更多信息,见GB/T 18831-2017中的第7章。
4.3.4 直接断开力
直接断开位置开关能承受的力,应考虑操动件的尺寸、外壳、安装的环境条件和指定的用途等。
4.4 电磁兼容性(EMC)
直接断开位置开关应符合GB/T 14048.5-2017中7.3关于电磁兼容性的要求。
4.5 高要求或连续模式的2型联锁装置的附加要求
4.5.1 一般要求
当直接断开位置开关应用于高要求或连续模式时,除了满足4.1~4.4规定的要求之外,还应满足以下要求。
注:高要求或连续模式的定义见GB/T 16855.1-2018中3.1.38。
4.5.2 致动系统/直接断开系统
4.5.2.1 一般要求
当直接断开位置开关应用于高要求或连续模式,且触点没有封装在外壳内部时(如单片式外壳),触点应不能通过简单的工具拆卸并且安装中应注意防止意外松动。
4.5.2.2 开关强度
当直接断开位置开关的断开触点处于闭合状态时,加载最小为1000N的开启力,致动系统不应受到损害,且致动机构(操动件)应保持在闭合位置。
解除锁定后,直接断开位置开关不应出现会降低安全性能的损伤并且其相应功能仍完好。
4.5.2.3 致动机构(操动件)的强度
如果直接断开位置开关应用于高要求或连续模式的场合,其操动件的材质应为金属材料,且操动件单侧受到6.35J的垂直冲击载荷时,不应导致操动件出现明显的变形失效与破坏。
4.5.3 触点单元
如果直接断开位置开关应用于高要求或连续模式的场合,应具有两组直接断开触点。
4.5.4 外壳防护等级
如果直接断开位置开关应用于高要求或连续模式的场合,其最低的防护等级应为IP65。
以上为标准部分内容,如需看标准全文,请到相关授权网站购买标准正版。
- 2023-08-22欧宝网页版登录入口维修保养记录
- 2023-08-22欧宝网页版登录入口设施维修维护
- 2023-08-19欧宝网页版登录入口水池维修
- 2023-08-19欧宝网页版登录入口水炮维修
- 2023-08-19欧宝网页版登录入口线路维修
- 2023-08-19欧宝网页版登录入口维保服务系统
- 2023-08-19欧宝网页版登录入口主机维修维保大全
- 2023-08-19欧宝网页版登录入口维保作用
- 2023-08-18欧宝网页版登录入口维保工作联系单
- 2023-08-18欧宝网页版登录入口维保每年都要做吗
- 2023-08-18 欧宝网页版登录入口维保技术服务
- 2023-08-18欧宝网页版登录入口主板维修
- 2023-08-18欧宝网页版登录入口维保软件
- 2023-08-18欧宝网页版登录入口维保规章制度
- 2023-08-17欧宝网页版登录入口检测和维保
- 2023-08-17欧宝网页版登录入口维保检查
-
IG541混合气体灭火系统
IG541混合气体灭火系统:IG-541灭火系统采用的IG-541混合气体灭火剂是由大气层中的氮气(N2)、氩气(Ar)和二氧化碳(CO2)三种气体分别以52%、40%、8%的比例混合而成的一种灭火剂 -
二氧化碳气体灭火系统
二氧化碳气体灭火系统:二氧化碳气体灭火系统由瓶架、灭火剂瓶组、泄漏检测装置、容器阀、金属软管、单向阀(灭火剂管)、集流管、安全泄漏装置、选择阀、信号反馈装置、灭火剂输送管、喷嘴、驱动气体瓶组、电磁驱动 -
七氟丙烷灭火系统
七氟丙烷(HFC—227ea)灭火系统是一种高效能的灭火设备,其灭火剂HFC—ea是一种无色、无味、低毒性、绝缘性好、无二次污染的气体,对大气臭氧层的耗损潜能值(ODP)为零,是卤代烷1211、130 -
手提式干粉灭火器
手提式干粉灭火器适灭火时,可手提或肩扛灭火器快速奔赴火场,在距燃烧处5米左右,放下灭火器。如在室外,应选择在上风方向喷射。使用的干粉灭火器若是外挂式储压式的,操作者应一手紧握喷枪、另一手提起储气瓶上的


