GB 10395.24-2010 农林机械 安全 第24部分:液体肥料施肥车
- 发表时间:2023-01-30
- 来源:共立欧宝网页版登录入口
- 人气:
1 范围
GB 10395的本部分规定了设计和制造各类半悬挂式、牵引式和自走式液体肥料施肥车(以下简称“施肥车”),包括气动或机动液体肥料撒施或注射装置的安全要求和判定方法。本部分还规定了制造厂应提供的安全操作信息的类型。
本部分适用于半悬挂式、牵引式和自走式液体肥料施肥车。
本部分未考虑环境方面因素。
2 规范性引用文件
下列文件中的条款通过GB 10395的本部分的引用而成为本部分的条款。凡是注日期的引用文件,其随后所有的修改单(不包括勘误的内容)或修订版均不适用于本部分,然而,鼓励根据本部分达成协议的各方研究是否可使用这些文件的最新版本。凡是不注日期的引用文件,其最新版本适用于本部分。
GB 10395.1-2009 农林机械 安全 第1部分:总则(ISO 4254-1:2008,MOD)
GB/T 15706.1 机械安全 基本概念与设计通则 第1部分:基本术语和方法(GB/T 15706.1-2007,ISO 12100-1:2003,IDT)
GB/T 15706.2-2007 机械安全 基本概念与设计通则 第2部分:技术原则(ISO 12100-2:2003,IDT)
GB 23821-2009 机械安全 防止上下肢触及危险区的安全距离(ISO 13857:2008,IDT)
EN 764 压力设备 术语和符号 压力、温度和体积
3 术语与定义
GB/T 15706.1和GB/T 15706.2确立的以及下列术语和定义适用于本部分。
注:附录B给出了施肥车及其部件的示例图。
3.1
液体肥料施肥车 slurry tanker
处理、运输及撒施液体肥料的机器。
3.2
机动液体肥料施肥车 mechanically powered slurry tanker
罐体灌注和撒施肥料所需能量直接由泵提供的机器。
3.3
气动液体肥料施肥车 pneumatically powered slurry tanker
罐体灌注和撒施肥料所需能量由产生真空或气压的空压机提供的机器。
3.4
浮动位置 floating position
在自身重量作用下使液体肥料注射装置处于进入地面的位置。
3.5
重量转移位置 position with weight transfer
在自身重量和垂直向下力作用下使液体肥料注射装置处于进入地面的位置。
3.6
灌注臂 filling arm
支撑罐体灌注用管道的摆臂。
4 安全要求和/或措施
4.1 一般要求
设计施肥车时,本部分没有涉及到的危险应遵循GB/T 15706.1、GB/T 15706.2规定的原则。
除本部分另有规定外,施肥车应符合GB 10395.1和GB 23821-2009中表1、表3、表4或表6的规定。
注:本部分未规定施肥车的动态稳定性。
4.2 各种类型施肥车的要求
4.2.1 人工操纵机构
4.2.1.1 撒施操作的人工操纵机构
在拖拉机或自走式施肥车的驾驶位置上应能起动和停止施肥操作。
4.2.1.2 空压机或泵的人工操纵机构
最好在拖拉机或自走式施肥车的驾驶位置上应能操作空压机或泵的人工操纵机构。
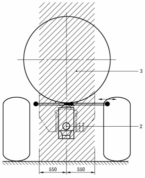
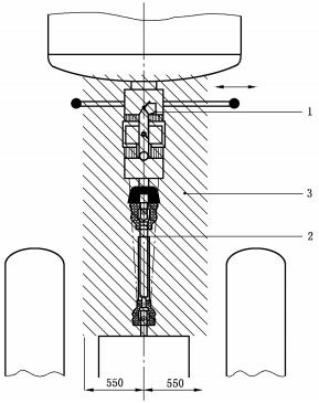
否则,在罐体两侧距动力输出万向节传动轴轴线水平距离不小于550mm,且垂直于动力输出万向节传动轴轴线的位置处应各设置一个在地面可触及的人工操纵机构(见图1)。
人工操纵机构不同位置的功能应明确标识。
4.2.2 罐体
4.2.2.1 罐口
罐体应设开口,开口尺寸和位置,应能使无需人员进入罐体就能有效清洗罐体整个内部或清除堵塞。
位于罐体上部、直径大于400mm的圆形开口或尺寸大于400mm×300mm的矩形开口应设置仅使用工具才能拆除的隔栅。隔栅的孔口不应超过对应罐口的尺寸。
4.2.2.2 罐盖
罐体上部的罐盖应通过结构设计或安装一装置以防止其意外关闭。
罐盖为液压控制时,在拖拉机或自走式施肥车驾驶员位置应能操作人工操纵机构。与拖拉机相连接的液压软管接头应明确标识。
单位为毫米


1——空压机或泵;
2——动力输出万向节传动轴轴线;
3——不能布置空压机或泵人工操纵机构的区域。
图1 人工操纵机构布置范围
4.2.2.3 阻波隔板
容积不小于6000L的罐体应配备符合表1要求的阻波隔板。该隔板应与机器运动方向垂直,每
块阻波隔板的表面积至少应为罐体横截面面积的2/3(示例见图2)。
以上为标准部分内容,如需看标准全文,请到相关授权网站购买标准正版。
- 2023-08-22欧宝网页版登录入口维修保养记录
- 2023-08-22欧宝网页版登录入口设施维修维护
- 2023-08-19欧宝网页版登录入口水池维修
- 2023-08-19欧宝网页版登录入口水炮维修
- 2023-08-19欧宝网页版登录入口线路维修
- 2023-08-19欧宝网页版登录入口维保服务系统
- 2023-08-19欧宝网页版登录入口主机维修维保大全
- 2023-08-19欧宝网页版登录入口维保作用
- 2023-08-18欧宝网页版登录入口维保工作联系单
- 2023-08-18欧宝网页版登录入口维保每年都要做吗
- 2023-08-18 欧宝网页版登录入口维保技术服务
- 2023-08-18欧宝网页版登录入口主板维修
- 2023-08-18欧宝网页版登录入口维保软件
- 2023-08-18欧宝网页版登录入口维保规章制度
- 2023-08-17欧宝网页版登录入口检测和维保
- 2023-08-17欧宝网页版登录入口维保检查
-
IG541混合气体灭火系统
IG541混合气体灭火系统:IG-541灭火系统采用的IG-541混合气体灭火剂是由大气层中的氮气(N2)、氩气(Ar)和二氧化碳(CO2)三种气体分别以52%、40%、8%的比例混合而成的一种灭火剂 -
二氧化碳气体灭火系统
二氧化碳气体灭火系统:二氧化碳气体灭火系统由瓶架、灭火剂瓶组、泄漏检测装置、容器阀、金属软管、单向阀(灭火剂管)、集流管、安全泄漏装置、选择阀、信号反馈装置、灭火剂输送管、喷嘴、驱动气体瓶组、电磁驱动 -
七氟丙烷灭火系统
七氟丙烷(HFC—227ea)灭火系统是一种高效能的灭火设备,其灭火剂HFC—ea是一种无色、无味、低毒性、绝缘性好、无二次污染的气体,对大气臭氧层的耗损潜能值(ODP)为零,是卤代烷1211、130 -
手提式干粉灭火器
手提式干粉灭火器适灭火时,可手提或肩扛灭火器快速奔赴火场,在距燃烧处5米左右,放下灭火器。如在室外,应选择在上风方向喷射。使用的干粉灭火器若是外挂式储压式的,操作者应一手紧握喷枪、另一手提起储气瓶上的


