GB 10395.17-2010 农林机械 安全 第17部分:甜菜收获机
- 发表时间:2023-01-29
- 来源:共立欧宝网页版登录入口
- 人气:
1 范围
GB 10395的本部分规定了设计和制造牵引式、悬挂式和自走式甜菜收获机(以下简称“收获机”)的安全要求和判定方法,还规定了制造厂应提供的安全操作信息的类型。
本部分适用于可进行茎叶切除、去根头、挖掘、捡拾、清理、输送和卸料等一种或多种作业的甜菜收获机。
本部分不适用于成堆甜菜的清理装载装置。
本部分未考虑环境方面因素。
2 规范性引用文件
下列文件中的条款通过GB10395的本部分的引用而成为本部分的条款。凡是注日期的引用文件,其随后所有的修改单(不包括勘误的内容)或修订版均不适用于本部分,然而,鼓励根据本部分达成协议的各方研究是否可使用这些文件的最新版本。凡是不注日期的引用文件,其最新版本适用于本部分。
GB 10395.1-2009 农林机械 安全 第1部分:总则(ISO 4254-1:2008,MOD)
GB/T 15706.1-2007 机械安全 基本概念与设计通则 第1部分:基本术语和方法(ISO 12100-1:2003,IDT)
GB/T 15706.2-2007 机械安全 基本概念与设计通则 第2部分:技术原则(ISO 12100-2:2003,IDT)
GB/T 21155-2007 土方机械 前进和倒退音响报警 声响试验方法(ISO 9533:1989,IDT)
GB 23821-2009 机械安全 防止上下肢触及危险区的安全距离(ISO 13857:2008,IDT)
EN 620:2002 连续搬运设备和系统 散装物料用固定带式输送装置的安全性和电磁兼容性(EMC)要求
3 术语和定义
GB/T 15706.1和GB/T 15706.2确立的以及下列术语和定义适用于本部分。
注:附录B给出了下列定义的机器和零部件的示例图。
3.1
茎叶切除器 leaf stripper
切下并清除甜菜茎叶的装置。
注:茎叶切除器通常由一个或多个转刀、输送器、抛叶器等部件组成。
3.1.1
转刀 rotor
用于除去甜菜茎叶和/或清除仍在地内的甜菜根头的旋转装置。
3.1.2
输送器 conveyor
将茎叶输送到抛叶器或茎叶装载装置的部件;有的机型该部件把茎叶输送到收获机外。
3.1.3
抛叶器 leaf spreader
把茎叶均匀的抛撒在地面的装置。
3.2
茎叶装载装置 leaf loading device
传送输送器出口处集聚茎叶的装置。
3.3
挖掘装置 beet lifting device
从泥土中将甜菜挖掘出来的装置。
3.4
清理装置 cleaning device
主要用于将粘附泥土的甜菜从中分离出来的装置。
3.5
输送装置 conveying device
将甜菜从收获机的一处输送到另一处的装置。
3.6
卸料装置 unloading device
将甜菜从收获机输送出去的装置。
3.7
高位自卸料斗 high-tip hopper
装有底盘倾卸支架举升系统的料斗。
4 安全要求和/或措施
4.1 一般要求
设计收获机时,本部分未涉及的危险应遵循GB/T 15706.1和GB/T 15706.2规定的原则。
除本部分另有规定外,收获机应符合GB 10395.1和GB 23821-2009中表1、表3、表4或表6的规定。
4.2 操纵机构
对自走式收获机,应仅能在驾驶员位置控制运动部件的起动和停止。对牵引式和悬挂式收获机,应仅能在牵引机械(如拖拉机)驾驶员位置控制运动部件的起动和停止。
倾卸和/或高位自卸操纵机构应为止-动型(持续操纵型),并应在驾驶员位置上才能操作。
4.3 后视野
自走式收获机应装符合GB/T 21155规定的声响报警装置,该装置在收获机倒退时应能自动接通。若收获机上配备了能使驾驶员清晰观察收获机后部情况的闭路监视器(CCTV),则不要求安装声响报警装置。
4.4 茎叶切除器
4.4.1 防止意外接触转刀的防护装置
收获机应通过设计或采取防护措施避免在前部、后部、侧面和顶部与转刀意外接触。
在顶部,无孔防护装置应至少覆盖住转刀旋转轨迹的外端点。
在前部、后部、侧面的可进入区,防护装置应是下列三种情况之一:
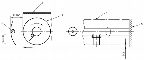
——距转刀旋转轨迹最低点的最大高度400mm,距转刀旋转轨迹外端点的最小水平距离200mm的屏障[见图1a)]。侧面屏障应可以折叠以便于运输。屏障应始终与收获机保持连接,并可靠固定在其位置上。
——无孔防护装置,该防护装置靠近转刀,且下边缘低于转刀旋转轨迹至少3mm[见图1b)]。
——上述两种防护装置的组合。
这些防护装置在水平面上的投影应是连续的。
单位为毫米

1——屏障;
2——转刀旋转轨迹;
3——无孔防护装置。
a)屏障型防护装置 b)无孔防护装置
图1 茎叶切除器转刀的防护装置
4.4.2 输送器
茎叶装载装置应符合4.1规定。
位于距离收获机外部轮廓小于850mm位置处的输送器任何运动部件均应进行防护,排出口除外。排出口应安装:
——组合式防护装置:
a)在顶部,为两侧伸出输送器外侧部件最小为150mm的无孔防护装置(见图2)。当使用带式输送器时,顶部防护装置的下边缘与带式输送装器上表面的最大距离应为200mm(见图3);
b) 在输送器的外端:
1)当使用螺旋式输送器时,为固定式防护装置,该防护装置下端应至少延伸至螺旋输送器轴线以下50mm(见图2);
2) 当使用带式输送器时,为位于距传动带任何运动部件最小水平距离150mm的屏障,该屏障在垂直平面内与带式输送器上表面的最大距离为200mm(见图4)。
带式输送器的侧面部件应按EN 620:2002中5.1的规定进行防护以防止意外接触。
或应安装:
——活动式防护装置,该防护装置应完全封住排出口,且在没有物料排出时自动返回闭合位置(见图5)。
以上为标准部分内容,如需看标准全文,请到相关授权网站购买标准正版。
- 2023-08-22欧宝网页版登录入口维修保养记录
- 2023-08-22欧宝网页版登录入口设施维修维护
- 2023-08-19欧宝网页版登录入口水池维修
- 2023-08-19欧宝网页版登录入口水炮维修
- 2023-08-19欧宝网页版登录入口线路维修
- 2023-08-19欧宝网页版登录入口维保服务系统
- 2023-08-19欧宝网页版登录入口主机维修维保大全
- 2023-08-19欧宝网页版登录入口维保作用
- 2023-08-18欧宝网页版登录入口维保工作联系单
- 2023-08-18欧宝网页版登录入口维保每年都要做吗
- 2023-08-18 欧宝网页版登录入口维保技术服务
- 2023-08-18欧宝网页版登录入口主板维修
- 2023-08-18欧宝网页版登录入口维保软件
- 2023-08-18欧宝网页版登录入口维保规章制度
- 2023-08-17欧宝网页版登录入口检测和维保
- 2023-08-17欧宝网页版登录入口维保检查
-
IG541混合气体灭火系统
IG541混合气体灭火系统:IG-541灭火系统采用的IG-541混合气体灭火剂是由大气层中的氮气(N2)、氩气(Ar)和二氧化碳(CO2)三种气体分别以52%、40%、8%的比例混合而成的一种灭火剂 -
二氧化碳气体灭火系统
二氧化碳气体灭火系统:二氧化碳气体灭火系统由瓶架、灭火剂瓶组、泄漏检测装置、容器阀、金属软管、单向阀(灭火剂管)、集流管、安全泄漏装置、选择阀、信号反馈装置、灭火剂输送管、喷嘴、驱动气体瓶组、电磁驱动 -
七氟丙烷灭火系统
七氟丙烷(HFC—227ea)灭火系统是一种高效能的灭火设备,其灭火剂HFC—ea是一种无色、无味、低毒性、绝缘性好、无二次污染的气体,对大气臭氧层的耗损潜能值(ODP)为零,是卤代烷1211、130 -
手提式干粉灭火器
手提式干粉灭火器适灭火时,可手提或肩扛灭火器快速奔赴火场,在距燃烧处5米左右,放下灭火器。如在室外,应选择在上风方向喷射。使用的干粉灭火器若是外挂式储压式的,操作者应一手紧握喷枪、另一手提起储气瓶上的


